P-217-001e - 第53页
01 12-001 Key No . P AR T No. P AR T NAME Q’ty REMARKS NOTE 51 L-4 PF-1610 30 1 630 104 4255 PIN,LOCA TE 1 755L--010-301 30 2 630 101 4166 LINK 1 755L--010-302 3 1 6 41 1 141 28 06 WASHER SPR 3 1 755L--010-1 14 3 1 7 4 1…

0301-002
50
テープフィーダ TAPE FEEDER
PF-1610 PF-1610
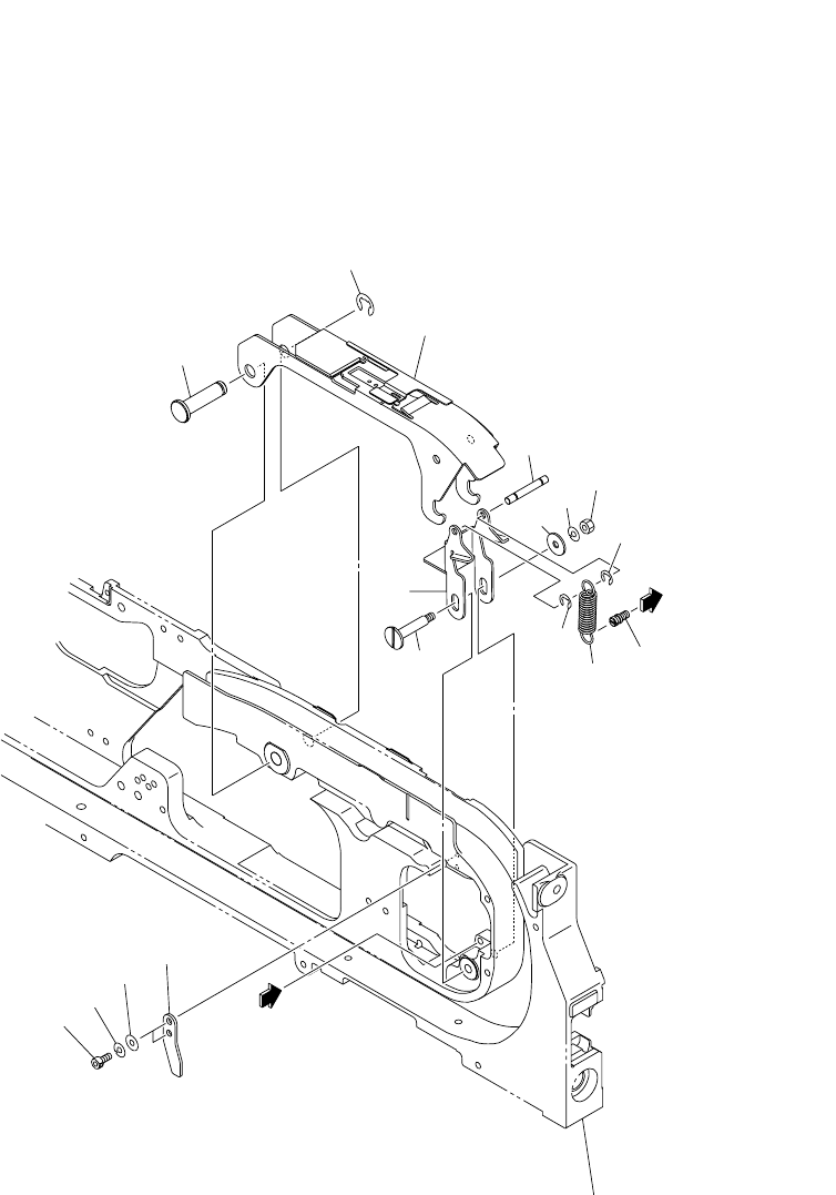
Fig. L-4 巻取りリンク部 Winding Link Section
301
See Fig.L-2
Key No.108
317
302
316
318
Fig.L-4

0112-001
Key No. PART No. PART NAME Q’ty REMARKS
NOTE
51
L-4
PF-1610
301 630 104 4255 PIN,LOCATE 1 755L--010-301
302 630 101 4166 LINK 1 755L--010-302
316 411 141 2806 WASHER SPR 3 1 755L--010-114
317 411 141 3902 WASHER V 3X7X0.5 1 755L--010-115
318 411 140 9905 NUT HEX 3 1 755L--010-116

0112-001
52
テープフィーダ TAPE FEEDER
PF-1610 PF-1610
Fig. L-5 サプレッサ部 Suppressor Section
402
407
405
425
406
426
427
427
411
See Fig.L-1
Key No.1
408
A
401
404
A
415
Fig.L-5
421
424
423
422