P-217-001e - 第73页
0301-002 71 Key No . P AR T No. P AR T NAME Q’ty REMARKS NOTE P-4 30 1 630 104 4255 PIN,LOCA TE 1 1 755P--010-301 30 2 630 101 4166 LINK 1 1 755P--010-302 3 1 6 41 1 141 28 06 WASHER SPR 3 1 1 755P--010-1 14 3 1 7 4 1 1 …

0301-002
70
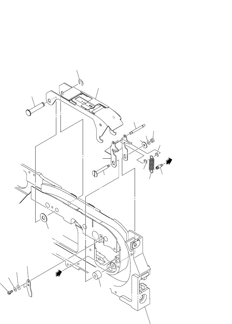
テープフィーダ TAPE FEEDER
PF-2410, 2411 PF-2410, 2411
Fig. P-4 巻取りリンク部 Winding Link Section
301
See Fig.P-2
Key No.108
317
302
316
318
Fig.P-4

0301-002
71
Key No. PART No. PART NAME Q’ty REMARKS
NOTE
P-4
301 630 104 4255 PIN,LOCATE 1 1 755P--010-301
302 630 101 4166 LINK 1 1 755P--010-302
316 411 141 2806 WASHER SPR 3 1 1 755P--010-114
317 411 141 3902 WASHER V 3X7X0.5 1 1 755P--010-115
318 411 140 9905 NUT HEX 3 1 1 755P--010-116
PF-2410
PF-2411

0301-002
72
テープフィーダ TAPE FEEDER
PF-2410, 2411 PF-2410, 2411
Fig. P-5 サプレッサ部 Suppressor Section
402
407
405
425
406
426
427
427
411
See Fig.P-1
Key No.1
408
A
401
404
403
410
A
415
Fig.P-5
421
424
423
422