N7202A057B - 第179页
Ref No. Remarks R 1 Q'ty 37 交換台車支持部(右側):NPM-DX Feeder cart support(right side):NPM-D X イラスト No. Part No. 品 名 品 番 数量 R 2 パーツリスト Kit No. キット品番 Kit Name キット名称 MTKA012475AA Part Nam e 備 考 セク ショ ンNo . PARTS LIST Section …

37
交換台車支持部(右側):NPM-DX
Feeder cart support(right side):NPM-DX
パーツレイアウト
Kit No.
キット品番
Kit Name
キット名称
MTKA012475AA
セクションNo.
PARTS LAYOUT
Section No.
--
S149
( KMTKA012475AA-00 )

Ref
No.
Remarks R
1
Q'ty
37
交換台車支持部(右側):NPM-DX
Feeder cart support(right side):NPM-DX
イラスト
No.
Part No.
品 名品 番 数量
R
2
パーツリスト
Kit No.
キット品番
Kit Name
キット名称
MTKA012475AA
Part Name
備 考
セクションNo.
PARTS LIST
Section No.
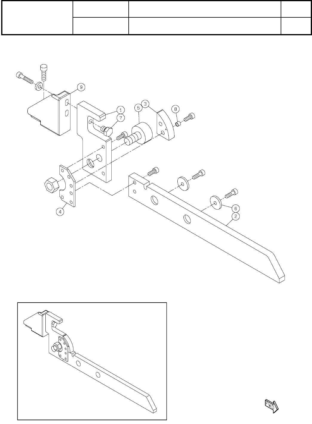
R
3
PLATE
1
1 MTPA018775AA
PLATE
1
2 N210091010AB
GUIDE
1
3 N210091012AC
PLATE
1
4 N210091013AA
CAM-FOLLOWER
1
5 N510032929AA CF12VBUUR
WASHER
3
6 N210117333AA
STOPPER
1
7 N510029795AA SPM-M8
SPACER
2
8 N510020062AA 3382330-50050
BRACKET
1
9 MTKP005583AA
S150
--
( KMTKA012475AA-00 )

38
交換台車支持部(左側):NPM-DX
Feeder cart support(left side):NPM-DX
パーツレイアウト
Kit No.
キット品番
Kit Name
キット名称
MTKA012476AA
セクションNo.
PARTS LAYOUT
Section No.
--
S151
( KMTKA012476AA-00 )