COT-insert 40_2-slots_20211123_100050 - 第6页
COT-insert 40/2-slots Page 6 / 9 23.11.2021

COT-insert 40/2-slots
Page 5 / 9 23.11.2021

COT-insert 40/2-slots
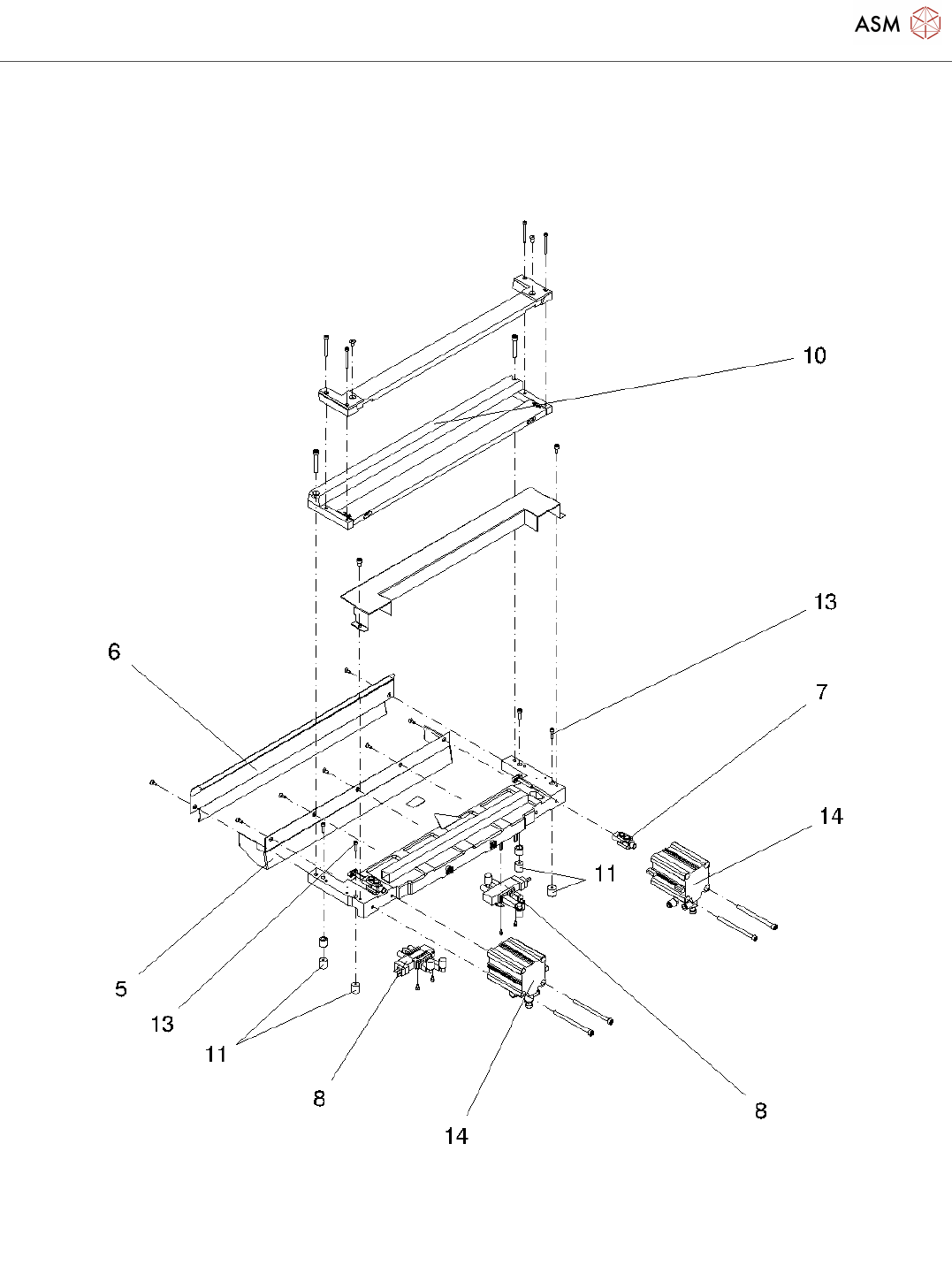
Page 6 / 9 23.11.2021

COT-insert 40/2-slots
Page 7 / 9 23.11.2021
Pos. Item no. Description Part marking
1 03089961S02 COT-INSERT 40/2-SLOTS SPARE PART
2 03082687S02 FCU / DX 4 SPARE PART
3 03082685-01 FEEDER UNLOCK DEVICE 40/2-WAY Spare Part
4 03066690S02 TAPE CUTTER PNEUM. SIPLACE X-
SERIES
SPARE PART
5 03019894-03 PROTECTIVE GUARD (SIPLACE HF) SPARE PART
6 03019896-03 BAFFLE PLATE (SIPLACE HF) SPARE PART
7 03000518-03 HINGE (TAPE CUTTER HF) SPARE PART
8 03000630-01 VALVE COMPL. (TAPE CUTTER HF)
00310744-01 SILENCER G-1/8 WEAR PART
10 03009259-03 MEASURER SET ALIGNET (TAPE
CUTTER HF)
SPARE PART
11 00329209-01 METAL BUFFER M4,65 SHORE SPARE PART
03000600-01 THROTTLE VALVE AS2201F-02-06SA SPARE PART
13 03042507-01 ISO 4762 - M 4 X 16-A2-70 STANDARD PARTS
14 03038587-01 SHORT STROKE CYLINDER 50X40 SPARE PART
15 03082201-01 PNEUMATIC COTI40 SX4 SPARE PART
16 03097252-01 VALVE SX4 CPL.
00310744-01 SILENCER G-1/8 WEAR PART
18 03052576-02 USED TAPE CHANNEL SPARE PART
19 03006335-03 USED TAPE CHANNEL
20 03017820-01 TRACK RULER, PITCH 11.8 / X
FEEDER
SPARE PART
21 03021079-01 NOZZLE CHANGER SHIM PLATE SPARE PART
22 03069098-01 ISO 4762 - M 4 X 10-8.8,ZINC,TFP
23 03067460-01 WASTE SLIDE WELDED COMPLETE SPARE PART
24 03039243-01 EXTENSION SPARE PART
03041705-01 EDGE PROTECTION 115 MM LONG
00346434S01 EDGE PROTECTION TYPE 4610026
(HAPPICH)
CONSUMABLE
27 03066692-02 COT DOCKING UNIT, X-SERIES
28 03066707-02 FRAME
29 03012823-01 SLOTTED RAIL SPARE PART
30 03042507-01 ISO 4762 - M 4 X 16-A2-70 STANDARD PARTS
31 03040555-02 RAISING MECHANICS ON THE LEFT.
03038300-01 INTERFLON GREASE MP 2/3 Consumable