00194931-20 Anleitung CAN Test Box-Error Frame Diagnoseeinheit_de - 第37页
1 - 37 Ausgabe 1 0/2018 Siplace CAN Bus 37 4.2 HS 50 / HS 60 CAN Bus 125kBit Abb. 4.2 - 1 CAN Bus Struktur HS50/60 mit Steckerbezeichnung

1 - 36
SIPLACE CAN Bus Ausgabe 10/2018
36
Abb. 4.1 - 2 CAN Bus HS 60 (500kBit)
00335413-xx
(aa)
X22aa X23aa
00329699-xx
(ah)
X4ah
00336152-xx
00332557-xx
(ag)
X1ag X2ag
X22aa X23aa X4ah X1ag X2ag
00335316-xx 00335317-xx 00335318-xx
00335319-xx
X22da X23da X4dh X1dg X2dg
00335320-xx 00335321-xx 00335322-xx
00335315-xx
00336181-xx
00332557-xx
(bg)
X2bg
X2bg
X1bg
X1bg
00329699-xx
(bh)
X4bh
X4bh
00335413-xx
(ba)
X22ba X23ba
X22ba X23ba
00329699-xx
(ch)
X4ch
X4ch
00335413-xx
(ca)
X22ca X23ca
X22ca X23ca
00335413-xx
(da)
X22da X23da
00329699-xx
(dh)
X4dh
00336153-xx
00332557-xx
(dg)
X1dg X2dg
00336182-xx
00332557-xx
(cg)
X2cg
X2cg
X1cg
X1cg
00334808-xx
X6sn
X6sn
X7sn
X7sn
Gurtschneider
Portal 2 Portal 2
Portalverteiler
Portal 1
Portalverteiler Gurtschneider
Portal 1 CAN-Bus Koppler
Verteiler Sektor 1
CAN-Bus Koppler
Verteiler Sektor 2
Gurtschneider
Portal 3
CAN-Bus Koppler
Verteiler Sektor 3
Steuereinschub HS60
Portalverteiler
Portal 3
Portalverteiler
Portal 4
Gurtschneider
Portal 4
CAN-Bus Koppler
Verteiler Sektor 4
X151
X151
Servicestecker
Kommunikations-
baugruppe 1
00372446-xx
A11 (sn)
Siehe Seite 3-7
Siehe Seite 1-20
Siehe Seite 3-9Siehe Seite 3-19
Siehe Seite 3-18
Siehe Seite 5-18 Siehe Seite 5-18Siehe Seite 5-10 Siehe Seite 5-10
Siehe Seite 5-18 Siehe Seite 5-18Siehe Seite 5-10 Siehe Seite 5-10

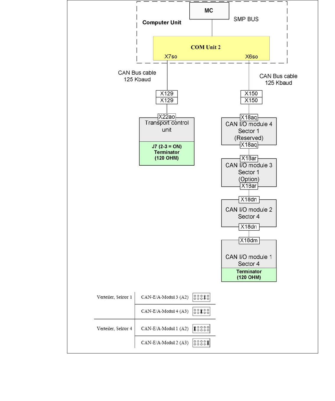
1 - 37
Ausgabe 10/2018 Siplace CAN Bus
37
4.2 HS 50 / HS 60 CAN Bus 125kBit
Abb. 4.2 - 1 CAN Bus Struktur HS50/60 mit Steckerbezeichnung

1 - 38
SIPLACE CAN Bus Ausgabe 10/2018
38
Abb. 4.2 - 2 CAN Bus HS 60 (125kBit)
Einfachtransport
00119462-xx
Doppeltransport
Kommunikations-
X150
X150
Servicestecker
00370397-xx00370398-xx
X10ap
X10ao
X18dm
(dm)
X18dm
(dn)
X18aq
00329698-xx
X18aq
X18ar
X129
X129
00337861-xx
X22ap
TSP-301
(ao)
X22ao
X22ao
00336152-xx
(ar)
00329698-xx
(aq)
00335324-xx
00334808-xx
X6so
X6so
00372446-xx
A12 (so)
00119460-xx
X7so
X7so
TSP-301E
(ap)
00355321-xx
X18ar
00329698-xx 00329698-xx
X18dn
X18dn
00336153-xx
Transportsteuerung Transportsteuerung
LP-Transport
baugruppe 2
Steuereinschub HS60
CAN-E/A-Modul 4
Reserve Option
CAN-E/A-Modul 3
Verteiler Sektor 1 Verteiler Sektor 4
CAN-E/A-Modul 2 CAN-E/A-Modul 1
Siehe Seite 1-9
Siehe Seite 1-14
Siehe Seite 2-37 Siehe Seite 2-27
Siehe Seite 3-7 Siehe Seite 3-9
Siehe Seite 1-20