KE-1070_KE-1080-Rev03 - 第71页
- 66 - NOTE( 注記 ) #01....FOR FRONT ・ LEFT-RIGHT 手 前・左右用 #02....FOR FRONT ・ RIGHT-LEFT 手前・右左用 #03....FOR REAR ・ LEFT-RIGHT 奥・左右用 FOR REAR ・ RIGHT-LEFT 奥・右左用 #04....FOR FRONT ・ LEFT-RIGHT(L) 手前・左右(L)用 #05....FOR FRONT ・ RI…

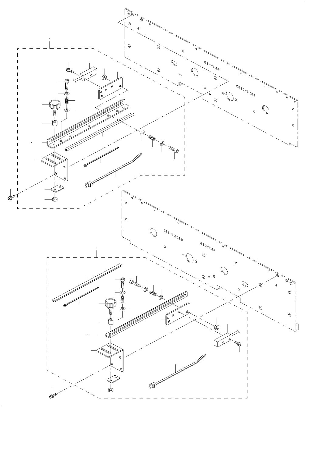
- 65 -
33.PWB CONVEYOR COMPONENTS (8)
基板搬送関係 (8)
29
50
49
48
51
44
47
A
43
46
46
A
39
45
9
18
19
28
42
30
31
32
34
35
36
37
40
41
1
2
3
4
5
6
8
7
B
B
38
3
33

- 66 -
NOTE( 注記 ) #01....FOR FRONT ・ LEFT-RIGHT 手前・左右用
#02....FOR FRONT ・ RIGHT-LEFT 手前・右左用
#03....FOR REAR ・ LEFT-RIGHT 奥・左右用
FOR REAR ・ RIGHT-LEFT 奥・右左用
#04....FOR FRONT ・ LEFT-RIGHT(L) 手前・左右(L)用
#05....FOR FRONT ・ RIGHT-LEFT(L) 手前・右左(L)用
#06....FOR REAR ・ RIGHT-LEFT(L) 奥・右左(L)用
#07....FOR REAR ・ LEFT-RIGHT(L) 奥・左右(L)用
#08....FOR FRONT ・ LEFT-RIGHT(1080L) 手前・左右(1080 L)用
#09....FOR FRONT ・ LEFT-RIGHT(1080E) 手前・左右(1080 E)用
#10....FOR FRONT ・ RIGHT-LEFT(1080E) 手前・右左(1080 E)用
*INSTALLATION POSITION AND DIRECTION VARY IF THE PWB TRANSFER
REFERENCE IS DIFFERENT.
基板搬送基準が異なると取付位置、方向が変わります。
REF.NO NOTE PART NO D E S C R I P T I O N
品 名
Qty
1 400-02214 STOP SENS ASM
ストップセンサ組
1
2 400-02235 C.OUT SENS ASM
シーアウトセンサ組
1
3 SL-4031291-SC SCREW M3X12
なべ小ねじセムス M 3 X 0.5 L =12
2
4 PC-0124010-00 SPEED CONTROLLER
スピ−ド コントロ−ラ
1
5 HX-0036700-0A BUSH
ブッシュ
0.1
6 EA-9500B00-00 CLIP CV-70S
結束バンド 60
4
7 BT-0400251-EA TUBE HOSE, BLUE
ウレタンホ−ス 青
4
8 HX-0031400-00 SPIRAL TABE
スパイラル チューブ
0.4
9
#01
400-20551 STOPER FR ASM
ストッパ FR 組
1
10
#02
400-20554 STOPER FL ASM.
ストッパ FL 組
1
11
#03
400-20557 STOPER RR ASM.
ストッパ RR 組
1
12
#04
400-20564 STOPER FR ASM.(L)
ストッパ FR 組(L)
1
13
#05
400-20567 STOPER FL ASM.(L)
ストッパ FL 組(L)
1
14
#06
400-20573 STOPER RL ASM(L)
ストッパ RL 組(L)
1
15
#07
400-58538 STOPPER RR(L)ASM
ストッパ RR(L)組
1
16
#08
400-58537 STOPPER FR(L)ASM
ストッパ FR(L)組
1
17
#09
400-64234 STOPPER FR ASM(E)
ストッパ FR 組(E)
1
18
#10
400-64236 STOPPER FL ASM(E)
ストッパ FL 組(E)
1
19
#01
400-20552 STOPER FRAME FR
ストッパフレーム FR
(1)
20
#02
400-20555 STOPER FRAME FL
ストッパフレーム FL
(1)
21
#03
400-20558 STOPER FRAME RR
ストッパフレーム RR
(1)
22
#04
400-20565 STOPER FRAME FR(L)
ストッパフレーム FR(L)
(1)
23
#05
400-20568 STOPER FRAME FL(L)
ストッパ FL(L)
(1)
24
#06
400-20574 STOPER FRAME RL(L)
ストッパフレーム RL(L)
(1)
25
#07
400-46031 STOPPER FRAME RR(L)
ストッパフレーム RR(L)
(1)
26
#08
400-46030 STOPPER FRAME FR(L)
ストッパフレーム FR(L)
(1)
27
#09
400-64058 STOPPER FRAME FR(E)
ストッパフレーム FR(E)
(1)
28
#10
400-64059 STOPPER FRAME FL(E)
ストッパフレーム FL(E)
(1)
29 SL-6030842-TN SCREW M3 L=8
座金付き六角穴ボルト
(1)
30 400-00910 STOPER PIN
ストッパピン
(1)
31 RE-0200000-K0 E-RING
E 形止め輪 2
(1)
32 WP-0320501-SC WASHER M3
平座金 3.2 X 7 X 0.5
(1)
33 400-00911 STOPER CONNECT
ストッパコネクト
(1)
34 PA-1002008-A0 AIR CYLINDER
エアシリンダ
(1)
35 SM-6031402-TN SCREW M3X0.5 L=8
六角穴ボルト
(2)
36 PC-0105080-00 SPEED CONTROLLER
スピ−ドコントロ−ラ
(1)
37 PJ-3040405-11 ELBOW UNION
エルボユニオン
(1)
38 SL-6041292-TN SCREW
座金付き六角穴ボルト
(2)
39 E2169-721-000 HOLD PLATE
ホールドプレート
(1)
40 SM-6031502-UZ SCREW M3 L=15
六角穴付きボルト M 3 L =15
(1)
41 NM-6030002-SC NUT M3
六角ナット M 3 X 0.5 2種
(1)
42 400-00909 STOPPER
ストッパ
(1)
43 E2233-725-000 STOPPER CHIP
ストッパチップ
(1)
44 SM-1030401-SE SCREW M3 L=4
皿ねじ M3X0.5 L =4
(1)
45 SM-1031201-SC SCREW M3X0.5 L=12
皿小ねじ M3X0.5 L=12
(1)
46 E2039-721-000 WASHER A
スラストワッシャ A
(2)
47 E2038-721-000 STOPPER COLLAR
ストッパカラー
(1)
48 WP-0330516-SC WASHER 3.3X8X0.5
平座金 3.3 X 8 X 0.5
(1)
49 WS-0310002-KN SPRING WASHER M3
ばね座金 3.1 X 5.9 X 0.7
(1)
50 NM-6030001-SC NUT M3X0.5 TYPE1
六角ナット M 3 X 0.5 1種
(1)
51 400-23788 STOPER SPACER
ストッパスペーサ
(1)

- 67 -
34.PWB CONVEYOR COMPONENTS (9)
基板搬送関係 (9)
17
4
18
6
8
7
9
22
10
10
11
11
26
12
21
32
22
23
24
25
26
26
12
33
35
34
27
7
11
11
26
25
12
13
28
29
14
30
15
16
31
37
37
1
2
5
19
20
3
36