KE-1070_KE-1080-Rev03 - 第75页
- 70 - NOTE( 注記 ) #01....4 PORT ELECTROMAGNETI C オプション VCS が付いている場合は、 VALVE IS NECESSARY WHEN 4つ組のデンジベンが必要です 。 OPTION VCS IS ATTACHED . *INSTALLATION POSITION AND DIRE CTION VARY IF THE PW B TRANSFER REFERENCE IS DIFFER …

- 69 -
35.PWB CONVEYOR COMPONENTS (10)
基板搬送関係 (10)
3
7
4
6
5
11
9
10
12
27
18
24
25
26
13
14
1
2
20
19
15
22
21
21
22
16
17
23
8

- 70 -
NOTE( 注記 ) #01....4 PORT ELECTROMAGNETIC オプション VCS が付いている場合は、
VALVE IS NECESSARY WHEN 4つ組のデンジベンが必要です。
OPTION VCS IS ATTACHED.
*INSTALLATION POSITION AND DIRECTION VARY IF THE PWB TRANSFER
REFERENCE IS DIFFERENT.
基板搬送基準が異なると取付位置、方向が変わります。
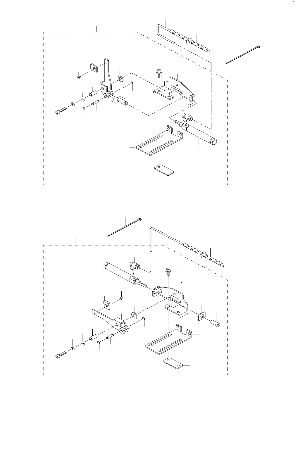
REF.NO NOTE PART NO D E S C R I P T I O N
品 名
Qty
1 400-02124 BU ORG SENS ASM
バックアップテーブル原点センサ組
1
2 E4115-729-000 BU SENSOR BRACKET
BU センサーブラケット
1
3 400-00916 MANIFOLD VALVE A ASM.
コンベアバルブ組
1
4 PV-9150050-00 SOLENOID VALVE INSTALLING BASE
電磁弁取付ベース
(1)
5
#01
PV-1502093-00 5 PORT ELECTROMAGNETIC VALVE
5ポート電磁弁
(3)
6 PX-0500030-00 SILENCER
サイレンサ
(1)
7 SL-6041092-TN SCREW
座金付き六角穴ボルト
2
8 400-00903 REGULATOR ASM.
レギュレータ組
1
9 PF-0200040-00 REGULATOR
レギュレータ
(2)
10 400-00904 REGULATOR BRACKET
レギュレータブラケット
(1)
11 SM-4033001-SC SCREW M3 L=30
なべ小ねじ M 3 X 0.5 L =30
(4)
12 SL-6040892-TN BOLT
座金付き六角穴ボルト
2
13 PC-0124010-00 SPEED CONTROLLER
スピ−ド コントロ−ラ
2
14 BT-0400251-EA TUBE HOSE, BLUE
ウレタンホ−ス 青
4
15 PX-5000140-00 PLUG
止栓
2
16 400-02212 WAIT SENS ASM
ウェイトセンサ組
1
17 SL-6030642-TN SCREW M3 L=6
座金付き六角穴ボルト
2
18 SL-6041092-TN SCREW
座金付き六角穴ボルト
1
19 E4114-729-000 BU SENSOR DOG
BU センサードグ
1
20 SL-6051292-TN BOLT
座金付き六角穴ボルト
2
21 SL-6104042-TN BOLT
座金付き六角穴ボルト
4
22 WP-1052001-SC WASHER 10,5X21X2
平座金みがき丸 M 10
4
23 EA-9500B01-00 CABLE BAND
束線バンド
20
24 400-13197 CONVEYOR COUPLING
コンベアカプリング
1
25 SM-8050502-TP SCREW M5 L=5
止めねじ
4
26 400-46029 HANDLE SHAFT
ハンドルシャフト
1
27 EA-9500B01-00 CABLE BAND
束線バンド
1

- 71 -
36.PWB CONVEYOR COMPONENTS (11)
基板搬送関係 (11)
23
10
19
18
9
8
7
5
6
2
20
3
13
17
15
19
11
16
14
4
21
1
46
27
28
31
30
29
32
44
36
37
35
38
33
39
40
34
45
42
41
42
43
24
22
25
26
12