Portal SIPLACE S20_20211119_100130 - 第14页
Portal SIPLACE S20 Page 14 / 16 19.11.2021 Pos. Item no. Description Part marking 1 00318567S01 GANTRY SIPLACE 80/ 4 Spare Part 2 00300561-04 WRENCH 3 00200468-02 WRENCH TOOL 4 00318600S01 MOUNT FOR APPLICATION HEAD SIPL…

Portal SIPLACE S20
Page 13 / 16 19.11.2021

Portal SIPLACE S20
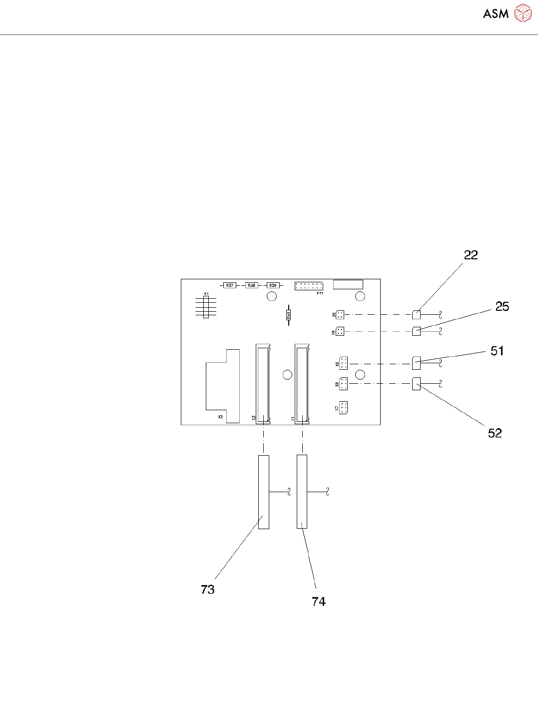
Page 14 / 16 19.11.2021
Pos. Item no. Description Part marking
1 00318567S01 GANTRY SIPLACE 80/ 4 Spare Part
2 00300561-04 WRENCH
3 00200468-02 WRENCH TOOL
4 00318600S01 MOUNT FOR APPLICATION HEAD
SIPLACE
Spare Part
5 00317941S03 AXLE SPARE PART
6 00095474-01 DISC 6,4 DIN125-A Spare
7 00318649-02 PCB-SUPPORT FOR SIPLACE S4 SPARE PART
10 00344065S03 PCB-OPTICAL SYSTEM KST SPARE PART
11 00316823-03 LP ILLUMINATION CAMERA UP SPARE PART
12 00321127-03 Y-CABLE HOLDER S23 Spare Part
13 00347627-02 CABLE RETAINER PORTAL BOARD
S20 COMPL.
14 00318557-03 TOOTH BELT 28 ATS 5/1655 WEAR PART
15 00343985-01 SYNCRONIZING DISK X 32AT5/13-0 SPARE PART
16 00318549-01 TOOTH BELT SYNCHROFLEX
12ATS5/280
WEAR PART
17 00343998-01 SYNCHR. DISK Y ST 50 AT5/13-0
ACC.T.DRAW.
18 00200507-01 GUIDE TROLLEY KWE 25 H1 G1 V2 WEAR PART
19 00310118-01 GUIDE RAIL SPARE PART
20 00301040-01 ELASTOMER SPRING 25*10,5*50
(90 SHORE A)
SPARE PART
21 00317963-03 CONTACT RIGHT SIDE SPARE PART
22 00321577-04 CABLE: LIMIT SWITCH X-AXIS SPARE PART
23 00200525-01 ELASTOMER SPRING D20X8,5 90
SHORE A
SPARE PART
24 00317964-03 CONTACT METAL LEFT SIDE SPARE PART
25 00321578-04 CABLE: LIMIT SWITCH X-AXIS SPARE PART
26 00200530-01 GUIDE TROLLEY WEAR PART
27 00317767-07 PORTAL WELDED PART
28 00321551-02 BELT GUIDE X-AXIS SPARE PART
29 00200469S03 AXIS SPARE PART
30 00318552-04 GEAR FOR X-AXIS SPARE PART
31 00301084-02 GROIN SPARE PART
32 00301086-01 SCALE X-AXIS SPARE PART
33 00317856-02 FRICTION BLOCK HOLDER SPARE PART

Portal SIPLACE S20
Page 15 / 16 19.11.2021
Pos. Item no. Description Part marking
34 00301578-02 FRICTION BLOCK HOLDER FOR X-
AXIS
SPARE PART
35 00300609-05 PROXIMITY SWITCH: END POSITION
X-AXIS
SPARE PART
36 00316414-03 ABSORBER BLOCK Y-AXIS SPARE PART
37 00310945-01 SCANNER HEAD X-AXIS SPARE PART
38 00318553-04 MOTOR FOR X-AXIS SPARE PART
40 00304097S04 GUIDE PLATE SET COMPLETE Spare Part
41 00308279-01 DISTANCE BOLT M3X20 I/O HEX5,5
ST ZC
STANDARD PARTS
42 00095304-01 COUNTERSUNK SCREW
DIN965-M3X6-4.8
43 00344343-01 SUPPORT
44 00326588-01 DIN 965-M3 X 6-A2
45 00845028-01 HEXAGON SOCKET HEAD CAP
SCREW M4 X 20-8.8
46 00095551-01 HEXAGON NUT
48 00318603-06 MOTOR FOR Y-AXIS COMPLETE SPARE PART
49 00318626-01 STEEL MEASURING ROD S 4 Y-AXIS SPARE PART
50 00310946-03 SCANNER HEAD Y-AXIS Spare Part
51 00300601-05 PROXIMITY SWITCH: ENDPOSITION
Y-AXIS
SPARE PART
52 00300905-05 PROXIMITY SWITCH: LIMIT Y-AXIS SPARE PART
53 00321607-03 BELT GUIDE Y-AXIS SPARE PART
54 00300970-02 AIR DISTRIBUTOR SPARE PART
55 00346324-01 BUFFER Y-AXIS SIPLACE 80 LEFT
SIDE
56 00346070-01 STOP HOLDER LEFT SIDE
57 00301040-01 ELASTOMER SPRING 25*10,5*50
(90 SHORE A)
SPARE PART
58 00305650-01 SLEEVE SPARE PART
59 00316753S02 CABLE DUCT PLASTIC 80S SPARE PART
60 00318551S03 SEVENFOLD TUBE PK-3, BLACK 4
METER
SPARE PART
61 00200485-04 FULL RELIEF FOR Y-CABLE HOLDER
62 00304137-01 PIN FOR Y-CABLE TRAILING UNIT
HOLDER
63 00303279-02 CABLE CLAMP