P-187-001 - 第118页
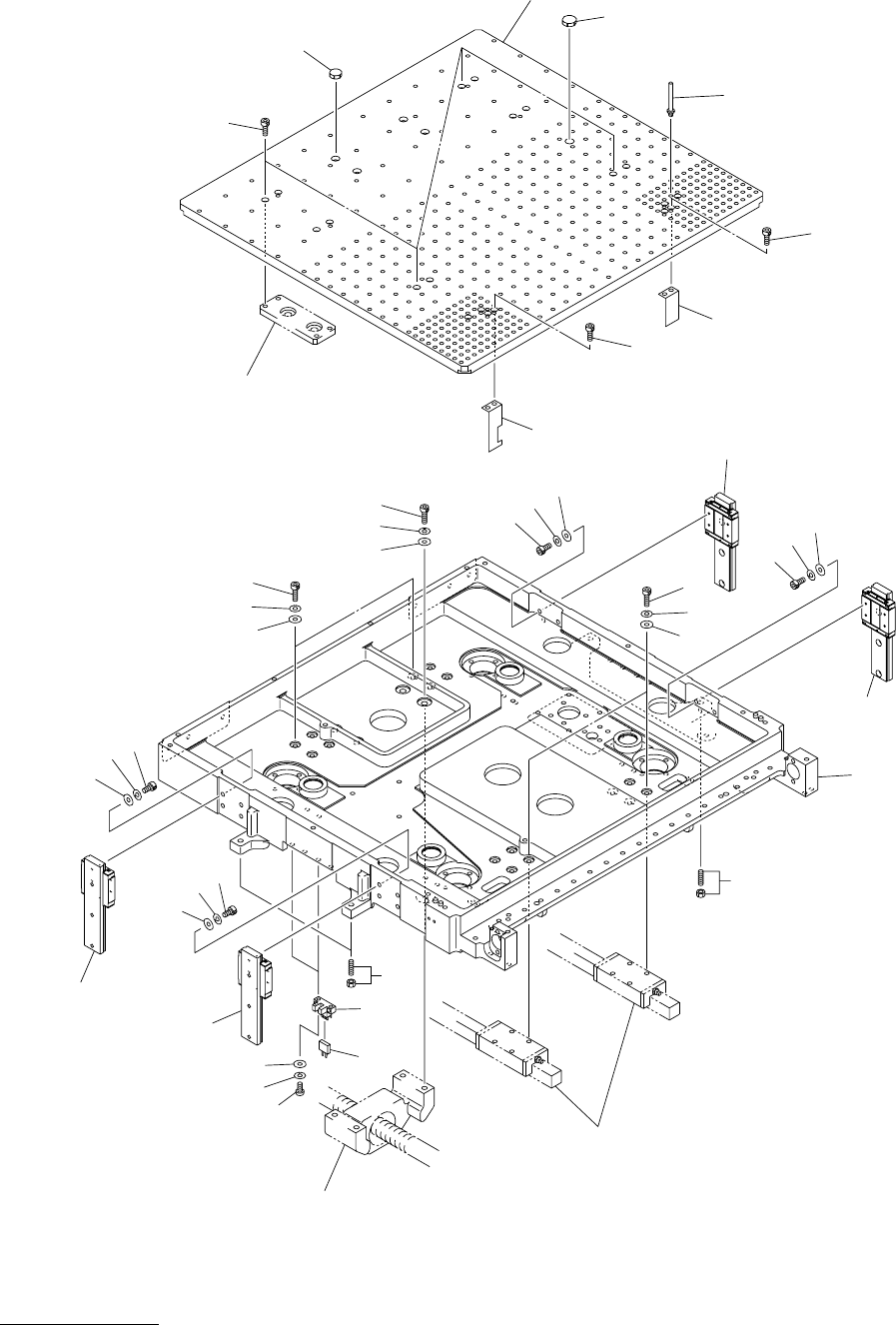
MODEL TCM-X300 0306-001 116 XY ࠻࠶ࡊࡌࠬㇱ XY TOP BASE SECTION Fig. JC-1 ࡃ࠶ࠢࠕ࠶ࡊࡌࠬ Back-up Base 8 See Fig.JC-4 Key No.302 See Fig.JB-4 Key No.314 See Fig.JB-4 Key No.302 8 13 32 BACK-UP PIN R1 3 12 2 12 1 14 10 9 4 17 20 11 …

MODEL TCM-X300
0306-001
Key No. PART No. PART NAME Q’ty REMARKS
NOTE
115
JB-5
401 630 084 5839 BRACKET 1 812JB-010-401
402 630 109 0207 BRACKET 1 812JB-010-402
403 630 064 5699 PLATE 1 812JB-010-403
405 630 000 0252 SENSOR,PHOTO 3 BPH44,BPH45,BPH46,EE-SX671
812JB-010-405
406 630 000 0269 SENSOR,PHOTO(CONNECTOR) 3 EE-1001 812JB-010-406
407 630 000 7633 BOLT,HEX-SCT 6 812JB-010-407
409 411 113 0502 SCR PAN 3X14 6 812JB-010-409
410 411 141 0000 NUT HEX 3 6 812JB-010-410
411 411 141 2905 WASHER SPR 4 6 812JB-010-411
412 411 086 4408 WASHER SPR 3 6 812JB-010-412
413 411 141 4008 WASHER V 4X9X0.8 6 812JB-010-413
414 411 088 9005 WASHER F 3X6X0.5 6 812JB-010-414

MODEL TCM-X300
0306-001
116
XY ࠻࠶ࡊࡌࠬㇱ XY TOP BASE SECTION
Fig. JC-1 ࡃ࠶ࠢࠕ࠶ࡊࡌࠬ Back-up Base
8
See Fig.JC-4
Key No.302
See Fig.JB-4
Key No.314
See Fig.JB-4
Key No.302
8
13
32
BACK-UP PIN R1
3
12
2
12
1
14
10
9
4
17
20
11
16
19
11
16
19
6
10
9
19
16
11
19
16
11
7
21
18
22
14
17
20
23
24
25
33

MODEL TCM-X300
0306-001
Key No. PART No. PART NAME Q’ty REMARKS
NOTE
117
JC-1
1 630 111 3371 PLATE 1 812JC-010-001
2 630 111 3388 PLATE 1 812JC-010-002
3 630 122 7672 BASE 1 812JC-010-003
4 630 107 7208 FRAME 1 812JC-010-004
6 630 000 0252 SENSOR,PHOTO 2 BPH60,BPH61,EE-SX671
812JC-010-006
7 630 000 0269 SENSOR,PHOTO(CONNECTOR) 2 EE-1001 812JC-010-007
8 630 065 8996 MECH PARTS(SCREW STOPPERS 4 812JC-010-008
9 630 118 4593 GUIDE,LINEAR 2 812JC-010-009
10 630 118 4609 GUIDE,LINEAR 2 812JC-010-010
11 630 000 7527 BOLT,HEX-SCT 16 812JC-010-011
12 630 000 7633 BOLT,HEX-SCT 4 812JC-010-012
13 630 000 7640 BOLT,HEX-SCT 16 812JC-010-013
14 630 000 7657 BOLT,HEX-SCT 16 812JC-010-014
16 411 141 2806 WASHER SPR 3 16 812JC-010-016
17 411 141 2905 WASHER SPR 4 16 812JC-010-017
18 411 086 4408 WASHER SPR 3 4 812JC-010-018
19 411 141 3902 WASHER V 3X7X0.5 16 812JC-010-019
20 411 141 4008 WASHER V 4X9X0.8 16 812JC-010-020
21 411 088 9005 WASHER F 3X6X0.5 4 812JC-010-021
22 411 040 7803 SCR PAN 3X12 4 812JC-010-022
23 630 000 7909 BOLT,HEX-SCT 4 812JC-010-023
24 411 141 3001 WASHER SPR 6 4 812JC-010-024
25 411 141 4305 WASHER V 6X12.5X1.6 4 812JC-010-025
32 630 109 2522 MECH PARTS(CAPS HALL) 4 812JC-010-032
33 630 122 4763 MECH PARTS(CAPS HALL) 4 812JC-010-033