P-187-001 - 第55页
MODEL TCM-X300 0306-001 Key No. P AR T No. P AR T NAME Q’ ty REMARKS NOTE 53 EB-2 10 1 630 086 4236 BASE(SCOPE XY) 1 812EB-010-101 10 2 630 1 17 0534 BASE(SCOPE XY) 1 812EB-010-102 10 3 630 086 2591 CO LLA R( 0.5 ) 4 T0 …

MODEL TCM-X300
0306-001
52
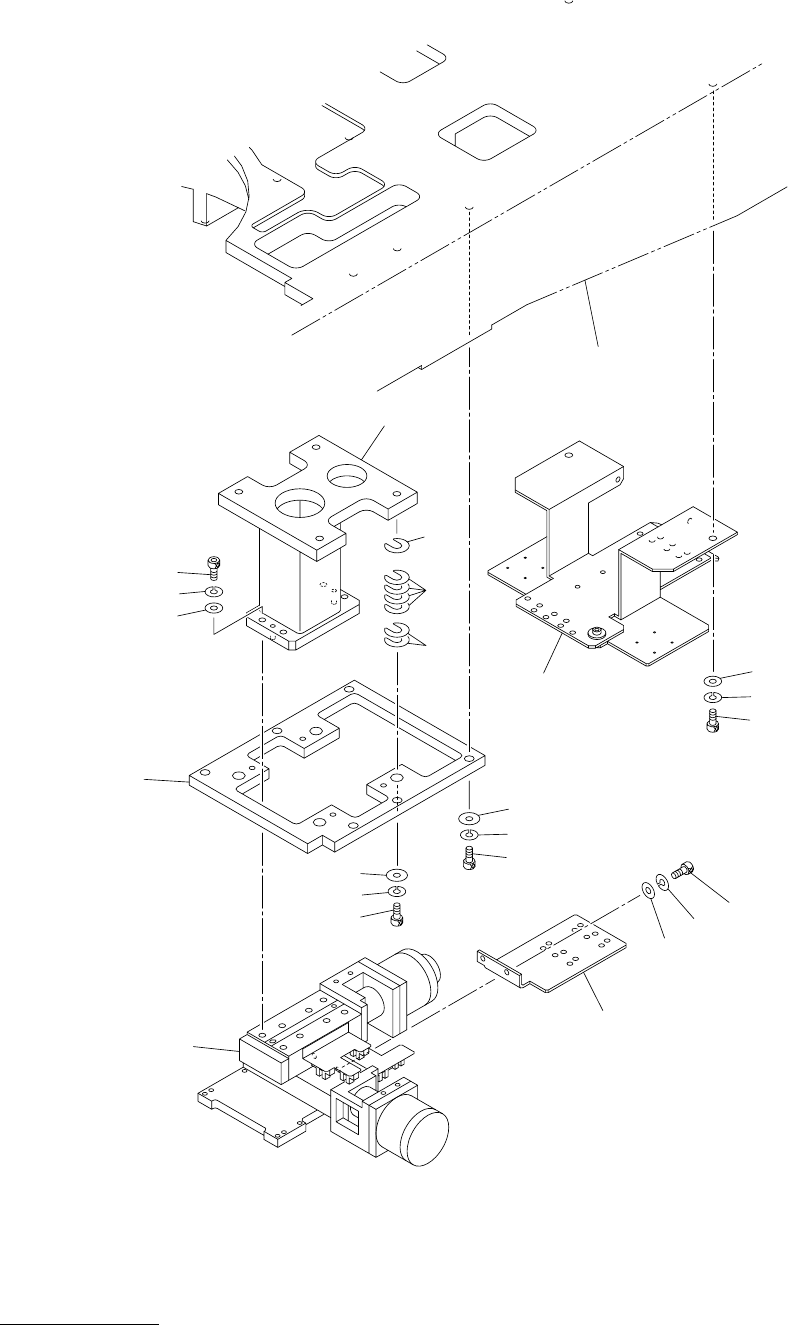
⼂࡙࠾࠶࠻ㇱ RECOGNITION UNIT SECTION
Fig. EB-2 ࠬࠦࡊ XY ࡙࠾࠶࠻ Scope XY Unit
119
111
120
108
112
108
112
121
115
114
113
107
109
108
106
105
104
See Fig.L-1
Key No.12
118
117
103
110
102
101

MODEL TCM-X300
0306-001
Key No. PART No. PART NAME Q’ty REMARKS
NOTE
53
EB-2
101 630 086 4236 BASE(SCOPE XY) 1 812EB-010-101
102 630 117 0534 BASE(SCOPE XY) 1 812EB-010-102
103 630 086 2591 COLLAR(0.5) 4 T0.5 812EB-010-103
104 630 000 8036 BOLT,HEX-SCT 4 812EB-010-104
105 411 141 3100 WASHER SPR 8 4 812EB-010-105
106 630 001 0244 WASHER 4 812EB-010-106
107 630 000 7916 BOLT,HEX-SCT 6 812EB-010-107
108 411 141 3001 WASHER SPR 6 12 812EB-010-108
109 630 001 0237 WASHER 6 812EB-010-109
110 630 087 2156 COLLAR(0.1) 16 T0.1 812EB-010-110
111 630 098 2695 COLLAR(0.05) 8 T0.05 812EB-010-111
112 411 141 4305 WASHER V 6X12.5X1.6 6 812EB-010-112
113 630 000 7756 BOLT,HEX-SCT 2 812EB-010-113
114 411 141 6705 WASHER SPR 5 2 812EB-010-114
115 411 141 4107 WASHER V 5X10X1 2 812EB-010-115
117 630 117 0664 BRACKET 1 812EB-010-117
118 630 092 0512 BRACKET 1 812EB-010-118
119 630 118 3527 UNIT(XY-TABLE) 1 MPM28(CX),MPM29(CY),BPH1-8
812EB-010-119
120 630 000 7893 BOLT,HEX-SCT 4 812EB-010-120
121 630 000 7886 BOLT,HEX-SCT 2 812EB-010-121

MODEL TCM-X300
0306-001
54
⼂࡙࠾࠶࠻ㇱ RECOGNITION UNIT SECTION
Fig. EB-3 ၮ᧼⼂ࠞࡔ P.E.C. Camera
217
216
219
See Fig.L-1
Key No.12
232
216
223
232
216
219
227
237
226
225
238
226
204
203
202
217
216
215
253
254
228
224
222
218
214
201