P-0207-001 - 第60页
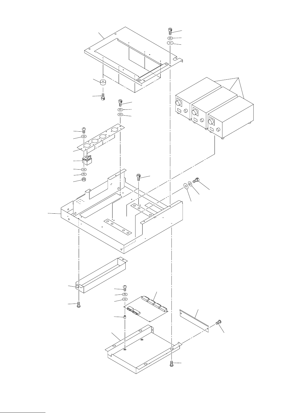
MODEL TCM-X100 0107-001 58 ⼂࡙࠾࠶࠻ㇱ RECOGNITION UNIT SECTION Fig. EB-8 ㇱຠ⼂ᾖ࡙࠾࠶࠻ Recognition Lighting Unit Fig.EB-8 TCM-X200 4797A TCM-X100AL 763 762 761 766 762 763 772 771 770 772 773 772 771 774 766 762 767 753 778 76…

MODEL TCM-X100
0212-002
Key No. PART No. PART NAME Q’ty REMARKS
NOTE
57
EB-7
601 630 000 7770 BOLT,HEX-SCT 4 765EB-010-601
602 411 141 6705 WASHER SPR 5 4 765EB-010-602
603 411 141 4107 WASHER V 5X10X1 4 765EB-010-603
604 411 039 2604 SCR PAN 2X6 8 765EB-010-604
605 411 141 2509 WASHER SPR 2 8 765EB-010-605
606 411 141 3605 WASHER V 2X5X0.3 8 765EB-010-606
651 630 099 2328 ASSY,SCOPE UNIT 1 #KD-4812US 765EB-010-651
652 630 099 2304 LIGHTING UNIT 1 #SRP48T-1650S 765EB-010-652
653 630 000 7503 BOLT,HEX-SCT 2 765EB-010-653
654 630 000 7558 BOLT,HEX-SCT 2 765EB-010-654
655 411 141 2806 WASHER SPR 3 4 765EB-010-655
656 411 141 5807 WASHER F 3X6X0.5 4 765EB-010-656

MODEL TCM-X100
0107-001
58
⼂࡙࠾࠶࠻ㇱ RECOGNITION UNIT SECTION
Fig. EB-8 ㇱຠ⼂ᾖ࡙࠾࠶࠻ Recognition Lighting Unit
Fig.EB-8
TCM-X200
4797A
TCM-X100AL
763
762
761
766
762
763
772
771
770
772
773
772
771
774
766
762
767
753
778
769
752
764
765
768
751-10
751
768
755
768
760
758
759
776
754
.

MODEL TCM-X100
0212-002
Key No. PART No. PART NAME Q’ty REMARKS
NOTE
59
EB-8
751 630 100 9230 LIGHTING UNIT 3 EL1,EL2,EL3,#MHF-P100LRD-SO-2
765EB-010-751
751 -10 630 036 8642 LAMP 1 LM-100
752 630 100 9247 ACCESSORY,I/O 1 #MCR-A4-467-2 765EB-010-752
753 630 000 4243 SOCKET 4 765EB-010-753
754 630 097 6113 BOX 1 765EB-010-754
755 630 091 4320 COVER 1 765EB-010-755
758 630 091 4306 PLATE 1 765EB-010-758
759 630 091 4313 COVER 1 765EB-010-759
760 630 091 4337 BOX 1 765EB-010-760
761 630 000 7763 BOLT,HEX-SCT 4 765EB-010-761
762 411 141 6705 WASHER SPR 5 10 765EB-010-762
763 630 001 0220 WASHER 8 765EB-010-763
764 630 000 7503 BOLT,HEX-SCT 6 765EB-010-764
765 630 011 5420 MECH PARTS(RUBBER LEGS) 6 765EB-010-765
766 630 000 7756 BOLT,HEX-SCT 6 765EB-010-766
767 411 141 4107 WASHER V 5X10X1 2 765EB-010-767
768 411 140 8007 SCR TRS 5X6 8 765EB-010-768
769 630 006 0225 ACCESSORY,P.C.B 4 765EB-010-769
770 411 113 0700 SCR PAN 3X16 4 765EB-010-770
771 411 086 4408 WASHER SPR 3 12 765EB-010-771
772 411 119 1909 WASHER V 3X7X0.5 20 765EB-010-772
773 411 040 6202 SCR PAN 3X10 8 765EB-010-773
774 411 054 6809 NUT HEX 3 8 765EB-010-774
776 630 097 6120 PLATE 1 765EB-010-776
778 630 000 7633 BOLT,HEX-SCT 2 765EB-010-778