文档中心
/
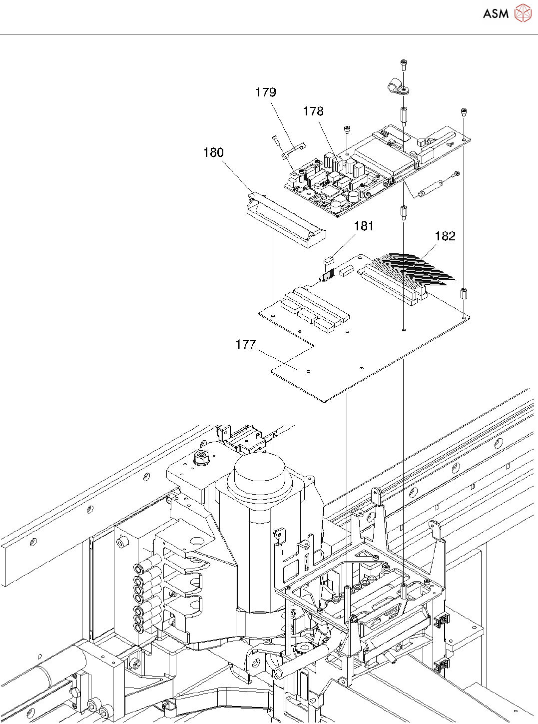
Cable trees_20211122_065121
Cable trees_20211122_065121
Cable trees Page 1 / 16 22.11.2021
目录
100%
显示:宽度
宽度
1 / 16
回到旧版
旧版
?
Cable trees
Page 1 / 16
22.11.2021
Cable trees
Page 2 / 16
22.11.2021
Cable trees
Page 3 / 16
22.11.2021
该页面需要启用 JavaScript 才能进行交互式预览。