文档中心
/
Cable trees_20211124_080251
Cable trees_20211124_080251 - 第6页
Cable trees Page 6 / 21 24.11.2021
目录
100%
显示:宽度
宽度
1 / 21
回到旧版
旧版
?
Cable trees
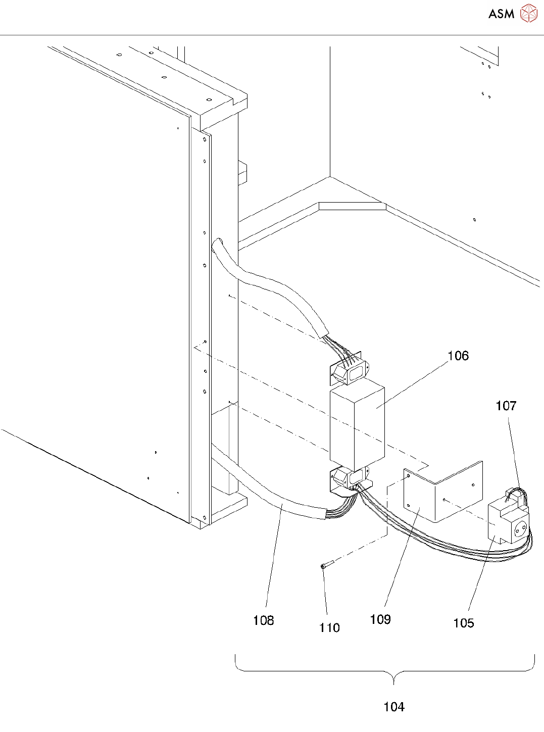
Page 5 / 21
24.11.2021
Cable trees
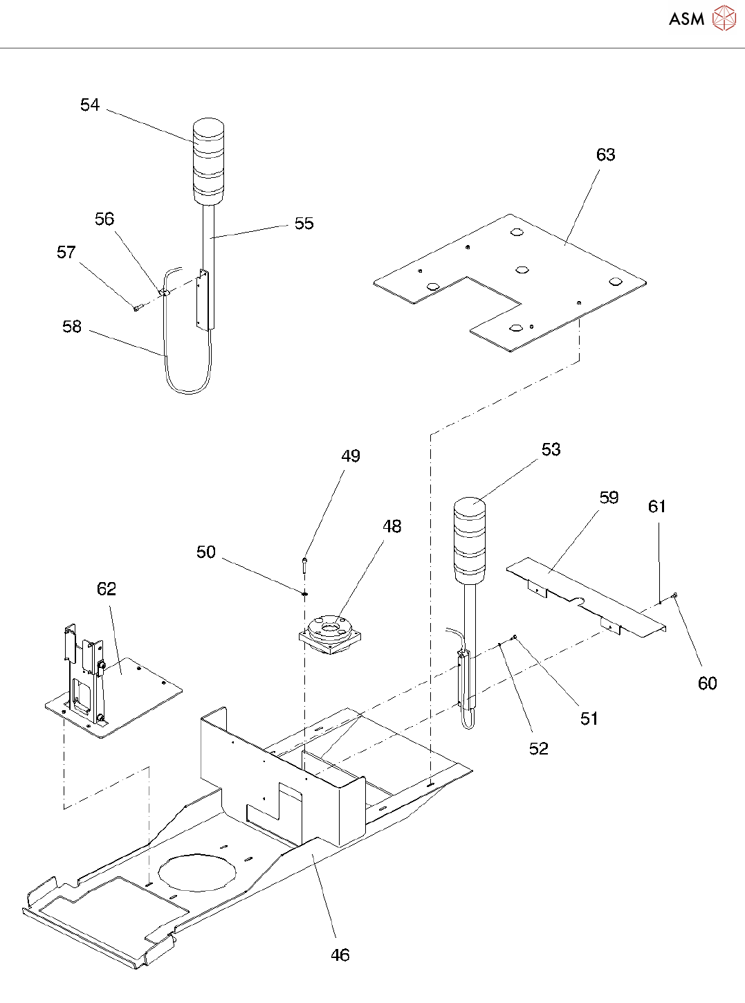
Page 6 / 21
24.11.2021
Cable trees
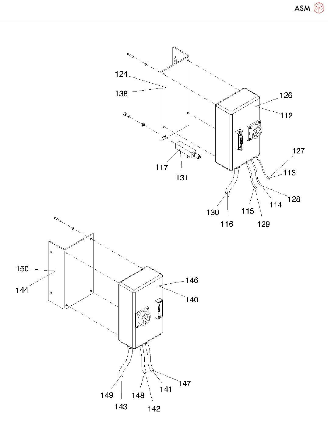
Page 7 / 21
24.11.2021
该页面需要启用 JavaScript 才能进行交互式预览。