文档中心
/
Computer unit_20211123_105805
Computer unit_20211123_105805
Computer unit Page 1 / 4 23.11.2021
目录
100%
显示:宽度
宽度
1 / 4
回到旧版
旧版
?
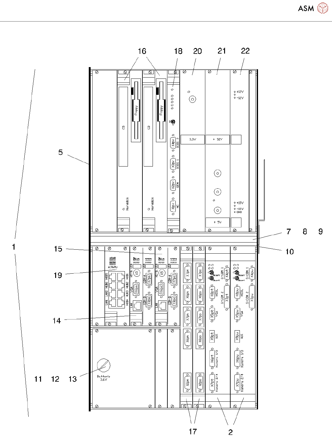
Computer unit
Page 1 / 4
23.11.2021
Computer unit
Page 2 / 4
23.11.2021
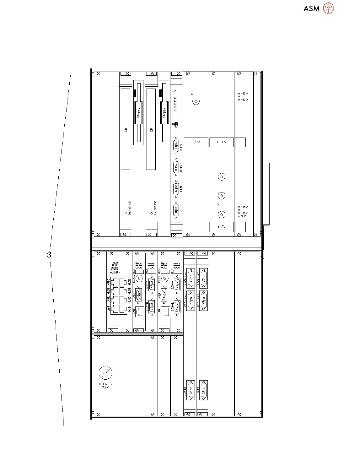
Computer unit
Page 3 / 4
23.11.2021
该页面需要启用 JavaScript 才能进行交互式预览。