CM402-L Mechanical Parts 20070703 - 第159页
Ref No. Remarks R 1 Q'ty 10 高速 ヘ ッド 接続 ユ ニ ッ ト : ボー ル ネジ 対応 High-Speed Head Connection Unit:for Ball Screw イラスト No. Part No. 品 名 品番 数量 R 2 パー ツ リ スト Kit No. キ ット 品番 Kit Name キ ット 名称 KXFX0643A00 Part Name 備 考 セクション N…

10
高速
ヘッド
接続
ユニット
:
ボールネジ
対応
High-Speed Head Connection Unit:for Ball Screw
パーツレイアウト
Kit No.
キット
品番
Kit Name
キット
名称
KXFX0643A00
セクション
No
.
PARTS LAYOUT
Section No.
-
-
M135
( KKXFX0643A00-00 )

Ref
No.
Remarks
R
1
Q'ty
10
高速
ヘッド
接続
ユニット
:
ボールネジ
対応
High-Speed Head Connection Unit:for Ball Screw
イラスト
No.
Part No.
品 名品番 数量
R
2
パーツリスト
Kit No.
キット
品番
Kit Name
キット名称
KXFX0643A00
Part Name
備 考
セクション
No
.
PARTS LIST
Section No.
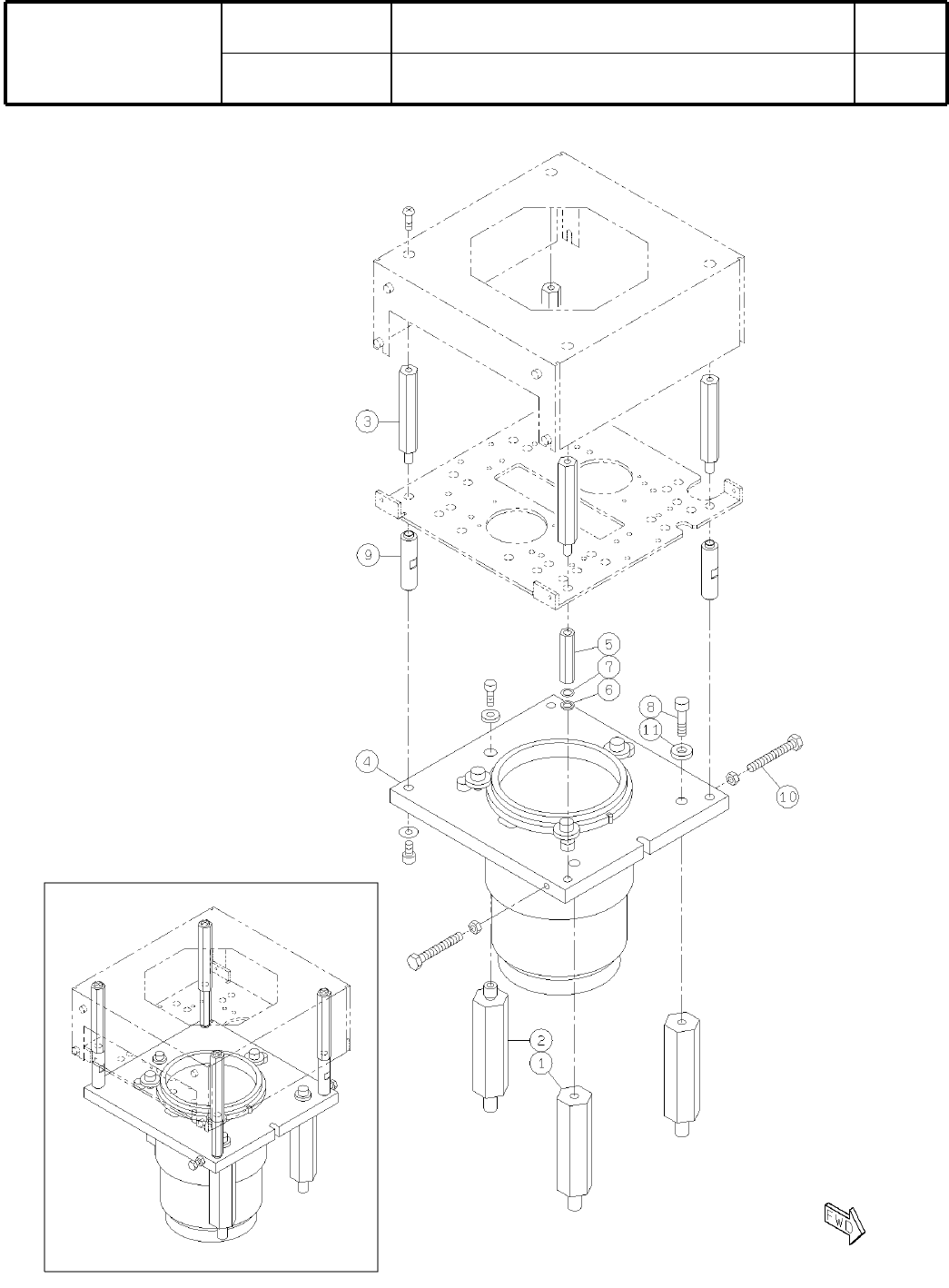
R
3
BRACKET
1
1 N210010143AA
JOINT
1
2 KXF0CV0AA00 KK4P-08E
JOINT
1
3 KXF0CSZAA00 KK3P-06E
JOINT
1
4 KXF0E4LWA00 KQLU08-00
JOINT
1
5 KXF0AERAA00 KQN08-99
CABLE-SUPPORT
1
6 KXF0DGAAA00 HV-125
M136
-
-
( KKXFX0643A00-00 )

11
ラインカメラ
Line Camera
パーツレイアウト
Kit No.
キット
品番
Kit Name
キット
名称
KXFX036BA00
セクション
No
.
PARTS LAYOUT
Section No.
-
-
M137
( KKXFX036BA00-05 )