CM402-L Mechanical Parts 20070703 - 第231页
Ref No. Remarks R 1 Q'ty 2 ノ ズル チ ェ ンジャ ( 高速 ヘ ッド ) Nozzle Changer (High-Speed Head) イラスト No. Part No. 品 名 品番 数量 R 2 パー ツ リ スト Kit No. キ ット 品番 Kit Name キ ット 名称 KXFX036 WA00 Part Name 備 考 セクション No . PARTS LIST Sectio…

2
ノズルチェンジャ
(
高速
ヘッド
)
Nozzle Changer (High-Speed Head)
パーツレイアウト
Kit No.
キット
品番
Kit Name
キット
名称
KXFX036WA00
セクション
No
.
PARTS LAYOUT
Section No.
-
-
S3
( KKXFX036WA00-05 )

Ref
No.
Remarks
R
1
Q'ty
2
ノズルチェンジャ
(
高速
ヘッド
)
Nozzle Changer (High-Speed Head)
イラスト
No.
Part No.
品 名品番 数量
R
2
パーツリスト
Kit No.
キット
品番
Kit Name
キット名称
KXFX036WA00
Part Name
備 考
セクション
No
.
PARTS LIST
Section No.
R
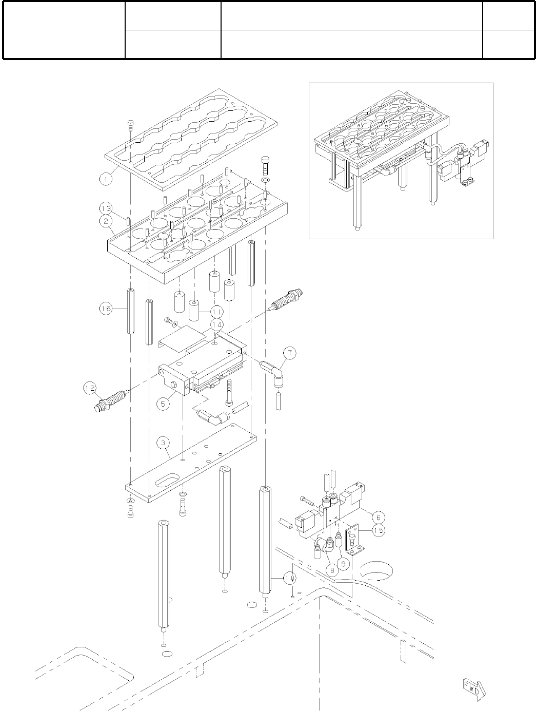
3
SHUTTER
1
1 KXFB02KGA01
HOLDER
1
2 N210002103AA
BRACKET
1
3 KXFB02KJA00
GUIDE
2
4 KXFB02KKA00
COLLAR
6
5 KXFB02KLA00
COVER
1
6 KXFB02KMA01
CYLINDER
1
7 N610043674AA
SPEED-CONTROLLER
2
8 KXF00YMAA00 AS1201F-M5-04
PIN
37
9 KXF02XVAA00 MS3-10
VALVE
1
10 KXF0A3RAA00 VQZ1220-5MO-C4
JOINT
1
11 KXF02C3AA00 KQL06-M5
SILENCER
2
12 KXF00WCAA00 AN120-M5
POST
3
15 KXF0DWQ4A00 LSBGT19-161(DA KXF0DWQ4A01)
STOPPER-BOLT
2
17 KXF0CVEAA00 UNAH3-15(DA)
FLOATING-JOINT
1
18 KXF0CVFAA00 FJT4-0.7-3
BEARING
8
19 KXF0AB1AA00 634ZZ
PIN
4
20 KXF02Y7AA00 MS4-15
WASHER
8
21 KXF07R1AA00 MSRB4.5-1.0
WASHER
1
22 KXF0CVGAA00 WSSB10-4-1
BRACKET
1
23 KXFB02SWA00
S4
-
-
( KKXFX036WA00-05 )

3
ノズルチェンジャ
(
多機能
ヘッド
)
Nozzle Changer (Multi-Functional heads)
パーツレイアウト
Kit No.
キット
品番
Kit Name
キット
名称
KXFX036XA00
セクション
No
.
PARTS LAYOUT
Section No.
-
-
S5
( KKXFX036XA00-04 )