Earthquake safety set S20_S23_F4_F5_20211119_080413 - 第2页

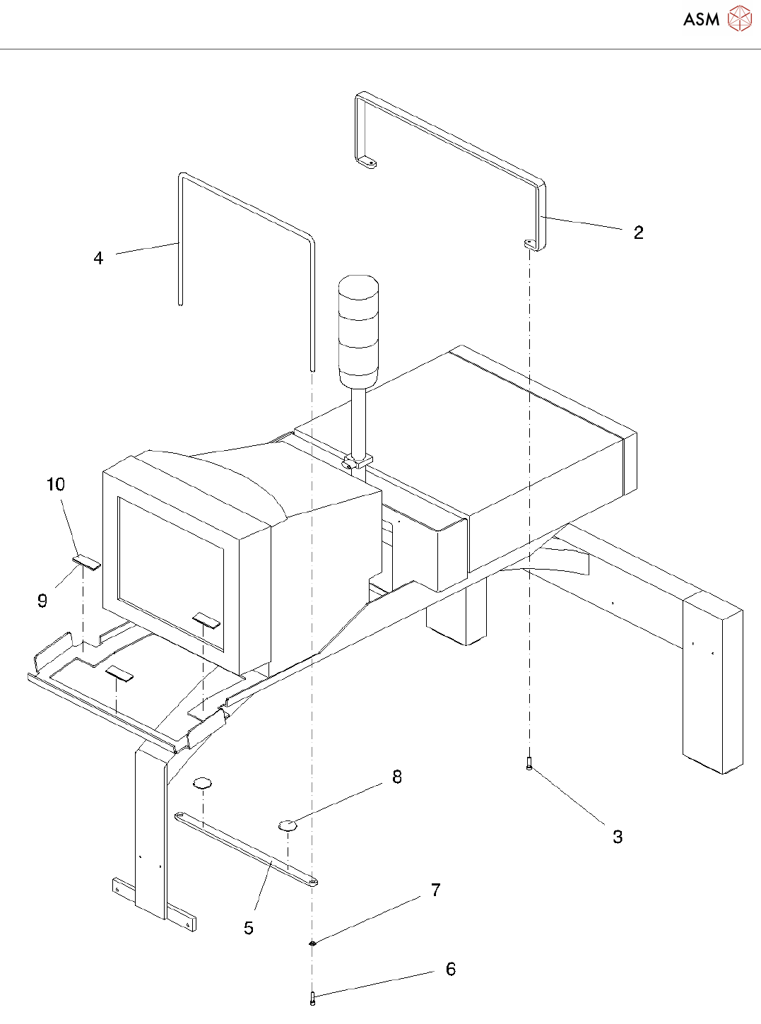
Earthquake safety set S20/S23/F4/F5 Page 2 / 2 19.11.2021 Pos. Item no. Description 00116290-01 EARTHQUAKE SAFETY SET S20/S23/F4/F5 2 00348183-01 BOW PC SCENIC PRO C5/C6 3 00845044-01 HEXAGON SOCKET HEAD CAP SCREW M5 X 1…

100%1 / 2
Earthquake safety set S20/S23/F4/F5
Page 1 / 2 19.11.2021
Earthquake safety set S20/S23/F4/F5
Page 2 / 2 19.11.2021
Pos. Item no. Description
00116290-01 EARTHQUAKE SAFETY SET S20/S23/F4/F5
2 00348183-01 BOW PC SCENIC PRO C5/C6
3 00845044-01 HEXAGON SOCKET HEAD CAP SCREW M5 X 16-8.8
4 00348181-01 BOW MONITOR MCM1405
5 00348182-01 PLATE MONITOR MCM1405
6 00845044-01 HEXAGON SOCKET HEAD CAP SCREW M5 X 16-8.8
7 00048336-01 WASHER
8 00330971-01 BASE ANTI-SKID, SELF-ADHESIVE D=30, S=1.6
9 00348189-01 KLETTOSTAR-SOFT 20 MM WHITE SK GLUE 22
10 00348188-01 KLETTOSTAR-VELCRO 20MM WHITE SK GLUE 22
Powered by TCPDF (www.tcpdf.org)