HT122 - 第12页
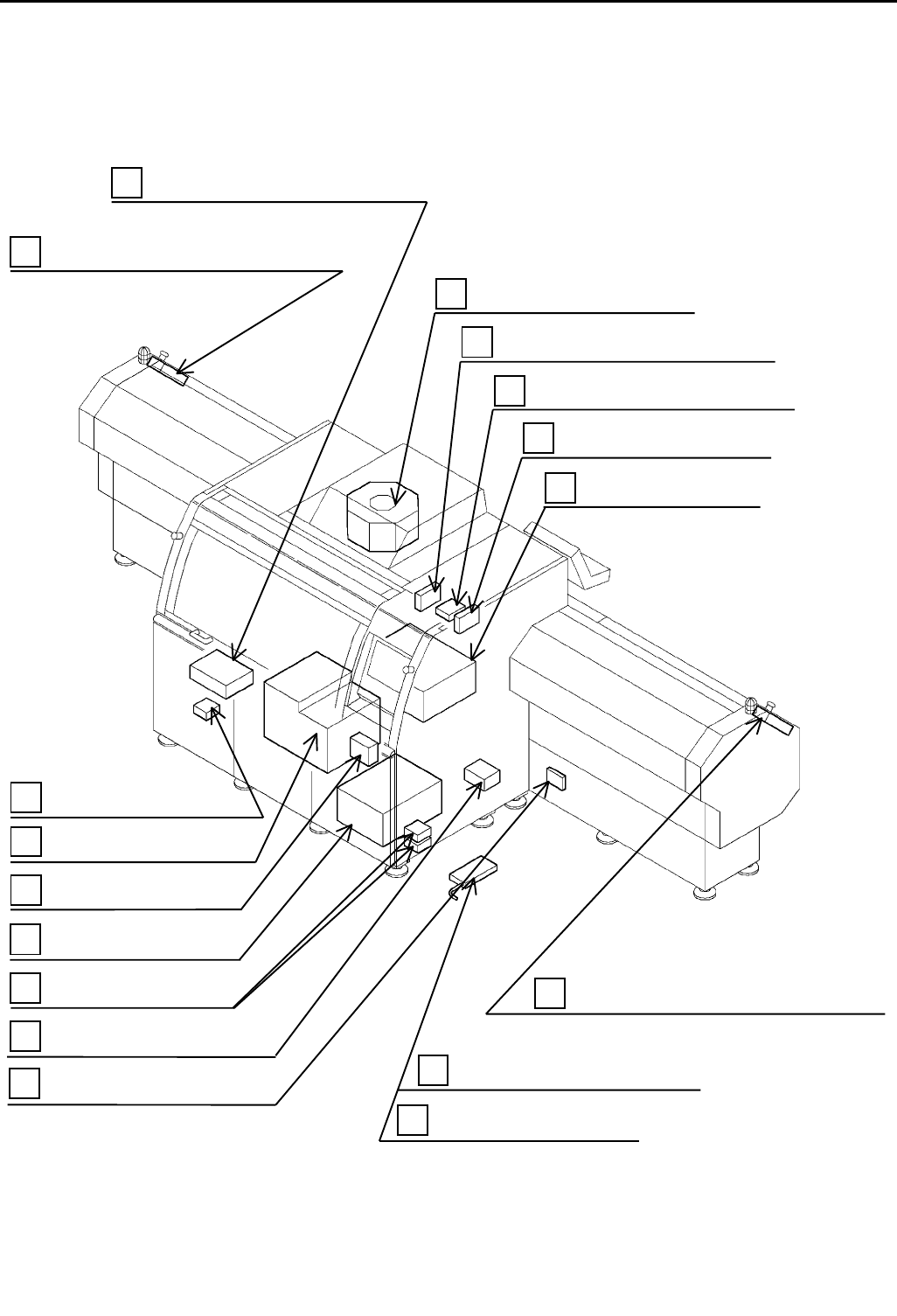
HT122(NM-EJT 1A,2A,3A) HT132(NM- EJT4A, 5A,6A) 全体図 UNIT LAYOUT ZR 部品交換スイッチ ZR PART S CHANGE S W ITCH 17 後部操作盤 REAR C ONTRO L PANEL 3 光モジュール (P610-I8N-C) OPTICA L MODULE 15 光モジュール (P610-O16B) OPTICA L MODULE 15 光モジュール (P6…

HT122(NM-EJT1A,2A,3A)HT132(NM- EJT4A,5A,6A)
全体図
UNIT LAYOUT
パルスドライバ
(P345)
PULSE DRIVER
7
副操作盤キーシート
SUB CONTROL PANEL KEY SHEET
5
副操作盤
(P935L-001-D)
SUB CONTROL PANEL
4
ZNR
基板
(M30835-38-000)
ZNR BOARD
18
ノイズフィルタ
(3SUP-HL50-ER-6B)
NOISE FILTER
10
パルスドライバ
(
自動幅寄せ
)
PULSE DRIVER(AUTO WIDTH CONTROL)
7
受電盤
(M30851-36-300)
POWER SOURCE UNIT
8
FZN7204A034B02-1
メインコントローラ
MAIN CONTROLLER
1
パルスドライバ
(A6634-043)
PULSE DRIVER
7
プリンタ
PRINTER
13
部品切れ表示
BOX(
左側
)
PARTS EXHAUST DISPLAY BOX(LEFT SIDE)
16
LED
照明コントロールボックス
(P964-001)
LED LIGHT CONTROL BOX
12
トランス
(PFSC-8.2KVA)
TRANSFORMER
14
スイッチング電源
(LDA300W-24-XTHSE)
SWITCHING POWER SUPPLY
19
スイッチング電源
(PAA100F-24)
SWITCHING POWER SUPPLY
19
パルスドライバ
(A6634-043)
PULSE DRIVER
7
部品切れ表示
BOX(
右側
)
PARTS EXHAUST DISPLAY BOX(RIGHT SIDE)
16

HT122(NM-EJT1A,2A,3A)HT132(NM- EJT4A,5A,6A)
全体図
UNIT LAYOUT
ZR
部品交換スイッチ
ZR PARTS CHANGE SWITCH
17
後部操作盤
REAR CONTROL PANEL
3
光モジュール
(P610-I8N-C)
OPTICAL MODULE
15
光モジュール
(P610-O16B)
OPTICAL MODULE
15
光モジュール
(P610-I16B)
OPTICAL MODULE
15
ZL
部品交換スイッチ
ZL PARTS CHANGE SWITCH
17
主操作盤
MAIN CONTROL PANEL
2
光モジュール
(P610-I16B)
OPTICAL MODULE
15
光モジュール
(P610-O16B)
OPTICAL MODULE
15
光モジュール
(P610-I16B)
OPTICAL MODULE
15
光モジュール
(P610-I16B)
OPTICAL MODULE
15
光モジュール
(P610-O16B)
OPTICAL MODULE
15
光モジュール
(P610-I8N-C)
OPTICAL MODULE
15
光モジュール
(P610-O8N-C)
OPTICAL MODULE
15
光モジュール
(P610-O8N-C)
OPTICAL MODULE
15
光モジュール
(P610- I16B)
OPTICAL MODULE
15
リードライトヘッドユニット
(P652A-300)
READ & WRITE HEAD UNIT
21
リードライトヘッドユニット
(P652A-300)
READ & WRITE HEAD UNIT
21
IPC
システム
(P655A)
DATA COMMUNICATION UNIT
20
FZN7204A034B02-2
23
認識用
LED
照明
RECOGNITION LED LIGHTING

HT122(NM-EJT1A,2A,3A)HT132(NM- EJT4A,5A,6A)
全体図
UNIT LAYOUT
FZN7204A034B02-3
メインパワースイッチ
(P3-63/EA/SVB-SW)
MAIN POWER SWITCH
11
光モジュール
(P610-I16B)
OPTICAL MODULE
15
A
C
サーボモータドライバ
(MBDFT2507)
A
C SERVO MOTOR DRIVER
6
A
C
サーボモータドライバ
(MGDFTA350A01)
A
C SERVO MOTOR DRIVE
R
6
A
C
サーボモータドライバ
(P326M-13KMSG)
A
C SERVO MOTOR DRIVE
R
6
A
C
サーボモータドライバ
(MDDFT5325)
A
C SERVO MOTOR DRIVE
R
6
A
C
サーボモータドライバ
(MDDFT5325)
A
C SERVO MOTOR DRIVE
R
6
A
C
サーボモータドライバ
(MBDFT1503)
A
C SERVO MOTOR DRIVE
R
6
A
C
サーボモータドライバ
(MCDFT3312)
A
C SERVO MOTOR DRIVE
R
6
A
C
リアクトル
(DV0P176)
A
C REACTO
R
9
スイッチング電源
(JWS300-24)
POWER SUPPLY
19
スイッチング電源
(S82J-01005D)
SWITCHING POWER SUPPLY
19
光モジュール
(P610-O8N-C)
OPTICAL MODULE
15
UL
対応コンセントボックス
PLUG SOCKET BOX FOR UL
22
A
C
サーボモータドライバ
(MFDFT7333)
A
C SERVO MOTOR DRIVE
R
6
*1 NM-EJT1A, EJT2A, EJT3A
*2 NM- EJT4A, EJT5A, EJT6A
*3 FOR AC200/220V
*1
*2
*2
ブレーカ
(AC 380/400/420/480V
用
)
BREAKER(FOR AC 380/400/420/480V)
24
ブレーカ
(NF63-CW 3P 30AF)
BREAKER
24
*3
*1