HT122 - 第24页
メインコントローラ MAIN CONTRO LLER 1 FN610031666AA_01 E1


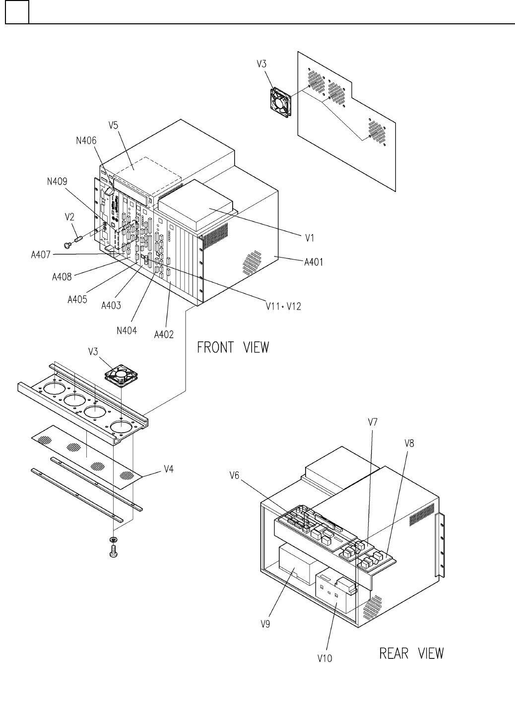
メインコントローラ
MAIN CONTROLLER
1
FN610031666AA_01
E1

PART No.
イラスト
No.
REF
No.
PART NAME
REMARKS
Q'TY
1
メインコントローラ
MAIN CONTROLLER
部 品 名 品 番 個数 備 考
R
1
R
2
1 N610031666AA
CONTROLLER(MAIN) コントローラ
(メイン)
FA8000-772-4 S
1
A401
N1F87724
CASE キョウタイ
FA8000-011 S
1
A402
N1F8011
BOARD(MMC) キバン(MMC)
FS8000-SC4-1C S
1
A403
N1F8SC41C
BOARD(SC) キバン(SC)
FA8000-202-6B S
1
A405
N1F82026B
BOARD(NC) キハ
゙ン(NC)
FA8000-711-B S
1
A407
N1F8711B
BOARD(VGA/FDD) キバン(VGA/FDD)
FS8000-MI1-C S
1
A408
N610032665AA
BOARD(I/O) キバン(I/O)
FS8000-RC9-E
1
N404
N610074371AA
BOARD(RC) キハ
゙ン(RC)
NBC-IC4B(M) S
1
N406
N209NBC1C4BM
BOARD(CPU) キハ
゙ン(CPU)
1
N409
N610046460AA
SDD SDD
PS2538L
1V 1 N244PS2538L
BATTERY バッテリー
314010
2V 2 N230314010
FUSE ヒュース
゙
109P0812H7D04
7
V 3 N238109P-103
FAN WITH MOTOR ファンモータ
M39800-43-373
1
V 4 3980043373
UNDER FAN FILTER アンダーファンフィルタ
CDV-AB48TB
1V 5 N902CDVA-185
CD-ROM CD-ROM
FA8000-762-A
1V 6 N1F8762A
BOARD キハ
゙ン
LDA10F-12-Y
1
V 7 N244LDA1-067
POWER SUPPLY デンゲン
LDA10F-5-Y
1
V 8 N244LDA10F5Y
POWER SUPPLY デンゲン
PCSA-250-H101
1V 9 N244PCSA-043
POWER SUPPLY デンゲン
NSP2-180-H2X
1V10 N244NSP2-053
POWER SUPPLY デンケ
゙ン
CBAT-001
1
V11 N997CBAT001
BATTERY デンチ
T18I
1
V12 N348T181T
BAND バンド
E2
FN610031666AA_01