P-0199-001.pdf - 第159页

MODEL TCM-3700-2 0109-001 157 Key N o. P AR T No . P AR T NAME Q’ t y REMA RKS NOTE 7-2 1 630 077 4580 BR A C KE T( M OTOR) 1 7 3 9 G - - 0 1 B - 0 10 2 630 006 0409 GEA R, RE DUCTION 2 739G--01H-016 3 630 075 6333 MOT O…

100%1 / 274
MODEL TCM-3700-2
0109-001
156
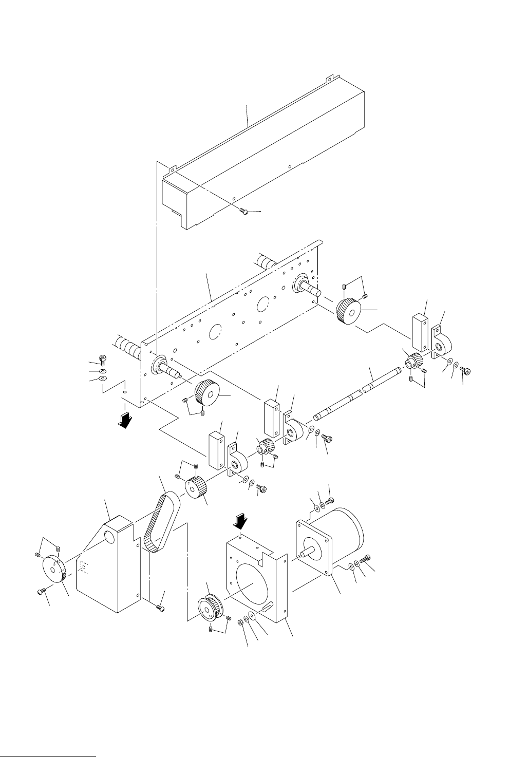
㧸ࠦࡦࡌࠕㇱ L CONVEYOR SECTION
Fig. 7-2 ࠦࡦࡌࠕ㚟േㇱ Conveyor Driver
8
7
8
17
18
19
20
21
22
7
8
7
8
9
9-1
7
3
3
2
2
5
4-1
6
32
31
5
4
11
12
1
10
6
6-1
See Fig.7-1
Key No.2
6-1
MODEL TCM-3700-2
0109-001
157
Key No. PART No. PART NAME Q’ty REMARKS
NOTE
7-2
1 630 077 4580 BRACKET(MOTOR) 1 739G--01B-010
2 630 006 0409 GEAR,REDUCTION 2 739G--01H-016
3 630 075 6333 MOTOR,REVERSIBLE 2 M3, M8, 4RK25GN-AUL 100V
739G--01H-015
4 411 141 4107 WASHER V 5X10X1 2 FW5
4 -1 630 001 0220 WASHER 1 739G--01H-027
5 411 141 6705 WASHER SPR 5 4 SW5
6 630 000 7848 BOLT,HEX-SCT 4 M5X60
6 -1 630 075 6289 NUT 4 739G--01B-054
7 630 009 2684 PULLEY,TIMING 4 739G--01H-017
8 630 000 8944 SET SCREW 8 M5X6 SET
9 630 066 9992 BELT,TIMING 1 739G--01H-036
9 -1 630 049 6925 BELT,TIMING 1 739G--01H-048
10 411 141 4107 WASHER V 5X10X1 2 FW5
11 411 141 6705 WASHER SPR 5 2 SW5
12 630 000 7749 BOLT,HEX-SCT 2 M5X10
17 630 077 4733 COLLAR 1 739G--01B-067
18 630 077 3200 BEARING,RADIAL 1 739G--01H-049
19 630 077 3217 BEARING,RADIAL 1 739G--01H-050
20 411 141 4107 WASHER V 5X10X1 1 FW5
21 411 141 6705 WASHER SPR 5 1 SW5
22 630 000 7787 BOLT,HEX-SCT 1 M5X25
31 630 077 4634 COVER(MOT0R) 1 739G--01B-032
32 411 051 1708 SCR TRS 4X6 1 M4X6 TRS
MODEL TCM-3700-2
0109-001
158
42
2
1
6-1
6
5
6-1
1
6
5
37
38
37
34
30
29
28
25
24
26
27-1
25
26
27
20
16
6-1
6
7
4
3
8
9
7
4
2
22
21
23
17
35
36
33
39
8
9
7
8
9
A
A
41
See Fig.7-1
Key No.2
TCM-3700-2
TCM-3700
Fig.7-3
㧸ࠦࡦࡌࠕㇱ L CONVEYOR SECTION
Fig. 7-3 ࠼࡜ࠗࡉࠪࡖࡈ࠻ Driving Shaft