P-0199-001.pdf - 第246页
MODEL TCM-3700-2 0109-001 244 ࠞࡃㇱ COVER SECTION Fig.12-1 ᚻߔࠅ Handrail 13 14 15 13 14 15 2 1 3 4 6 10 9 8 6 13 14 15 9 8 10 7 13 14 15 13 14 15 34 35 41 42 43 44 45 11 12 41 42 43 44 45 30 31 32 33 16 18 17 9 8 10 7 8 9 …

MODEL TCM-3700-2
0109-001
243
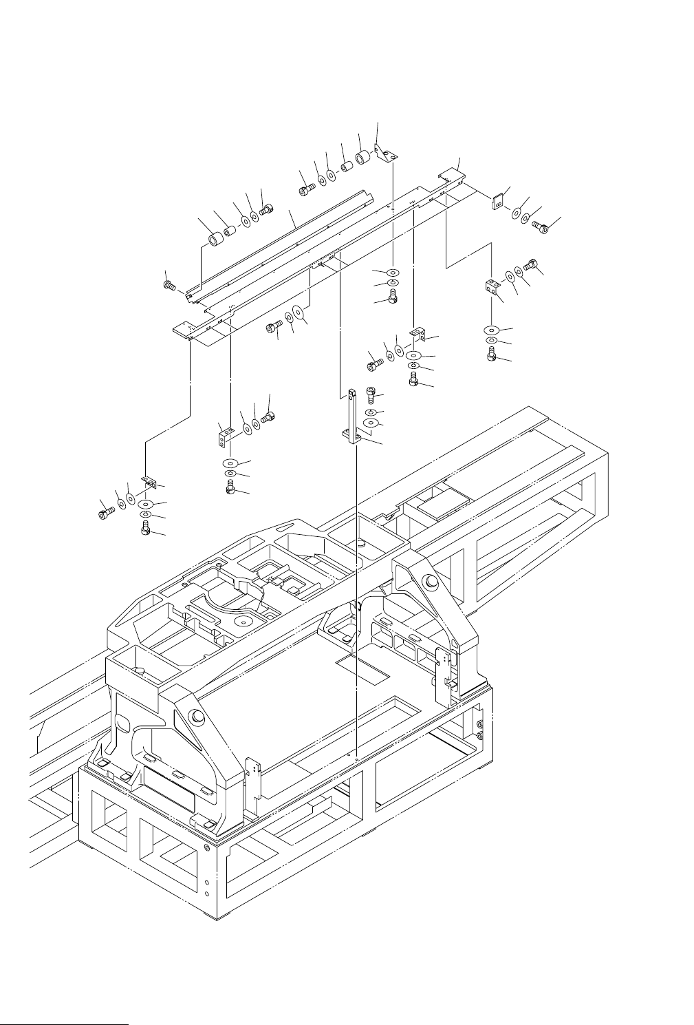
Key No. PART No. PART NAME Q’ty REMARKS
NOTE
11-21
1 630 094 2965 PANEL 1 739FB-01V-052
2 630 001 0220 WASHER 4 BW5
3 411 141 6705 WASHER SPR 5 4 SW5
4 630 000 7756 BOLT,HEX-SCT 4 M5X12
5 630 094 2866 COVER 1 739FB-01V-053
6 411 119 2104 WASHER V 4X9X0.8 6 FW4 F
7 411 008 1706 WASHER SPR 4 6 SW4 F
8 411 042 3001 SCR PAN 4X10 6 M4X10 PAN
9 630 094 2873 COVER 1 739FB-01V-054
10 411 051 2804 SCR TRS 4X8 6 M4X8 TRS
11 630 094 7250 RESISTOR,SPECIAL 4 RR11, RR12, RR13, RR14
739FB-01D-906
12 411 113 2209 SCR PAN 4X16 8 M4X16 PAN
13 411 119 2104 WASHER V 4X9X0.8 8 FW4 F
14 411 008 1706 WASHER SPR 4 8 SW4 F
15 411 054 8506 NUT HEX 4 8 M4 F
17 411 119 2104 WASHER V 4X9X0.8 2 FW4 F
18 411 008 1706 WASHER SPR 4 2 SW4 F
19 411 042 3001 SCR PAN 4X10 2 M4X10 PAN
20 630 049 3672 BRACKET,WIRING 2 739FB-01D-158
21 630 049 3757 ACCESSORY,WIRING 1 739FB-01D-174
22 630 049 3696 TERMINAL 8 739FB-01D-918
23 630 049 3726 ACCESSORY,WIRING 1 739FB-01D-919
24 630 049 3733 ACCESSORY,WIRING 1 739FB-01D-156
26 630 094 2965 PANEL 1 739FB-01V-052
27 630 001 0220 WASHER 4 BW5
28 411 141 6705 WASHER SPR 5 4 SW5
29 630 000 7756 BOLT,HEX-SCT 4 M5X12
30 630 094 2866 COVER 1 739FB-01V-053
31 411 119 2104 WASHER V 4X9X0.8 6 FW4 F
32 411 008 1706 WASHER SPR 4 6 SW4 F
33 411 042 3001 SCR PAN 4X10 6 M4X10 PAN
34 630 094 2873 COVER 1 739FB-01V-054
35 411 051 2804 SCR TRS 4X8 6 M4X8 TRS
36 630 094 7250 RESISTOR,SPECIAL 4 RR21, RR22, RR23, RR24
739FB-01D-906
37 411 113 2209 SCR PAN 4X16 8 M4X16 PAN
38 411 119 2104 WASHER V 4X9X0.8 8 FW4 F
39 411 008 1706 WASHER SPR 4 8 SW4 F
40 411 054 8506 NUT HEX 4 8 M4 F
42 411 119 2104 WASHER V 4X9X0.8 2 FW4 F
43 411 008 1706 WASHER SPR 4 2 SW4 F
44 411 042 3001 SCR PAN 4X10 2 M4X10 PAN
45 630 049 3672 BRACKET,WIRING 2 739FB-01D-158
46 630 049 3757 ACCESSORY,WIRING 1 739FB-01D-174
47 630 049 3696 TERMINAL 8 739FB-01D-918
48 630 049 3726 ACCESSORY,WIRING 1 739FB-01D-919
49 630 049 3733 ACCESSORY,WIRING 1 739FB-01D-156

MODEL TCM-3700-2
0109-001
244
ࠞࡃㇱ COVER SECTION
Fig.12-1 ᚻߔࠅ Handrail
13
14
15
13
14
15
2
1
3
4
6
10
9
8
6
13
14
15
9
8
10
7
13
14
15
13
14
15
34
35
41
42
43
44
45
11
12
41
42
43
44
45
30
31
32
33
16
18
17
9
8
10
7
8
9
10

MODEL TCM-3700-2
0109-001
245
Key No. PART No. PART NAME Q’ty REMARKS
NOTE
12-1
1 630 058 2468 BRACKET 1 739R--01B-108
2 630 001 0237 WASHER 2 BW6
3 411 141 3001 WASHER SPR 6 2 SW6
4 630 000 7916 BOLT,HEX-SCT 2 M6X30
6 630 058 8644 BRACKET 2 739R--01B-112
7 630 050 7492 BRACKET 2 739R--01B-113
8 411 141 4107 WASHER V 5X10X1 8 FW5
9 411 141 6705 WASHER SPR 5 8 SW5
10 630 000 7756 BOLT,HEX-SCT 8 M5X12
11 630 085 4435 COVER(BC) 1 739R--01B-110
12 630 084 4566 BRACKET 1 739R--01B-106
13 630 001 0220 WASHER 10 BW5
14 411 141 6705 WASHER SPR 5 10 SW5
15 630 000 7756 BOLT,HEX-SCT 10 M5X12
16 630 001 0220 WASHER 2 BW5
17 411 141 6705 WASHER SPR 5 2 SW5
18 630 000 7756 BOLT,HEX-SCT 2 M5X12
30 630 030 0031 MECH PARTS(BRACKET) 8 739R--01H-013
31 411 141 4107 WASHER V 5X10X1 16 FW5
32 411 141 6705 WASHER SPR 5 16 SW5
33 630 000 7763 BOLT,HEX-SCT 16 M5X16
34 630 084 4573 COVER 1 739R--01B-107
35 411 113 9109 SCR TRS 5X10 6 M5X10 TRS
41 630 028 9909 MECH PARTS(URETHANES) 2 739R--01H-004
42 630 038 9698 COLLAR 2 739R--01B-105
43 411 141 4305 WASHER V 6X12.5X1.6 2 FW6
44 411 141 3001 WASHER SPR 6 2 SW6
45 630 000 7916 BOLT,HEX-SCT 2 M6X30