GXH-1S Feeder.pdf - 第48页
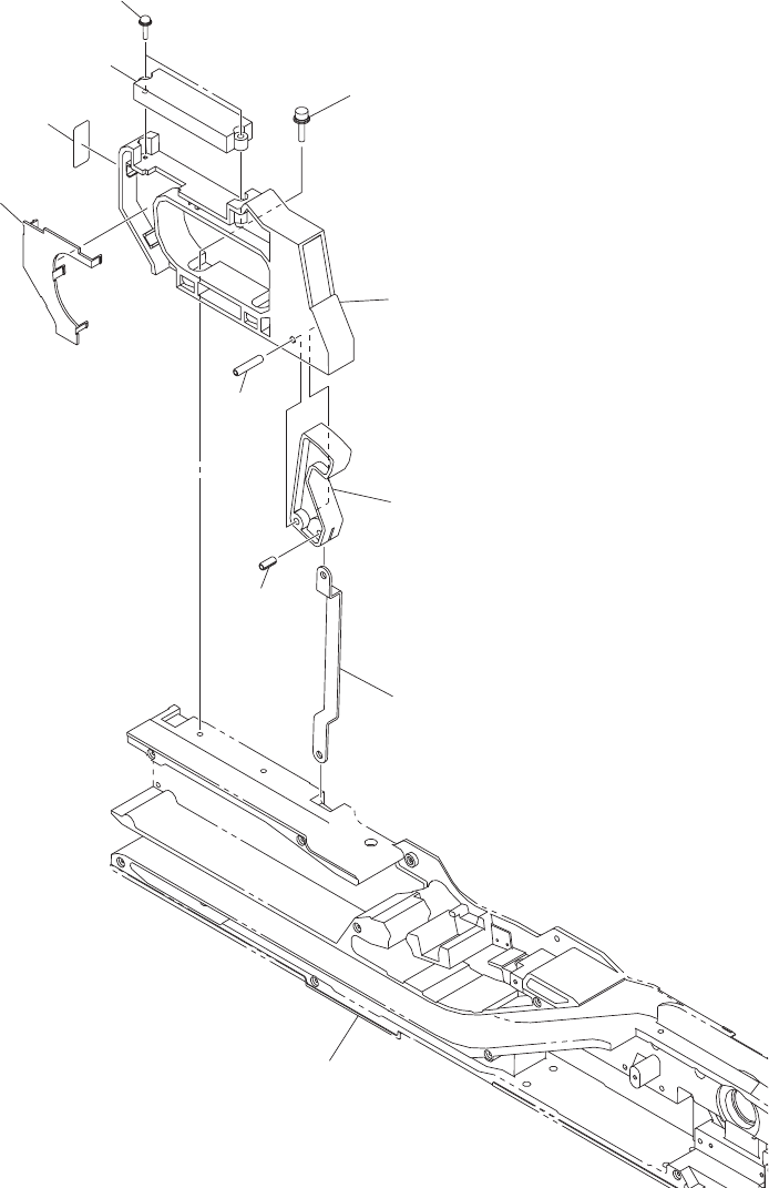
0409-002 46 テープフィーダ T APE FEEDER GT -24320 GT -24320 Fig. P-5 操作パネル部 Operation Panel Section 431 405 438 436 404 407 408 406 439 440 442 445 See Fig.P-1 Key No.1 . .

Key No. PART No. PART NAME Q’ty
REMARKS
NOTE
0612-003
45
P-4
GT-24320
303 630 151 3089 LEVER(SUP) 1 804P--110-303
307 630 132 9499 PIN,HINGE(SUP) 1 804P--110-307
309 630 128 6822 SPRING,TORSION 1 804P--110-309
312 630 127 9602 ASSY,HOOK 1 804P--110-312
313 630 129 2793 PIN,HINGE(FRONT) 1 804P--110-313
314 630 127 5406 SPRING,COMP 1 804P--110-314
316 630 127 9657 CHUTE(SUPPORT) 1 804P--110-316
317 630 127 5437 PIN,LOCATE(CHUTE) 2 804P--110-317
318 630 127 5444 MACHINE SCREW 1 804P--110-318
319 630 127 5451 PIN,LOCATE 2 804P--110-319
320 630 127 9664 PLATE(SUP) 1 804P--110-320
321 630 129 2861 MACHINE SCREW 2 804P--110-321
323 630 008 2296 SET SCREW 1 804P--110-323
325 630 000 7510 BOLT,HEX-SCT 2 804P--110-325
326 411 141 2806 WASHER SPR 3 2 804P--110-326
327 411 141 3902 WASHER V 3X7X0.5 2 804P--110-327
328 411 016 0203 RING E 2.5 2 804P--110-328
329 630 130 2317 NAME PLATE 1 804P--110-329
330 411 000 9304 RING E 2 1 804P--110-330
331 630 132 9208 WASHER 1 804P--110-331
332 411 033 5700 SCR FLT 2.5X6 1 804P--110-332
333 630 149 7686 CHUTE 1 804P--110-052

0409-002
46
テープフィーダ
TAPE FEEDER
GT-24320 GT-24320
Fig. P-5
操作パネル部
Operation Panel Section
431
405
438
436
404
407
408
406
439
440
442
445
See Fig.P-1
Key No.1
.
.

Key No. PART No. PART NAME Q’ty
REMARKS
NOTE
0612-003
47
P-5
GT-24320
404 630 148 8455 P.C.B,MOUNT 1 #TMA004Z-7 804P--110-504
405 630 127 4836 LINK(KAIJYO) 1 804P--110-015
406 630 126 5872 LEVER(GRIP) 1 804P--110-016
407 630 126 5919 GRIP 1 804P--110-017
408 630 126 5728 COVER(GRIP) 1 804P--110-018
431 630 000 7657 BOLT,HEX-SCT 2 804P--110-031
436 411 115 1507 SCR TPG PAN 3X12 2 804P--110-036
438 630 001 0336 SPRING PIN 1 804P--110-038
439 630 118 0038 SPRING PIN 1 804P--110-039
440 411 141 2905 WASHER SPR 4 2 804P--110-040
442 411 141 4008 WASHER V 4X9X0.8 2 804P--110-042
445 630 143 4339 NAME PLATE,INDEX 1 804P--110-045