GXH-1S Feeder.pdf - 第67页
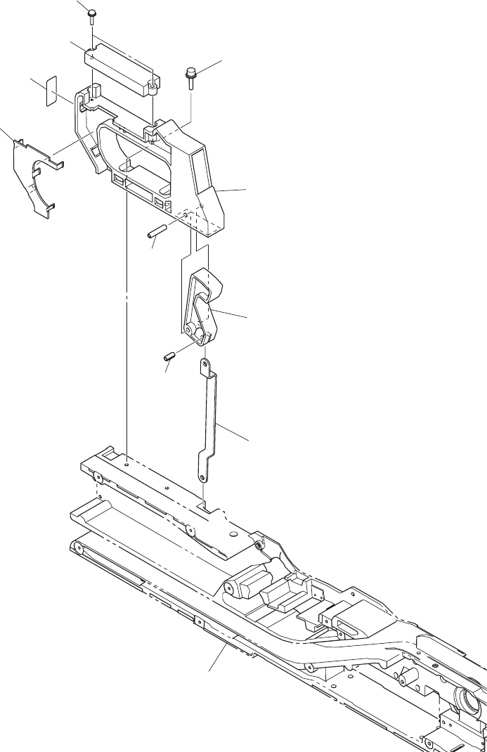
Key No. P AR T No. P AR T NAME Q’ty REMARKS NOTE 0612-003 65 GT -44560 Q-5 404 630 148 8455 P .C.B,MOUNT 1 #TMA004Z-7 804Q--010-504 405 630 127 4836 LINK(KAIJYO) 1 804Q--010-015 406 630 126 5872 LEVER(GRIP) 1 804Q--010-0…

0406-001
64
テープフィーダ
TAPE FEEDER
GT-44560 GT-44560
Fig. Q-5
操作パネル部
Operation Panel Section
431
405
438
436
404
407
408
406
439
440
442
445
See Fig.Q-1
Key No.1
.
.

Key No. PART No. PART NAME Q’ty
REMARKS
NOTE
0612-003
65
GT-44560
Q-5
404 630 148 8455 P.C.B,MOUNT 1 #TMA004Z-7 804Q--010-504
405 630 127 4836 LINK(KAIJYO) 1 804Q--010-015
406 630 126 5872 LEVER(GRIP) 1 804Q--010-016
407 630 126 5919 GRIP 1 804Q--010-017
408 630 126 5728 COVER(GRIP) 1 804Q--010-018
431 630 000 7657 BOLT,HEX-SCT 2 804Q--010-031
436 411 115 1507 SCR TPG PAN 3X12 2 804Q--010-036
438 630 001 0336 SPRING PIN 1 804Q--010-038
439 630 118 0038 SPRING PIN 1 804Q--010-039
440 411 141 2905 WASHER SPR 4 2 804Q--110-040
442 411 141 4008 WASHER V 4X9X0.8 2 804Q--110-042
445 630 143 4339 NAME PLATE,INDEX 1 804Q--110-045

0409-002
66
テープフィーダ
TAPE FEEDER
GT-44560 GT-44560
Fig. Q-6
モーターコントロール基板
Motor Control P.C.B.
506
See Fig.Q-3
Key No.247
508
See Fig.Q-2
Key No.140
See Fig.Q-3
Key No.221
See Fig.Q-
5
Key No.404
516
516
516
501
505
502
503
See Fig.Q-1
Key No.2
VIEW "A"
A