GXH-1S Feeder.pdf - 第83页
Key No. P AR T No. P AR T NAME Q’ty REMARKS NOTE 0612-003 81 GT -72000 T -4 303 630 151 3102 LEVER(LEVER) 1 804T --1 10-303 307 630 132 4852 PIN,HINGE(SUP) 1 804T --1 10-307 309 630 131 5447 SPRING,TORSION 1 804T --1 10-…

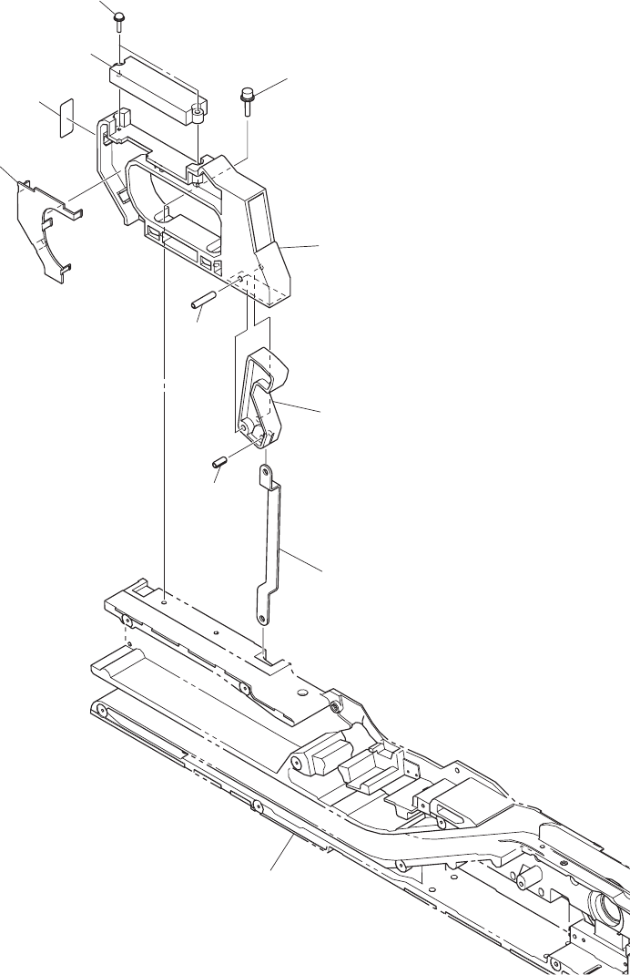
0601-003
80
テープフィーダ
TAPE FEEDER
GT-72000 GT-72000
Fig. T-4
サプレッサ部
Suppressor Section
See Fig.T-1
Key No.1
See Fig.T-1
Key No.52
328
323
307
303
314
312
309
319
319
313
329
331
332

Key No. PART No. PART NAME Q’ty
REMARKS
NOTE
0612-003
81
GT-72000
T-4
303 630 151 3102 LEVER(LEVER) 1 804T--110-303
307 630 132 4852 PIN,HINGE(SUP) 1 804T--110-307
309 630 131 5447 SPRING,TORSION 1 804T--110-309
312 630 132 4869 ASSY,HOOK(FRONT HOOK) 1 804T--110-312
313 630 129 2793 PIN,HINGE(FRONT) 1 804T--110-313
314 630 127 5406 SPRING,COMP 1 804T--110-314
319 630 127 5451 PIN,LOCATE 2 804T--110-319
323 630 008 2296 SET SCREW 1 804T--110-323
328 411 016 0203 RING E 2.5 2 804T--110-328
329 630 131 5423 NAME PLATE 1 804T--110-329
331 630 132 9208 WASHER 1 804T--110-331
332 411 033 5700 SCR FLT 2.5X6 1 804T--110-332

0409-001
82
テープフィーダ
TAPE FEEDER
GT-72000 GT-72000
Fig. T-5
操作パネル部
Operation Panel Section
431
405
438
436
404
407
408
406
439
440
442
445
See Fig.T-1
Key No.1
.
.