RL132维修手册 - 第104页
RL132 维修手册 4.2 气动控制 DA9MCC-14-030-A0 4.2-3 插件部

RL132
维修手册
4.2 气动控制
DA9MCC-14-030-A0
4.2-2
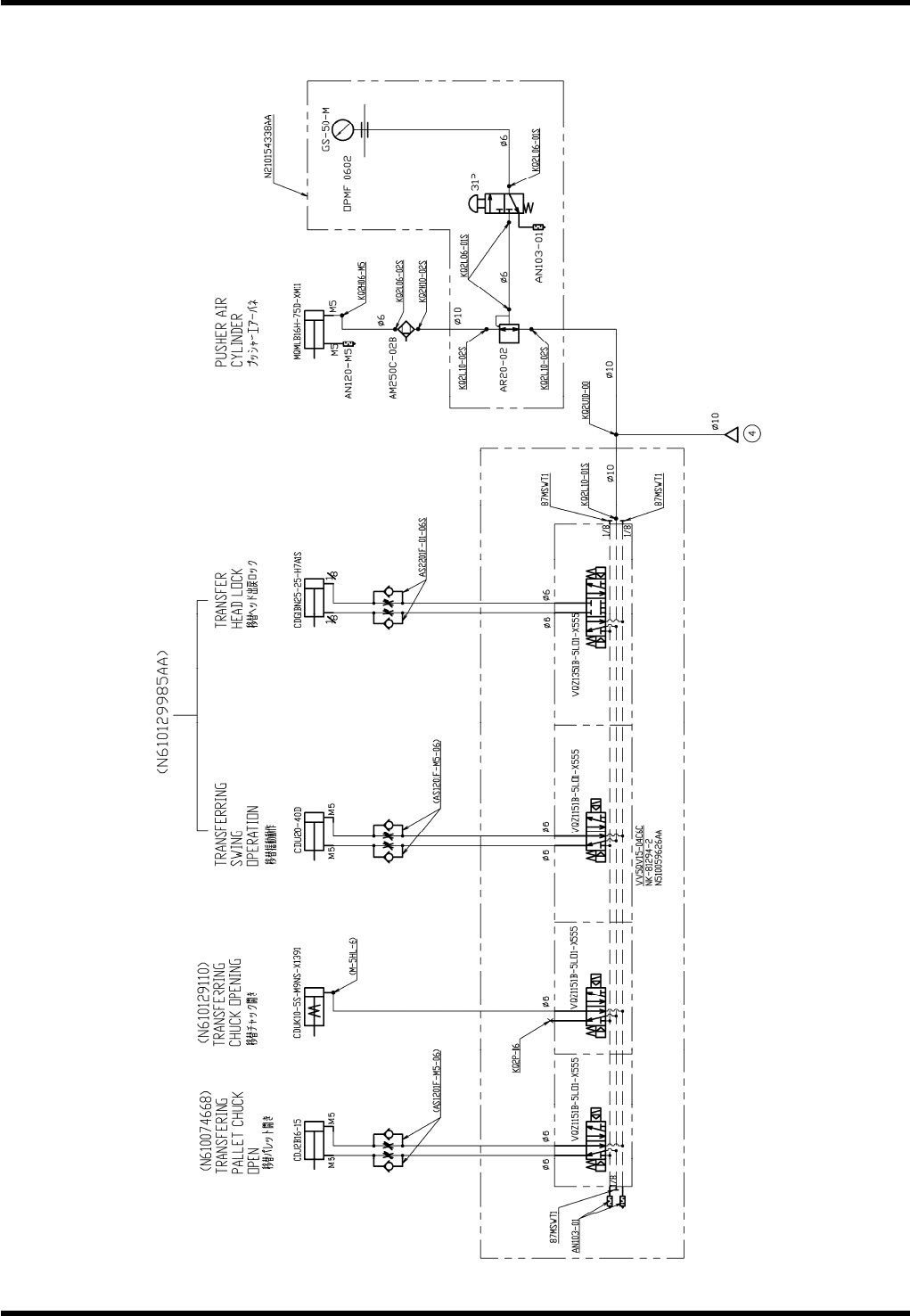
4.2.2 气动线路图

RL132
维修手册
4.2 气动控制
DA9MCC-14-030-A0
4.2-3
插件部

RL132
维修手册
4.2 气动控制
DA9MCC-14-030-A0
4.2-4
元件供给部
RL132 维修手册 4.2 气动控制 DA9MCC-14-030-A0 4.2-3 插件部


