00193937-02 - 第178页
4 셋업 및 작동 사용자 매뉴얼 SIPLACE HF 시리즈 4.5 실장기 셋업 소프트웨어 버전 SR.505.xx 2004 년 7 월 미국판 178 "HS50" 장비 다리를 스 페 이서 아래 있는 구 멍 에 나 사로 고정시키 십 시오 . 스 페 이서 두 개를 다 음 과 같 이 배정하 십 시오 . – 압축 공기 장치 쪽 에 있는 스 페 이서의 구 멍 이 PCB 전송 방 …

사용자 매뉴얼 SIPLACE HF 시리즈 4 셋업 및 작동
소프트웨어 버전 SR.505.xx 2004 년 7 월 미국판 4.5 실장기 셋업
177
"HS50" 장비 다리를 스페이서 아래 있는 구멍에 나사로 고정시키십시오 .
스페이서 두 개를 장비 아래 다음과 같이 배정하십시오 .
– 압축 공기 장치 쪽에 있는 스페이서의 구멍이 PCB 전송 방향을 향하도록 합니다(174
페이
지 그림 4.5 - 2
의 4 번 지점 ).
– 전원공급장치 쪽에 있는 스페이서의 구멍은 PCB 전송 방향의 반대쪽을 향하도록 합니다
(174
페이지 그림 4.5 - 2 의 3 번 지점 ).
10mm 드라이버 비트로와 6 각형 나사 M12x80 4개를 사용하여 스페이서를 고정하십시오 ( 그
림 4.5 - 3
의 4 번 지점 참조).
PCB 전송 높이를 930mm 및 950mm 로 설정 4
PCB 전송 높이가 930mm 및 950mm 인 경우에도 스페이서가 필요합니다.
스페이서의 122.5 mm 쪽이 수직이 되도록 하고 "HS50" 장비 다리를 고정할 구멍이 아래를
향하도록 합니다.
4
그림 4.5 - 4 전송 높이가 930mm 및 950mm 인 경우의 스페이서 정렬
4
(1) 스페이서 높이 122.5mm
(2) "HS50" 장비 다리
(3) M24 잠금 너트
(4) 6 각형 나사 M12x80 4 개
122.5 mm

4 셋업 및 작동 사용자 매뉴얼 SIPLACE HF 시리즈
4.5 실장기 셋업 소프트웨어 버전 SR.505.xx 2004 년 7 월 미국판
178
"HS50" 장비 다리를 스페이서 아래 있는 구멍에 나사로 고정시키십시오 .
스페이서 두 개를 다음과 같이 배정하십시오 .
– 압축 공기 장치 쪽에 있는 스페이서의 구멍이 PCB 전송 방향을 향하도록 합니다(174
페이
지 그림 4.5 - 2
의 4 번 지점 ).
– 전원공급장치 쪽에 있는 스페이서의 구멍은 PCB 전송 방향의 반대쪽을 향하도록 합니다
(174
페이지 그림 4.5 - 2 의 3 번 지점 ).
10mm 드라이버 비트로와 6 각형 나사 M12x80 4 개를 사용하여 스페이서를 고정하십시오( 그
림 4.5 - 4
의 4 번 지점 참조).
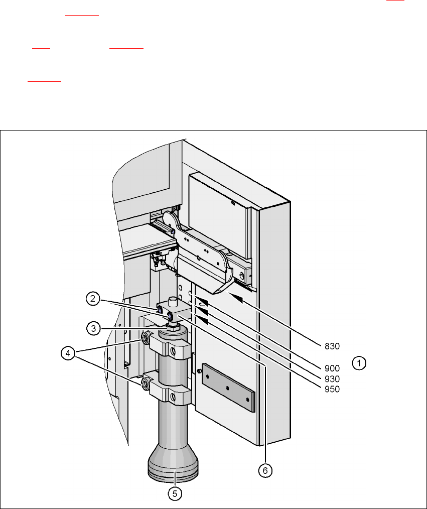
4.5.4.2 장비 다리 높이 사전 설정
4
그림 4.5 - 5 장비 다리 높이 사전 설정

사용자 매뉴얼 SIPLACE HF 시리즈 4 셋업 및 작동
소프트웨어 버전 SR.505.xx 2004 년 7 월 미국판 4.5 실장기 셋업
179
19mm 비트를 사용하여 6 각형 나사 M24x90( 그림 4.5 - 5 의 항목 4) 2 개를 풀어야 장비 다
리(그림 4.5 - 5
의 항목 5) 가 천천히 풀립니다.
14mm 비트를 사용하여 6 각형 나사 M16x90( 그림 4.5 - 5 의 항목 2) 2 개를 풀고 높이 조절
블록 (그림 4.5 - 5
의 항목 6) 을 분리하십시오 .
블록 양쪽으로 나온 나사산의 길이가 동일해질 때까지 끝이 벌어진 36 크기 스패너를 사용하
여 6 각형 나사 M24x80( 그림 4.5 - 5
의 항목 6) 을 블록 안팎으로 조이십시오 .
6 각형 나사 M16x90( 항목 2) 2 개를 사용하여 높이 조절 블록 (그림 4.5 - 5 의 항목 6) 을
830mm, 930mm, 950mm 중 올바른 높이에 고정하십시오 .
장비 다리 각각의 높이를 정하십시오 .
이제 지게차를 사용하여 장비 다리가 바닥에 고르게 닿을 때까지 실장기를 조심스럽게 내려
놓습니다 . 장비를 내려놓는 동안 다른 한 명이 장비가 안정적인 상태를 유지할 수 있도록 지
켜보아야 합니다 . 장비 다리 클램프를 조금 풀어야 하는 경우도 있습니다.
장비 다리가 높이 조절용 6 각형 나사 M24x80( 항목 3) 에 닿을 때까지 장비를 내립니다.
"HS50" 장비 다리(그림 4.5 - 2의 2번 지점 ) 는 아직 바닥에 닿지 않도록 해야 합니다. 필요한
경우 "HS50" 장비 다리를 장비나 스페이서에 약간 조이십시오 .