00193937-02 - 第209页
사용자 매뉴얼 SIPLACE HF 시리즈 4 셋업 및 작동 소프트웨어 버전 SR.505.xx 2004 년 7 월 미국판 4.5 실장기 셋업 209 4.5.15 실장기 최종 조 절 장비의 수 평 계를 X 및 Y 방 향 의 실장 영 역 1 에 있는 PCB 컨베이어의 패널 위에 올려 놓 으 십 시오 ( 그 림 4.5 - 21 참 조 ). PCB 컨베이어 폭은 기 본 값 136 mm 로 설정 되…

4 셋업 및 작동 사용자 매뉴얼 SIPLACE HF 시리즈
4.5 실장기 셋업 소프트웨어 버전 SR.505.xx 2004 년 7 월 미국판
208
4.5.14.3 라인과 관련하여 실장기 배열
지게차를 사용하여 라인 상의 빈 공간에 실장기를 놓으십시오 .
경고 4
실장기를 천천히 내려놓으십시오 . 다른 한 명이 아래 부분을 지켜보아 장비 다리가 모두 동
시에 바닥에 닿을 수 있도록 하는 것이 좋습니다. 어느 한 쪽의 장비 다리가 바닥에 세게 닿
으면 장비가 손상될 우려가 있습니다.
4
4.5.14.4 에어쿠션 전송 시스템과 함께 실장기를 배열
에어쿠션 전송 시스템의 에어쿠션 4 개를 장비 프레임 밑에 놓으십시오 .
실장기를 들어올려 라인에 맞게 배열하십시오 .
인접 장비의 PCB 컨베이어 시스템과의 거리를 확인하십시오 . 거리가 1mm 와 3mm 사이이어
야 합니다.
실장기를 내려놓으십시오 .
4
그림 4.5 - 20 에어쿠션 전송 시스템의 접촉 위치
(1) 에어쿠션 전송 시스템의 접촉 위치

사용자 매뉴얼 SIPLACE HF 시리즈 4 셋업 및 작동
소프트웨어 버전 SR.505.xx 2004 년 7 월 미국판 4.5 실장기 셋업
209
4.5.15 실장기 최종 조절
장비의 수평계를 X 및 Y 방향의 실장 영역 1 에 있는 PCB 컨베이어의 패널 위에 올려 놓으십
시오 ( 그림 4.5 - 21
참조 ). PCB 컨베이어 폭은 기본값 136mm 로 설정되어 있습니다.
참고 4
이중 컨베이어의 경우 , 수평계를 X 방향 조절을 위해 장비의 바깥 쪽 패널에만 올려놓으십
시오 .
PCB 컨베이어의 상단 끝과 바닥 사이의 거리를 측정하십시오 . 이 거리는 800mm, 900mm,
930mm, 950mm 중 하나이어야 합니다.
4
그림 4.5 - 21 실장기를 X 및 Y 방향으로 조절
4
4
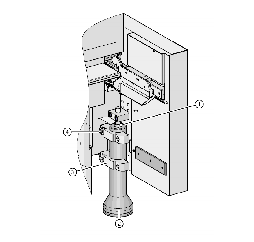
끝이 벌어진 스패너로 6 각형 나사 M24x80( 그림 4.5 - 22 의 항목 1) 을 조절하여 장비 수평계
에 있는 레이블이 올바른 PCB 전송 높이의 영점에서 벗어나지 않도록 하십시오 .

4 셋업 및 작동 사용자 매뉴얼 SIPLACE HF 시리즈
4.5 실장기 셋업 소프트웨어 버전 SR.505.xx 2004 년 7 월 미국판
210
4
그림 4.5 - 22 장비 다리 높이 조절
(1) 높이 조절용 6 각형 나사 M24x80
(2) 장비 다리
(3) 클램프
(4) M24x90 6 각형 나사
올바른 PCB 전송 높이를 확인하십시오 .
실장기를 배열했으면 크기 19 앨런키로 6 각형 나사 M24x90( 위치 4) 을 조여 장비 다리 ( 항목
3) 에 클램프를 고정시키십시오 .
바닥에 견고하게 자리잡을 때까지 "HS50" 장비 다리의 나사를 푸십시오 .
장비를 더 이상 조절할 수 없을 정도로 "HS50" 장비 다리의 나사를 풀어서는 안됩니다.