00193937-02 - 第259页
사용자 매뉴얼 SIPLACE HF 시리즈 6 컴포넌트 취 급 소프트웨어 버전 SR.505.xx 2004 년 7 월 미국판 6.2 피더에 대한 기술 정보 259 6.2.17 와 플 팩 트레이 지지대 ( 수동 트레이 ) 와 플 팩 트레이 지지대가 있어서 개 별 와 플 팩 트레이에서 컴포넌트를 픽업할 수 있 습니 다. 와 플 팩 트레이는 수동으로 변경 합니 다. 6 그림 6.2 - 17 설치 (1…

6 컴포넌트 취급 사용자 매뉴얼 SIPLACE HF 시리즈
6.2 피더에 대한 기술 정보 소프트웨어 버전 SR.505.xx 2004 년 7 월 미국판
258
에게 컴포넌트를 떼어내라고 지시하는 메시지가 모니터에 나타납니다.
6.2.16.2 시스템 요구 사항
컴포넌트 처리 모듈을 사용하려면 다음 시스템 요구 사항이 충족되어야 합니다.
SIPLACE Pro 컴퓨터 소프트웨어 버전 V 2.0 이상
스테이션 컴퓨터 소프트웨어 버전 V 505.xx 이상
참고 :
컴포넌트 처리 모듈은 SIPLACE Pro 컴퓨터에서 구성하고 스테이션 컴퓨터에서 작동시켜야 합
니다. 6
6.2.16.3 컴포넌트 처리 모듈을 사용하여 컴포넌트를 처리하기 위한 조건
다음과 같은 조건이 충족된다면 컴포넌트를 처리 모듈에 실장할 수 있습니다.
– 처리할 수 있는 컴포넌트 유형이 SIPLACE Pro 컴퓨터 상의 셋업에 포함되어야 합니다.
– 컴포넌트는 반환을 위해 분간할 수 있어야 합니다.
– 트레이에서 픽업한 컴포넌트를 분리하려면 이들을 다시 트레이에 실장하십시오 . 딥 모듈에서
용매로 적신 컴포넌트만 컴포넌트 처리 모듈에 실장하여 분리할 수 있습니다.

사용자 매뉴얼 SIPLACE HF 시리즈 6 컴포넌트 취급
소프트웨어 버전 SR.505.xx 2004 년 7 월 미국판 6.2 피더에 대한 기술 정보
259
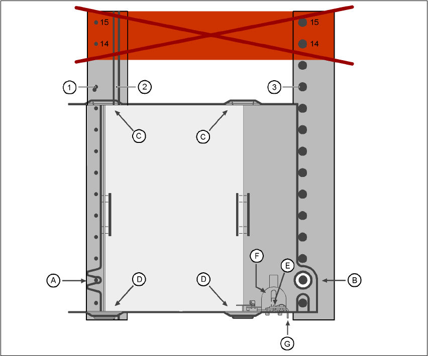
6.2.17 와플 팩 트레이 지지대 ( 수동 트레이 )
와플 팩 트레이 지지대가 있어서 개별 와플 팩 트레이에서 컴포넌트를 픽업할 수 있습니다. 와
플 팩 트레이는 수동으로 변경합니다.
6
그림 6.2 - 17 설치
(1) 센터링 핀
(2) 자기 레일
(3) 센터링 볼
(14), (15) 이 위치는 비어있어야 합니다.
와플 팩 트레이의 지지대는 컨베이어와 같이 컴포넌트 피더 테이블에 실장합니다 . 지지대에는
두 가지 버전이 있는데 , 서로 폭만 다릅니다.
대형 와플 트레이 지지대 (260x360mm², 9 군데 차지)
품목 번호 : 00116430-01 6
소형 와플 트레이 지지대 (136x360mm², 5 군데 차지)
품목 번호 : 00116432-01 6

6 컴포넌트 취급 사용자 매뉴얼 SIPLACE HF 시리즈
6.2 피더에 대한 기술 정보 소프트웨어 버전 SR.505.xx 2004 년 7 월 미국판
260
참고
– 수동 트레이는 다음 위치에 설치할 수 있습니다.
HF 실장기 : 위치 2 와 4
HF/3 실장기 : 위치 2
컴포넌트 테이블 상의 피더 위치 14 와 15 는 비어있어야 합니다 ..
– 수동 트레이와 노즐 체인저는 위치 4 에서 동시에 사용할 수 없습니다.
– 컴포넌트 트롤리는 트레이가 장착되어 있을 경우에는 밀어넣거나 끌어낼 수 없습니다.
6.2.17.1 조립
와플 팩 트레이 지지대의 전면을 해당 센터링 핀에 삽입하십시오 ( 그림 6.2 - 17 의 A).
그런 다음 와플 팩 트레이 지지대의 후면에 있는 구멍을 컴포넌트 피더 테이블에 있는 센터링
볼에 맞추십시오(그림 6.2 - 17
의 B).
와플 팩 트레이는 컴포넌트 피더 테이블에 단단히 고정시켜야 합니다.
와플 팩 트레이 캐리어의 한 쪽 면을 장착대에 맞추십시오 ( 그림 6.2 - 17 의 C). 그리고 나서
다른 쪽을 장착대로 누르십시오 ( 그림 6.2 - 17
의 D).
와플 팩 트레이를 멈출 때까지 위로 밀어올리십시오(그림 6.2 - 17 의 E).
트러스트 패드를 아래로 눌러 와플 팩 트레이 캐리어를 고정시키십시오 ( 그림 6.2 - 17 의 F).
와플 팩 트레이 캐리어를 분리하려면 트러스트 패드를 다시 한 번 누르십시오 .
참고
소형 와플 팩 트레이 (136mm) 를 사용하면 와플 팩 트레이 (JEDEC 또는 CENELEC 와플 팩 트
레이 ) 를 지지대에 직접 , 즉 , 와플 팩 트레이 캐리어를 사용하지 않고 장착할 수 있습니다. 하지
만 트러스트 패드는 변경해야 합니다. 6
경고 6
작동 신뢰성을 보장하기 위해 모든 위치에는 피더를 장착해야 합니다.
피더가 충분하지 않을 경우 , 피더가 없는 곳에는 핸드 가드 ( 더미 피더)가 장착되어 있어야 합
니다. 와플 팩 트레이 ( 수동 트레이 ) 한 개가 설치되어 있으면 나머지 곳들은 다시 핸드가드로
보호해야 합니다.