00193937-02 - 第290页
7 스 테 이션 확 장 사용자 매뉴얼 SIPLACE HF 시리즈 7.1 노즐 체인저 소프트웨어 버전 SR.505.xx 2004 년 7 월 미국판 290 7.1.1.9 "2 열 " 노즐 체인저용 조립 키트 "2 열 " 노즐 체인저는 다 음 과 같은 위치에 설치 할 수 있 습니 다. HF 실장기 : 위치 1 과 3( 282 페 이지의 그 림 7.1 - 2 참 …

사용자 매뉴얼 SIPLACE HF 시리즈 7 스테이션 확장
소프트웨어 버전 SR.505.xx 2004 년 7 월 미국판 7.1 노즐 체인저
289
참고
센터링 핀이 센터링 구멍 ( 항목 3) 및 슬롯 ( 항목 4) 안으로 들어갈 수 있도록 매거진을 삽입했
는지 확인합니다. 7
먼저 1~4번 노즐이 있는 매거진의 옆쪽을 바닥에 위치시킵니다. 고정 클램프(항목 2)가 매거
진의 슬롯 안에 끼워져야 합니다.
스프링 훅을 눌러 매거진으로부터 벗겨냅니다.
매거진을 눌러 바닥과 평행하게 눕힌 후 누르고 있던 스프링 훅을 놓습니다. 스프링 훅이 잠
깁니다.
7.1.1.8 위치 탐지
노즐 체인저의 각 매거진에는 위치 탐지를 위한 포지셔닝 피듀셜이 있습니다.
7
그림 7.1 - 7 노즐 체인저 - 위치 탐지
(1) 포지셔닝 피듀셜
(2) 포지셔닝 피듀셜에 대한 노즐의 매거진 안 위치

7 스테이션 확장 사용자 매뉴얼 SIPLACE HF 시리즈
7.1 노즐 체인저 소프트웨어 버전 SR.505.xx 2004 년 7 월 미국판
290
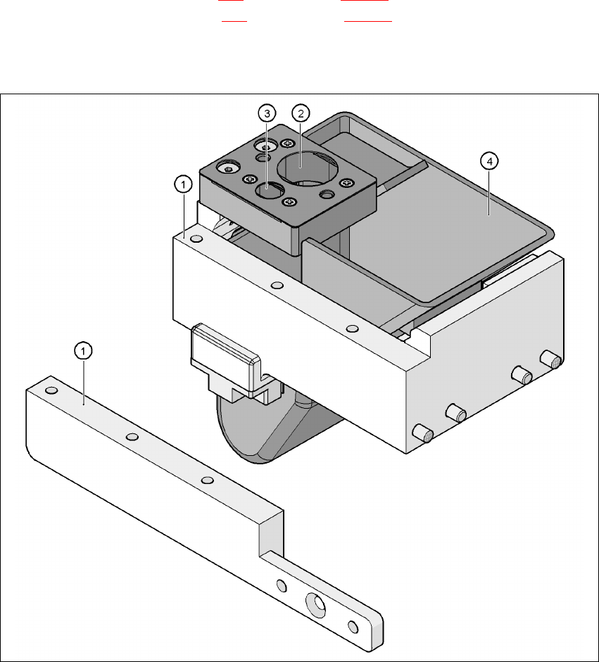
7.1.1.9 "2 열 " 노즐 체인저용 조립 키트
"2 열 " 노즐 체인저는 다음과 같은 위치에 설치할 수 있습니다.
HF 실장기 : 위치 1 과 3(282
페이지의 그림 7.1 - 2 참조)
HF/3 실장기 : 위치 1, 3, 4(283
페이지의 그림 7.1 - 3 참조)
개장 패키지에는 노즐 체인저 외에도 조립 키트 및 리젝트 빈이 있는 노즐 분리 장치가 들어있습
니다.
7
그림 7.1 - 8 "2 열 " 노즐 체인저용 조립 키트
(1) "2 열 " 노즐 체인저용 조립 키트
(2) 8xx 노즐용 노즐 분리 장치
(3) 9xx 노즐용 노즐 분리 장치
(4) 노즐 리젝트 빈

사용자 매뉴얼 SIPLACE HF 시리즈 7 스테이션 확장
소프트웨어 버전 SR.505.xx 2004 년 7 월 미국판 7.1 노즐 체인저
291
7.1.2 6 세그먼트 Collect&Place 헤드용 노즐 체인저
이 노즐 체인저에는 매거진을 최대 6 개까지 장착할 수 있으며 이 매거진 각각에는 노즐 홀더 6
개가 있습니다. 사용할 수 있는 매거진에는 두 가지 종류 ( 8xx 노즐용 매거진과 9xx 노즐용 매
거진 )가 있습니다. 매거진의 장착은 공통적인 지원사항입니다. 매거진은 평행 핀 두 개를 사용
하여 중심에 위치하며 클립을 통해 고정됩니다.
7
그림 7.1 - 9 6- 세그먼트 Collect&Place 헤드용 노즐 체인저
7.1.2.1 기술 정보
7
6- 세그먼트 Collect&Place 헤드용 노즐 체인저
크기 (L x W x H) 448 x 122.5 x 97.7mm³
노즐 홀더 개수 6
노즐 유형 8 xx, 9 xx
고정판을 열고 닫는데 걸리는 시간 <200ms
압축 공기 연결 0.48MPa(4.8 바 )