00193937-02 - 第300页
7 스 테 이션 확 장 사용자 매뉴얼 SIPLACE HF 시리즈 7.1 노즐 체인저 소프트웨어 버전 SR.505.xx 2004 년 7 월 미국판 300 7.1.2.9 "2 열 " 노즐 체인저용 조립 키트 "2 열 " 노즐 체인저는 다 음 과 같은 위치에 설치 할 수 있 습니 다. HF 실장기 : 위치 1 과 3( 292 페 이지의 그 림 7.1 - 10 참…

사용자 매뉴얼 SIPLACE HF 시리즈 7 스테이션 확장
소프트웨어 버전 SR.505.xx 2004 년 7 월 미국판 7.1 노즐 체인저
299
7.1.2.8 위치 탐지
노즐 체인저의 각 매거진에는 위치 탐지를 위한 포지셔닝 피듀셜이 있습니다.
7
그림 7.1 - 15 노즐 체인저 - 위치 탐지
(1) 포지셔닝 피듀셜
(2) 포지셔닝 피듀셜에 대한 노즐의 매거진 안 위치

7 스테이션 확장 사용자 매뉴얼 SIPLACE HF 시리즈
7.1 노즐 체인저 소프트웨어 버전 SR.505.xx 2004 년 7 월 미국판
300
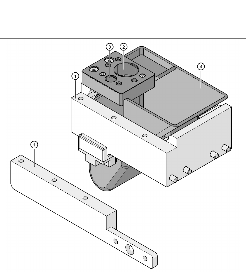
7.1.2.9 "2 열 " 노즐 체인저용 조립 키트
"2 열 " 노즐 체인저는 다음과 같은 위치에 설치할 수 있습니다.
HF 실장기 : 위치 1 과 3(292
페이지의 그림 7.1 - 10 참조)
HF/3 실장기 : 위치 1, 3, 4(293
페이지의 그림 7.1 - 11 참조)
개장 패키지에는 노즐 체인저 외에도 조립 키트 및 리젝트 빈이 있는 노즐 분리 장치가 들어있습
니다.
7
그림 7.1 - 16 두 번째 노즐 체인저용 조립 키트
(1) "2 열 " 노즐 체인저용 조립 키트
(2) 8xx 노즐용 노즐 분리 장치
(3) 9xx 노즐용 노즐 분리 장치
(4) 노즐 리젝트 빈

사용자 매뉴얼 SIPLACE HF 시리즈 7 스테이션 확장
소프트웨어 버전 SR.505.xx 2004 년 7 월 미국판 7.1 노즐 체인저
301
7.1.3 SIPLACE TWIN 헤드용 노즐 체인저
이 노즐 체인저에는 노즐 매거진을 최대 12 개까지 장착할 수 있습니다. 사용할 수 있는 매거진
에는 두 가지 종류( 기본 매거진 및 특수 노즐 또는 그리퍼용 매거진 )가 있습니다. 매거진의 장
착은 공통적인 지원사항입니다. 매거진은 평행 핀 두 개를 사용하여 센터링하고 원추형 나사 두
개를 사용하여 해당 위치에 고정합니다.
7
그림 7.1 - 17 SIPLACE TWIN 헤드용 노즐 체인저
7
7
7.1.3.1 기술 정보
7
SIPLACE TWIN 헤드용 노즐 체인저
크기 (L x W x H) 448 x 68.5 x 49mm³
노즐 홀더 개수 기본 노즐의 경우 16 개
특수 노즐 또는 그리퍼의 경우 4 개
노즐 유형 5xx, 기본
4 xx( 어댑터 포함 )
9 xx( 어댑터 포함 )
노즐 전환 시간 <2 초