NPM-W2 20170725.pdf - 第243页
Ref No. Remarks R 1 Q'ty 9 交換台車ガイド部(前側):NPM-W Feeder Cart Guide(Front Side):NPM -W イラスト No. Part No. 品 名 品 番 数量 R 2 パーツリスト Kit No. キット品番 Kit Name キット名称 N610120771AA Part Nam e 備 考 セク ショ ンNo . PARTS LIST Section No. …

9
交換台車ガイド部(前側):NPM-W
Feeder Cart Guide(Front Side):NPM-W
パーツレイアウト
Kit No.
キット品番
Kit Name
キット名称
N610120771AA
セクションNo.
PARTS LAYOUT
Section No.
--
O37
( KN610120771AA-07 )

Ref
No.
Remarks R
1
Q'ty
9
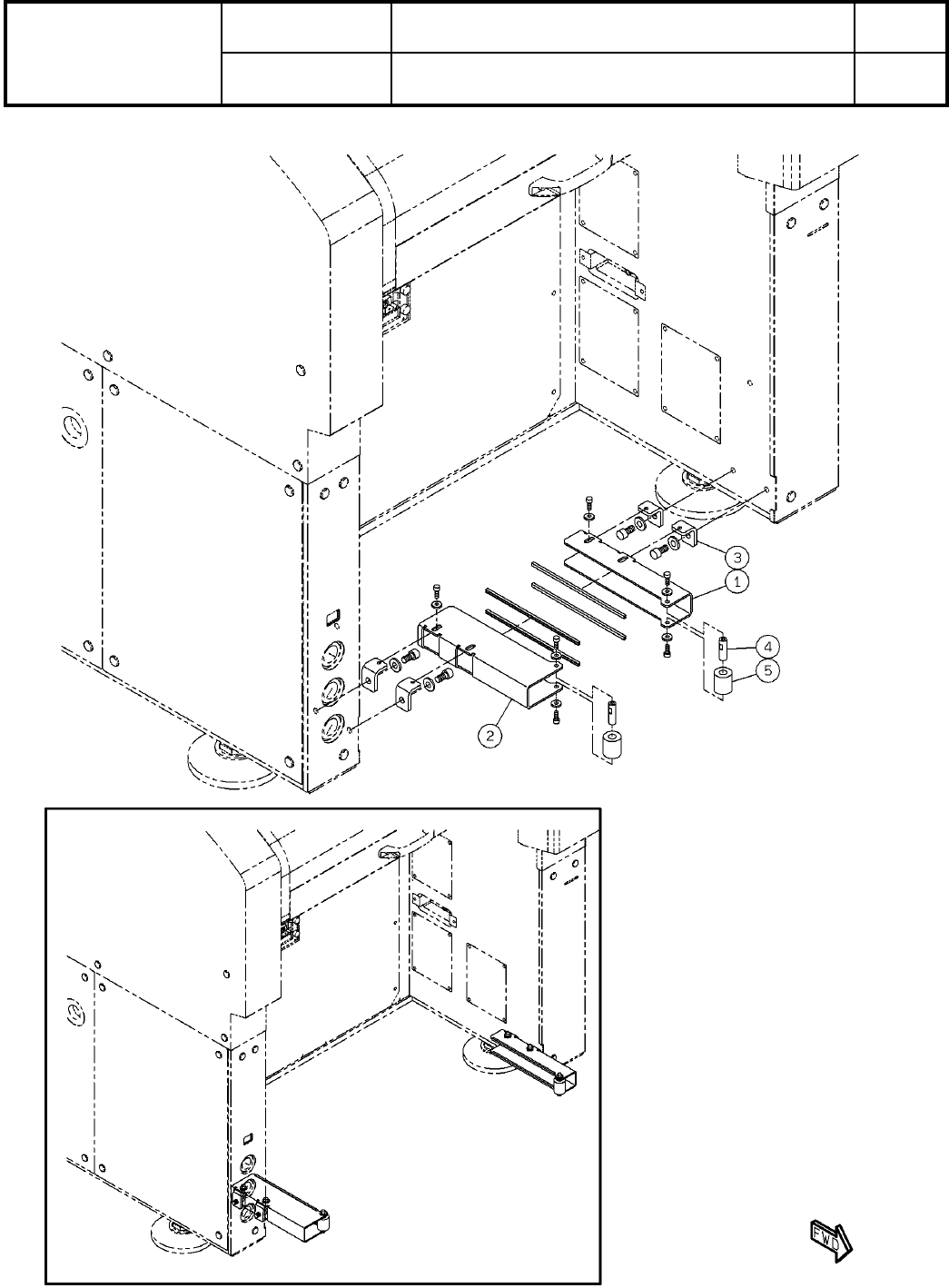
交換台車ガイド部(前側):NPM-W
Feeder Cart Guide(Front Side):NPM-W
イラスト
No.
Part No.
品 名品 番 数量
R
2
パーツリスト
Kit No.
キット品番
Kit Name
キット名称
N610120771AA
Part Name
備 考
セクションNo.
PARTS LIST
Section No.
R
3
BRACKET
1
1 N210153442AA
BRACKET
1
2 N210153443AA
BRACKET
4
3 N210153444AA
POST
2
4 N210160041AB
COLLAR
2
5 N210160051AA
O38
--
( KN610120771AA-07 )

10
Y軸ストッパ(標準交換台車仕様):NPM-W
Y axis stopper for standard cart:NPM-W
パーツレイアウト
Kit No.
キット品番
Kit Name
キット名称
N610122037AA
セクションNo.
PARTS LAYOUT
Section No.
--
O39
( KN610122037AA-01 )