NPM-W2 20170725.pdf - 第473页
Ref No. Remarks R 1 Q'ty 75-B 部品排出コンベア:NPM Component Eject Convey or:NPM イラスト No. Part No. 品 名 品 番 数量 R 2 パーツリスト Kit No. キット品番 Kit Name キット名称 N610090811AA Part Nam e 備 考 セク ショ ンNo . PARTS LIST Section No. R 3 PULLEY…

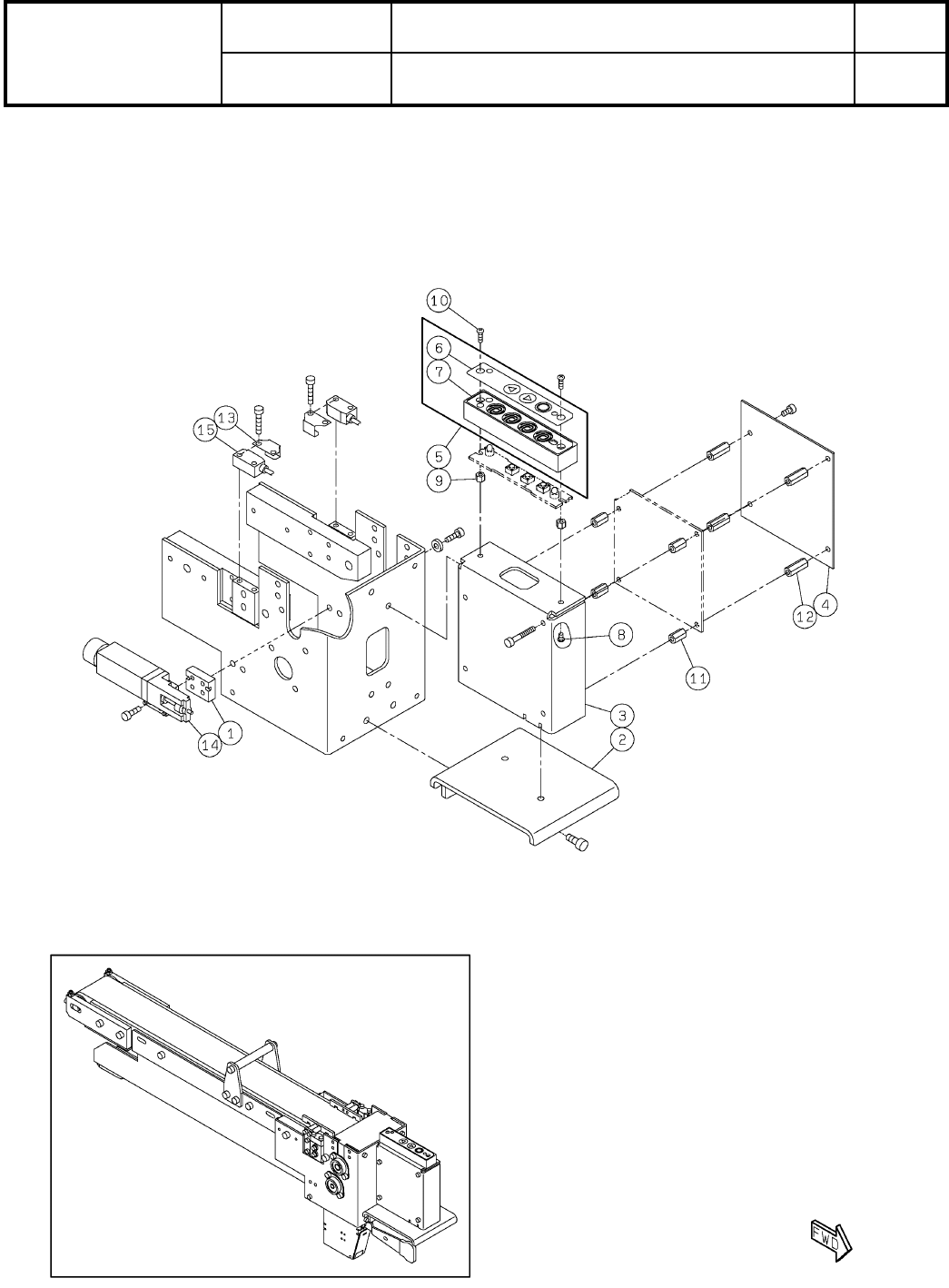
75-B
部品排出コンベア:NPM
Component Eject Conveyor:NPM
パーツレイアウト
Kit No.
キット品番
Kit Name
キット名称
N610090811AA
セクションNo.
PARTS LAYOUT
Section No.
--
O267
( KN610090811AA-05-2 )

Ref
No.
Remarks R
1
Q'ty
75-B
部品排出コンベア:NPM
Component Eject Conveyor:NPM
イラスト
No.
Part No.
品 名品 番 数量
R
2
パーツリスト
Kit No.
キット品番
Kit Name
キット名称
N610090811AA
Part Name
備 考
セクションNo.
PARTS LIST
Section No.
R
3
PULLEY
1
1 N210084071AB
NUT
1
2 N210093730AA
SHAFT
1
3 N210092814AA
PLATE
2
4 N210092815AA
PLATE
1
5 N210092816AA
PLATE
1
6 N210092817AA
STOPPER
1
7 N210111351AA
FRAME
1
8 N210111352AA
COVER
1
9 N210111935AA
COVER
1
10 N210111353AA
COVER
1
11 N210111354AA
BLOCK
2
12 KXFB02TLA00
BRACKET
2
13 N210092826AA
GEAR
1
14 N610067429AB
GEAR
1
15 N210046646AB
GEAR
1
16 N610067430AB
SCREW
6
17 N510034975AA
Cross recessed Countersunk head machine screw M1.7X5-4.8 E2U
BEARING
2
18 KXF03FVAA00 SFB30-7
BEARING
2
19 N510034980AA SFB30-5
SPACER
4
20 N510030912AA CB-314E
GEAR
1
21 N610074958AA
BOLT
4
22 N510018816AA
Hexagon socket head cap screw M5X22-10.9 A2J (Trivalent)
O268
--
( KN610090811AA-05-2 )

75-C
部品排出コンベア:NPM
Component Eject Conveyor:NPM
パーツレイアウト
Kit No.
キット品番
Kit Name
キット名称
N610090811AA
セクションNo.
PARTS LAYOUT
Section No.
--
O269
( KN610090811AA-05-3 )