NPM-W2 20170725 - 第715页
Ref No. Remarks R 1 Q'ty 158-E 下受けピン自動交換ユニット:NPM-W Support Pin Automatic Change Unit:NPM -W イラスト No. Part No. 品 名 品 番 数量 R 2 パーツリスト Kit No. キット品番 Kit Name キット名称 N610145977AA Part Nam e 備 考 セク ショ ンNo . PARTS LIST Sec…

158-E
下受けピン自動交換ユニット:NPM-W
Support Pin Automatic Change Unit:NPM-W
パーツレイアウト
Kit No.
キット品番
Kit Name
キット名称
N610145977AA
セクションNo.
PARTS LAYOUT
Section No.
--
O509
( KN610145977AA-04A-5 )

Ref
No.
Remarks R
1
Q'ty
158-E
下受けピン自動交換ユニット:NPM-W
Support Pin Automatic Change Unit:NPM-W
イラスト
No.
Part No.
品 名品 番 数量
R
2
パーツリスト
Kit No.
キット品番
Kit Name
キット名称
N610145977AA
Part Name
備 考
セクションNo.
PARTS LIST
Section No.
R
3
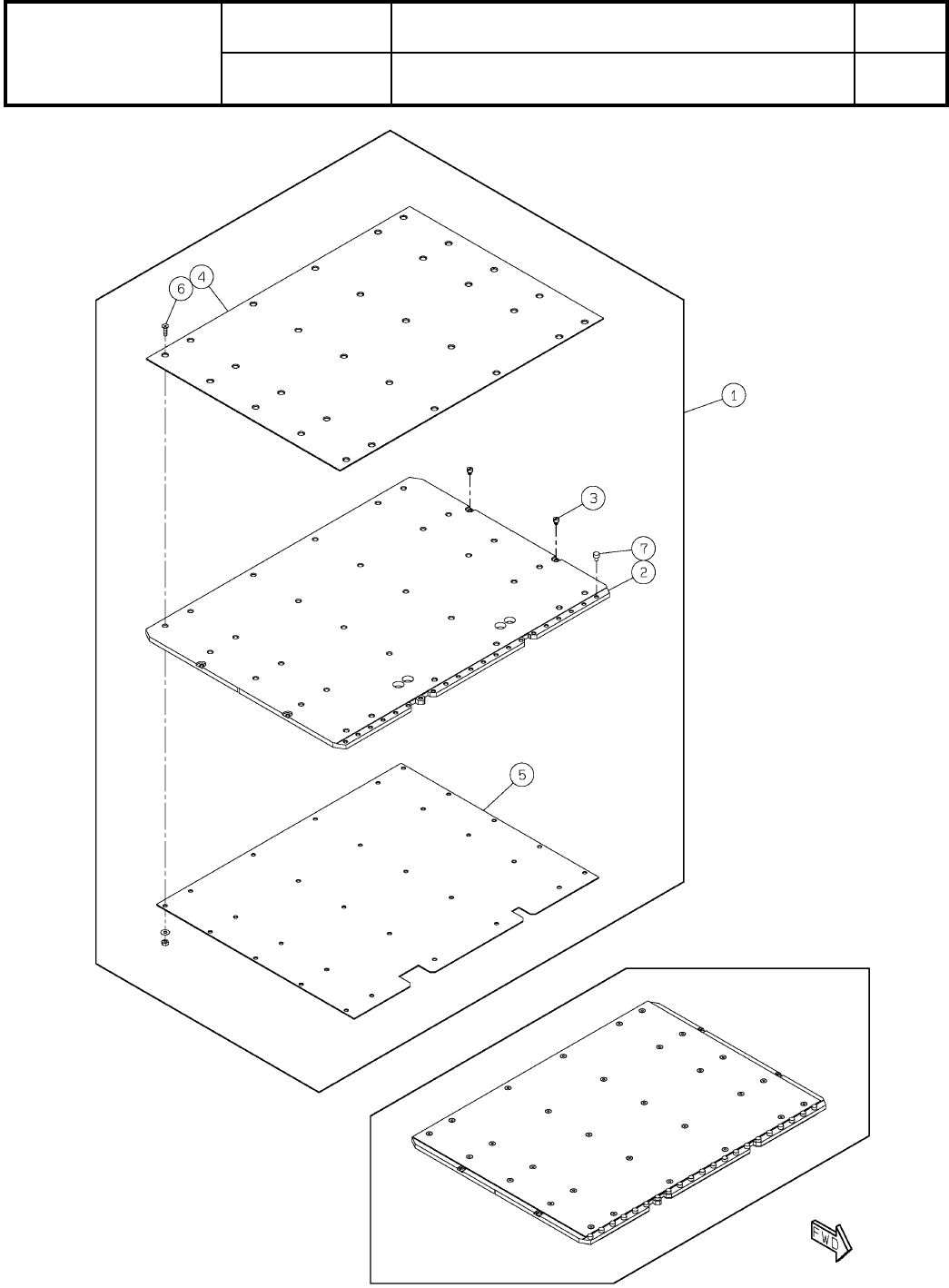
Board Support Block
4
1 N610145049AB
PLATE
1
2 N210170512AB
PIN
4
3 N210173578AA
PLATE
1
4 N610152322AA
PLATE
1
5 N210172930AC
BOLT
30
6 N510017610AA
Hexagon socket Flat head bolt M3X10-10.9 A2J (Trivalent)
BOLT
21
7 XVE3B4VW Hexagon socket head cap screw M3X4-A2-70
O510
--
( KN610145977AA-04A-5 )

158-F
下受けピン自動交換ユニット:NPM-W
Support Pin Automatic Change Unit:NPM-W
パーツレイアウト
Kit No.
キット品番
Kit Name
キット名称
N610145977AA
セクションNo.
PARTS LAYOUT
Section No.
--
O511
( KN610145977AA-04A-6 )