NPM-W2 20170725.pdf - 第730页
161- A 全体カバーキット W hole Cover Kit パーツレイアウト Kit No. キット 品番 Kit Name キット名称 N610124454AB セクションNo. PARTS LAYOUT Section No. - - O525 ( KN610124454AB-07-1 )

Ref
No.
Remarks R
1
Q'ty
160
部品ステージキット
Parts Stage Kit
イラスト
No.
Part No.
品 名品 番 数量
R
2
パーツリスト
Kit No.
キット品番
Kit Name
キット名称
N610124455AC
Part Name
備 考
セクションNo.
PARTS LIST
Section No.
R
3
TRAY
1
1 N210161805AA
BRACKET
1
2 N210161812AB
BRACKET
1
3 N210155243AD
PLATE
1
4 N210161806AA
FRAME
1
5 N210161826AA
SHEET
2
6 N210155238AC
PLATE
1
7 N210161807AA
PLATE
1
8 N210155247AA
POLE
2
9 N210149729AA
BRACKET
1
10 N210155248AA
PLATE
1
11 N210155249AA
COVER
1
12 N210155250AA
COVER
1
13 N210157556AA
SHEET
1
14 N210157668AA
SHEET
2
15 N210159156AA
TABLE
1
16 N510057410AA TAR-34403L
LINEAR-SCALE
1
17 N510060456AA SDV-10DPF
SCREW
6
18 N510018160AA
Cross recessed Countersunk head machine screw M3X6-4.8 A2S (Trivalent
SPACER
2
19 N510042655AA CZ-302
SCREW
2
20 N510018677AA
Cross recessed Pan head machine screw with SW & SPW M3X8-4.8 A2J
SPACER
4
21 N510026810AA ASB-324E
GASKET
1
22 MTNP000315AA 65TSV8-5(ZD) L=405
SCREW
6
23 N510018142AA
Cross recessed Countersunk head machine screw M3X10-4.8 A2S (Trivale
SPACER
2
24 N510017089AA CB-304E
SPACER
4
25 N510024882AA CB-303E
SPACER
1
26 N510045105AA 3382330-30025
MAGNET
1
27 N510042575AA MC-158
O524
--
( KN610124455AC-02 )

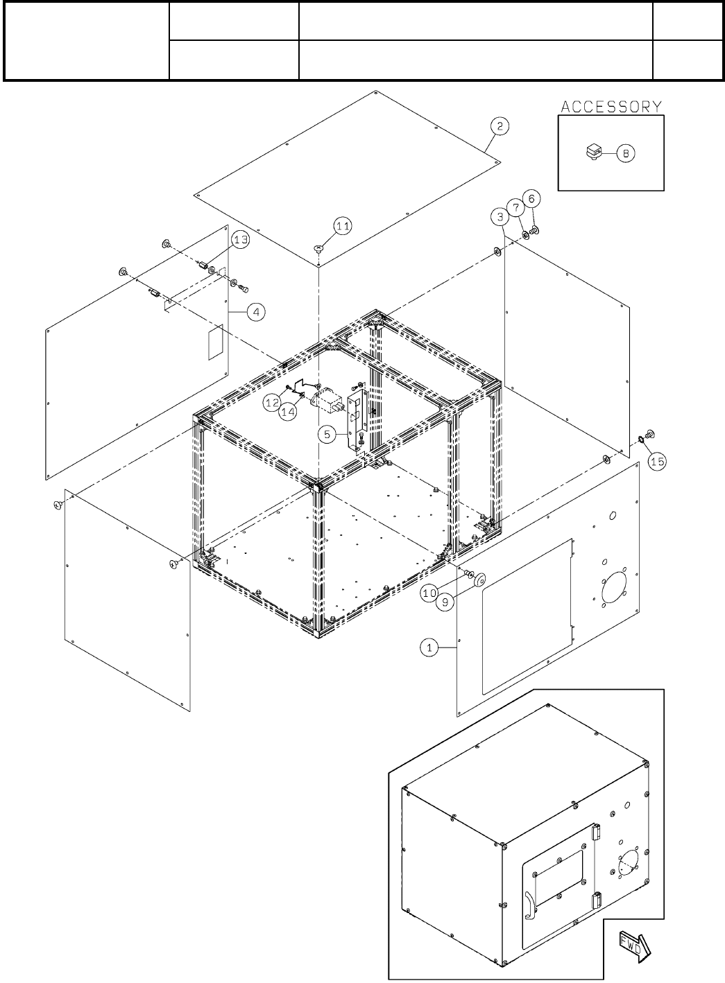
161-A
全体カバーキット
Whole Cover Kit
パーツレイアウト
Kit No.
キット品番
Kit Name
キット名称
N610124454AB
セクションNo.
PARTS LAYOUT
Section No.
--
O525
( KN610124454AB-07-1 )

Ref
No.
Remarks R
1
Q'ty
161-A
全体カバーキット
Whole Cover Kit
イラスト
No.
Part No.
品 名品 番 数量
R
2
パーツリスト
Kit No.
キット品番
Kit Name
キット名称
N610124454AB
Part Name
備 考
セクションNo.
PARTS LIST
Section No.
R
3
COVER
1
1 N210157575AA
COVER
1
2 N210157576AA
COVER
2
3 N210157577AA
COVER
1
4 N210157578AA
BRACKET
1
5 N210157599AA
SCREW
8
6 N510056143AA PFS-D0508
WASHER
14
7 N510013725AA TM-147-3V
CABLE-SUPPORT
30
8 N510048517AA FT4
CAP
17
9 KXF0DYESA00 CP-328-B-5-ivory
BOLT
11
10 N510017629AA
Hexagon socket Flat head bolt M5X10-10.9 A2J (Trivalent)
SCREW
26
11 N510018300AA
Cross recessed Truss head machine screw M5X6-4.8 A2J (Trivalent)
BOLT
2
12 N510017514AA
SSS 003 Hexagon socket button head screw M3X8-10.9 A2J (Trivalent)
SPACER
2
13 N510060062AA ASB-512E
CLAMP
1
14 N510037216AA AT-01+AT-04R
WASHER
2
15 N510018765AA
Toothed lock washer 5 External toothed Steel Unichrome white (Trivalent)
O526
--
( KN610124454AB-07-1 )