NPM-W2 20170725 - 第95页
Ref No. Remarks R 1 Q'ty 21 銘板・警告ラベル(フィーダテーブルカ バー)Front側:NPM-W2 Label(Feeder Table Cover)Front:N PM-W 2 イラスト No. Part No. 品 名 品 番 数量 R 2 パーツリスト Kit No. キット品番 Kit Name キット名称 N610169262AA Part Nam e 備 考 セク ショ ンNo . PA…

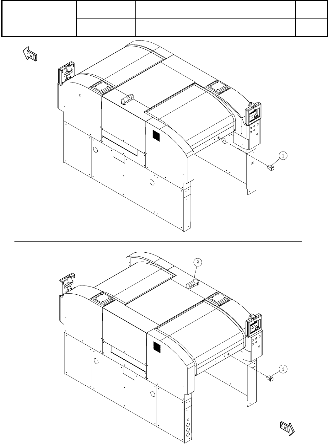
21
銘板・警告ラベル(フィーダテーブルカバー)Front側:NPM-W2
Label(Feeder Table Cover)Front:NPM-W2
パーツレイアウト
Kit No.
キット品番
Kit Name
キット名称
N610169262AA
セクションNo.
PARTS LAYOUT
Section No.
--
S73
( KN610169262AA-02 )

Ref
No.
Remarks R
1
Q'ty
21
銘板・警告ラベル(フィーダテーブルカバー)Front側:NPM-W2
Label(Feeder Table Cover)Front:NPM-W2
イラスト
No.
Part No.
品 名品 番 数量
R
2
パーツリスト
Kit No.
キット品番
Kit Name
キット名称
N610169262AA
Part Name
備 考
セクションNo.
PARTS LIST
Section No.
R
3
LABEL
1
1 KXF0E061A00
S
PD0101M1
LABEL
1
2 N510040898AA
S
PC013901
S74
--
( KN610169262AA-02 )

22
全体カバー制御:NPM-W
Whole Cover (H):NPM-W
パーツレイアウト
Kit No.
キット品番
Kit Name
キット名称
N610117727AA
セクションNo.
PARTS LAYOUT
Section No.
--
S75
( KN610117727AA-04A )