00193926-03 - 第269页
Manual do usuário SIPLACE Série HF 6 Manuseio dos componentes Versão de software SR.50x.xx Edição 01/2006 PT 6.2 Dados técnicos do alimentadores S 269 6.2.18.2 T roca do retent or Æ S egure no retentor ( G na Fig. 6.2 - …

6 Manuseio dos componentes Manual do usuário SIPLACE Série HF
6.2 Dados técnicos do alimentadores S Versão de software SR.50x.xx Edição 01/2006 PT
268
NOTA
– O suporte para carregadores de waffle-pack pode ser montado nas localidades seguintes:
Máquina automática HF: Localidades 2 e 4
Máquina automática HF/3: Localidade 2
As posições do alimentador 14 e 15 na mesa de componentes
não
devem ser ocupadas.
– Na localidade 4 não é possível utilizar simultaneamente o suporte e o trocador de bocais.
– O carro de componentes não se deixa encostar ou desencostar com o suporte preparado.
6.2.18.1 Montagem
Æ Coloque a parte dianteira do "Suporte para carregadores de waffle-pack" no correspondente
pino de centrar (A na Fig. 6.2 - 18
).
Æ Seguidamente, coloque o furo na parte posterior do "Suporte para carregadores de waffle-
pack" na calota da mesa de componentes (B na Fig. 6.2 - 18
).
Æ Verifique se o "Suporte para carregadores de waffle-pack" está bem assente sobre a mesa
de componentes.
Æ Coloque um lado do suporte do carregador de waffle-pack no suporte (C na Fig. 6.2 - 18).
Empurre seguidamente o outro lado contra o suporte (D na Fig. 6.2 - 18
).
Æ Empurre o carregador de waffle-pack contra o batente (E na Fig. 6.2 - 18).
Æ Fixe o suporte do carregador de waffle-pack, carregando no gatilho (F na Fig. 6.2 - 18) para
baixo.
Æ Para retirar o suporte do carregador de waffle-pack, carregue de novo no gatilho.
NOTA
No "Suporte de pequeno carregador de waffle-pack" (136 mm), é possível montar um carregador
de waffle-pack (Carregador de waffle-pack JEDEC / CENELEC) diretamente no suporte, isto é,
sem suporte de carregador de waffle-pack. Para isso, troque o retentor.
ALERTA
É uma condição prévia para a segurança no trabalho que todos os pontos de estacionamento
estejam equipados com alimentadores.
Se não se dispõe de suficientes alimentadores, devem ser utilizados ("Dummy-Feeder") no seu
lugar. Também na preparação de um suporte de carregadores de waffle-pack, as localidades
livres deverão ser seguras com uma protecção contra acesso.

Manual do usuário SIPLACE Série HF 6 Manuseio dos componentes
Versão de software SR.50x.xx Edição 01/2006 PT 6.2 Dados técnicos do alimentadores S
269
6.2.18.2 Troca do retentor
Æ Segure no retentor (G na Fig. 6.2 - 18). Carregue no gatilho (F na Fig. 6.2 - 18) para baixo e
retire o retentor, empurrando-o para fora lateralmente.
6.2.18.3 Entrada de dados
Defina os carregadores de waffle-pack, tal como se descreve no manual do usuário de SIPLACE
Pro.
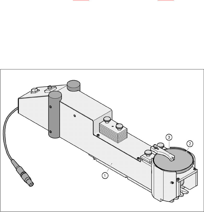
6.2.19 Módulo Dip
6
Fig. 6.2 - 19 Módulo Dip
(1) Módulo Dip
(2) Prato rotativo
(3) Racla
6
6.2.19.1 Princípio de aplicação do fluxo Dip
O módulo Dip (Pos. 1) serve para molhar Flip Chips e componentes CSP com fluxo ou cola con-
dutora. O suporte do fluxo é um prato rotativo (Pos. 2) sobre o qual é criada uma fina película de
6 Manuseio dos componentes Manual do usuário SIPLACE Série HF
6.2 Dados técnicos do alimentadores S Versão de software SR.50x.xx Edição 01/2006 PT
270
fluxo (p.ex. 40 µm) com uma racla (Pos. 3). Este processo está particularmente indicado para flu-
xos de viscosidade elevada (semelhante a mel). A quantidade de fluxo necessária ao processo
é aplicada numa camada mínima, visto que só as partes de baixo de Bump precisam de ser mo-
lhadas.
O módulo Dip é próprio para todos as cabeças de montar. É considerado como tipo de alimenta-
dor próprio da otimização da preparação. Não existe qualquer limitação à quantidade de módulos
Dip utilizados em cada localidade.
6.2.19.2 Dados técnicos
Número do artigo 00117010-xx 6
Localidades ocupadas 3 6
Tamanho dos componentes Máx. 36 x 36 mm²
dependendo do tipo da cabeça de montagem 6
Espessuras reguláveis da película 25, 35, 45, 55, 65, 75 µm 6
Tempo necessário à alteração
da espessura da película Inferior a 1 min. 6
Tolerância da altura da fenda ± 5 mm 6
Velocidade de rotação do prato Programável de 0 - 10 seg.
em intervalos de 0,1 seg. 6
Tempo Dip de componentes Programável de 0 - 2 seg.
em intervalos de 0,1 seg. 6
Fluxo Fluxo de viscosidade elevada, cola condutora 6
6