00193926-03 - 第310页
7 Extensões da estação Manual do us uário SIPLACE S érie HF 7.1 Trocador de bocais Ve rsão de software SR.50x.xx Edição 01/2006 PT 310 7.1.2.9 Conjunt o de montagem p ara o trocador de bocais da "Série 2" Nº do…

Manual do usuário SIPLACE Série HF 7 Extensões da estação
Versão de software SR.50x.xx Edição 01/2006 PT 7.1 Trocador de bocais
309
7.1.2.8 Reconhecimento da localização
Cada carregador do trocador de bocais possui uma marca de posição para o reconhecimento da
localização.
7
Fig. 7.1 - 15 Trocador de bocais - reconhecimento da localização
(1) Marca de posição
(2) Posição dos bocais no carregador relativamente à marca de posição

7 Extensões da estação Manual do usuário SIPLACE Série HF
7.1 Trocador de bocais Versão de software SR.50x.xx Edição 01/2006 PT
310
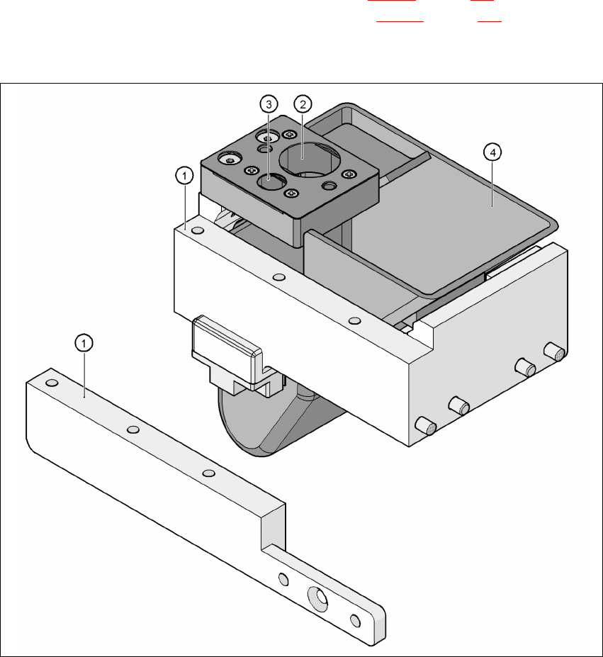
7.1.2.9 Conjunto de montagem para o trocador de bocais da "Série 2"
Nº do artigo 00119664-xx
O trocador de pipetas da "Série 2" pode ser instalado nas localidades seguintes:
Máquina automática HF: Localidades 1 e 3 (veja a Fig. 7.1 - 10
, página 302)
Máquina automática HF/3: Localidade 1, 3 e 4 (veja a Fig. 7.1 - 11
, página 303)
O pacote de recarga contém, além do trocador de bocais, um conjunto de montagem e um dis-
positivo de recolha de bocais com coletor de rejeição.
7
Fig. 7.1 - 16 Conjunto de montagem para o 2º trocador de bocais
(1) Conjunto de montagem para o trocador de bocais da "Série 2"
(2) Dispositivo de recolha para bocais do tipo 8xx
(3) Dispositivo de recolha para bocais do tipo 9xx
(4) Caixa de rejeito de bocais

Manual do usuário SIPLACE Série HF 7 Extensões da estação
Versão de software SR.50x.xx Edição 01/2006 PT 7.1 Trocador de bocais
311
7.1.3 Trocador de bocais para SIPLACE TwinHead
Carregador para 2 bocais: nº do artigo 03005191-xx
Carregador para 1 bocal: nº do artigo 03001807-xx
Este trocador de bocais pode alojar até 12 carregadores de bocais. Estão disponíveis dois tipos
de carregadores: Carregadores normais e carregadores para bocais especiais ou garras. Os car-
regadores estão assentes sobre um suporte comum. Cada um está centrado com dois pinos ci-
líndricos e fixado com dois parafusos de cabeça de embutir.
7
Fig. 7.1 - 17 Trocador de bocais para SIPLACE TwinHead
ALERTA 7
Instale para cada cabeça de montar exclusivamente o trocador de bocais correspondente. No
caso de configuração mista, há perigo de esmagamento da cabeça!
7.1.3.1 Dados técnicos
7
Trocador de bocais para SIPLACE TwinHead
Dimensões (comprimento x largura x altura) 448 x 68,5 x 49 mm³
Quantidade de garagens para bocais 16 para bocais standard
4 para bocais especiais ou garras
Tipos de bocais 5xx, standard
4 xx com adaptador
9 xx com adaptador
Tempo de troca de bocais < 2 s