00193926-03 - 第315页
Manual do usuário SIPLACE Série HF 7 Extensões da estação Versão de software SR.50x.xx Edição 01/2006 PT 7.1 Trocador de bocais 315 7.1.3.5 Descrição do funcionament o O carreg ador para boc ais standar d tem 1 marc a de…

7 Extensões da estação Manual do usuário SIPLACE Série HF
7.1 Trocador de bocais Versão de software SR.50x.xx Edição 01/2006 PT
314
7.1.3.4 Montagem
O trocador de bocais está fixo no dispositivo de alimentação do carro de componentes.
7
Fig. 7.1 - 20 Posição de montagem
(1) Furo de marcação
(2) Lado do operador
(3) A seta aponta no sentido do transporte das PCI
7
Æ Oriente o trocador de bocais de forma a que o furo de marcação (Pos. 1) fique do lado es-
querdo, quando visto a partir do operador.

Manual do usuário SIPLACE Série HF 7 Extensões da estação
Versão de software SR.50x.xx Edição 01/2006 PT 7.1 Trocador de bocais
315
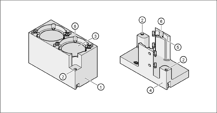
7.1.3.5 Descrição do funcionamento
O carregador para bocais standard tem 1 marca de posição para reconhecimento da localização;
o carregador para bocais especiais/garras tem duas. Na garagem, os bocais são fixadas por meio
de esferas. De acordo com o sentido de rotação do eixo DP, os bocais são fixados ou libertados
para coleta.
7
Fig. 7.1 - 21 Carregador para bocais standard e especiais
(1) Carregador standard
(2) Marca de posição
(3) Garagem de bocais
(4) Carregador para bocais especiais e garras
(5) Garagem de bocais
(6) Esferas para fixação dos bocais

7 Extensões da estação Manual do usuário SIPLACE Série HF
7.1 Trocador de bocais Versão de software SR.50x.xx Edição 01/2006 PT
316
7.1.3.6 Coletor de rejeição dos componentes
Para o SIPLACE TwinHead pode ser instalado um coletor de rejeição de componentes. Fica po-
sicionado ao lado do módulo de visão de Fine-Pitch (ver Pos. 4 nas Figs. 7.1 - 18
, página 312 e
7.1 - 19
, página 313).
7
Fig. 7.1 - 22 Coletor de rejeição dos componentes
7.1.4 Garras e bocais especiais
Além da gama SMT normal, as máquinas automáticas SIPLACE também trabalham com compo-
nentes segundo a técnica de encaixe em furo (Through Hole Technology) e componentes de for-
mas invulgares OSC (Odd Shaped Components). Paralelamente a isso, a SIEMENS A&D estuda
e constrói continuamente bocais especiais e garras.
São fornecidos bocais especiais para todas as cabeças de montar, a fim de permitirem um má-
ximo de velocidade, precisão e flexibilidade na execução de encomendas de montagem. A utili-
zação de trocadores de bocais automáticos reduz também os tempos de preparação que se
verificam numa troca de produto.
SIEMENS A&D fornece garras para as cabeças Pick&Place. Componentes cujas superfícies não
sejam próprias para aspiração por meio de bocais são retirados por garras mecânicas e monta-
dos. Existem duas execuções de garras que podem ser classificadas em dois grupos de acordo
com a sua função:
– Garras que pegam no componente pelas arestas exteriores e
– garras que pegam no componente pela aresta interior.
Para informações sobre bocais especiais e garras, deve dirigir-se a SIEMENS A&D. Para a exe-
cução de carregadores especiais e garras, também se deverá dirigir a SIEMENS A&D.