00194439-10_SM_X-Serie_Kunde_de - 第48页
Modul-Übersicht Docking Station für BE-Wechseltische X-Serie 2.4.5 Breitenverstellung 48 Serviceanleitung SIPLACE X-Serie

Modul-Übersicht
2.4.5 Breitenverstellung Docking Station für BE-Wechseltische X-Serie
Serviceanleitung SIPLACE X-Serie 47
2.16
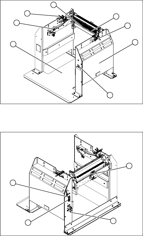
2.16 Docking Station für BE-Wechseltische X-Serie
Docking Station für BE-Wechseltische X-Serie
Übersicht – Vorderansicht
Übersicht – Rückseite
1. Docking Station – komplett [00116933-xx]
2. Drucktaster für Entriegelung [00334095-xx]
3. Abdeckung (dahinter Netzteil [03025938-xx] und
Druckregelventil für Verriegelungszylinder)
4. Waagrechtspanner [03025104-xx]
5. Förderer-Entriegelung 40-fach [03011582-xx]
6. Feeder Control Unit (FCU) [03020068-xx]
7. Kurzhubzylinder der Sperreinheit [03034831-xx]
3
4
1
7
6
5
4
2
1. Steuerventil [03003489-xx]
2. Ein/Aus-Schalter
3. Feinsicherung [03033387-xx]
4. Druckregelventil für Bulkcase-Feeder und Hauptan-
schluss (5,5 bar)
1
4
3
2
Modul-Übersicht
Docking Station für BE-Wechseltische X-Serie 2.4.5 Breitenverstellung
48 Serviceanleitung SIPLACE X-Serie

Servicearbeiten
Elektrik und Steuerung
Serviceanleitung SIPLACE X-Serie 49
3
3 Servicearbeiten
Servicearbeiten
3.1
3.1 Elektrik und Steuerung
Elektrik und Steuerung
Für elektrische Überprüfungen wird auf die zur jeweiligen Maschine mitgelieferten Wirkschaltplanmappe
verwiesen:
▪ Wirkschaltplanmappe SIPLACE X-Serie [00194418-xx] (deutsch)
▪ Wirkschaltplanmappe SIPLACE X-Serie [00194419-xx] (englisch)
▪ Wirkschaltplanmappe SIPLACE X4I [00195675-xx] (deutsch)
▪ Wirkschaltplanmappe SIPLACE X4I [00195676-xx] (englisch)
WARNUNG
Bei Nichtbeachtung der Sicherheitshinweise besteht Gefahr für Mensch und Maschine!
Die in dieser Anleitung beschriebenen Servicearbeiten sind nur durch speziell geschulte Ser-
vicetechniker zu leisten und erfordern daher eine entsprechende Zusatzqualifikation und Zu-
satzkenntnisse.
► Beachten Sie bei allen Servicearbeiten die Sicherheitshinweise aus der Betriebsanleitung!