TR5DNR_使用说明书 - 第11页
TR5 Series 使用说明书 1-4 1.4.2 托盘存放部分的名称 <叠盘箱( TR5SNR/5SNX/5SNI/5SNJ 用)> 托盘叠盘箱主体 叠盘箱把手 托盘叠盘箱定位导轨 安全门(防止托盘座板滑出用的选择件) 托盘座板定位导轨 <叠盘箱( TR5DNR/5 DNX 用)> 托盘叠盘箱主体 叠盘箱把手 安全门(防止托盘座板滑出用的选择件) 托盘座板定位导轨 叠盘箱拉出把手

TR5 Series 使用说明书
1-3
1.4 各部分的名称
1.4.1 整体图
<TR5SNR/5SNX/5SNI/5SNJ> <TR5DNR/5DNX>
矩阵式托盘服务器主体 紧急停止开关
叠盘箱(托盘座板存放部) 高度调节脚
托盘座板 叠盘箱支承导板(主)
维护保养用电源开关 叠盘箱支承导板(副)
操作盘

TR5 Series 使用说明书
1-4
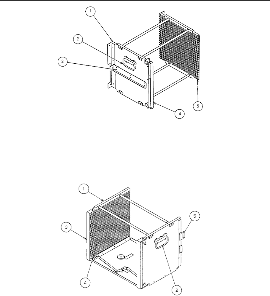
1.4.2 托盘存放部分的名称
<叠盘箱(TR5SNR/5SNX/5SNI/5SNJ 用)>
托盘叠盘箱主体
叠盘箱把手
托盘叠盘箱定位导轨
安全门(防止托盘座板滑出用的选择件)
托盘座板定位导轨
<叠盘箱(TR5DNR/5DNX 用)>
托盘叠盘箱主体
叠盘箱把手
安全门(防止托盘座板滑出用的选择件)
托盘座板定位导轨
叠盘箱拉出把手

TR5 Series 使用说明书
1-5
1.5 安全功能
1.5.1 紧急停止
<TR5SNR/5SNX/5SNI/5SNJ> <TR5DNR/5DNX>
一按紧急停止开关,电动机的驱动电源即被切断,可使动作停止。
同时,操作盘的操作也不能再进行。
要解除紧急停止状态,请先消除引起紧急停止的原因之后再将紧急停止开关向右转。
在 RS-1 设置使用 TR5SNX 及 TR5DNX 而进行连接时,如果取下通信缆线会造成紧急停止。要解除
紧急停止,必须连接通信缆线。
1.5.1.1
从其他机种的移装
将 RS-1 以外的贴片机上设置的 TR5SNX/TR5DNX 用于 RS-1 时,需要进行改造、MTS 版本升级、
在 MAIN 基板上设置 DIPSW、取下挡块,如果不实施改造等安全功能将会启动,造成紧急停止状态。
有关改造及 MTS 版本升级,请咨询客服。
在 RS-1 上安装 TR5SNX/TR5DNX 时,需要进行 DIPSW 的设置。
出库时 DIPSW6-2 设置为 OFF。
要在 RS-1 使用 RS-1 以外所使用的 TR5SNX/TR5DNX 时,在实施改造及 MTS 软件版本升级后,
需要将 DIPSW6-2 切换到 ON。
TR5SNX/TR5DNX 连接机种
DIPSW6-2
RS-1 ON
RS-1 以外
OFF
要确认 MAIN 基板,为 TR5SNX 时请取下盖罩①,为 TR5DNX 时请取下盖罩②。
紧急停止开关