TR5DNR_使用说明书 - 第39页
TR5 Series 使用说明书 5-1 5 机器规格 5.1 机器规格 No. 规格 TR5SNR/5SNX/5SNI/5SNJ TR5DNR/5DN X 1 尺寸 W 833.5mm ( 5SNJ:857.5mm ) 1,390mm D 1,076mm 1,161mm H (输送高度 900mm ,无 信号塔) 1,545mm 1,250mm H (输送高度 900mm ,有 信号塔) - 1,925mm 2 质量 标准机型 217…

TR5 Series 使用说明书
4-5
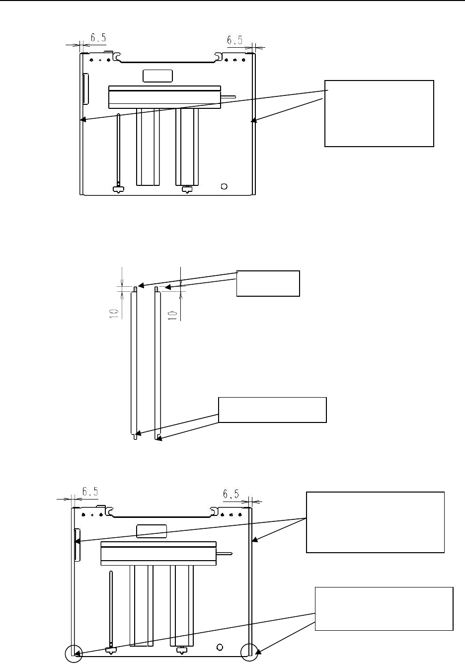
4.3.4 重量元件用托盘座板
重量元件用托盘座板的背面两侧粘贴有胶带。当胶带磨损到暴露出托盘座板面时,请更换胶带。
重量元件用托盘座板(背面)
揭掉旧胶带,用酒精擦除胶带粘贴面的污垢。
将更换用胶带的两端分别剪掉 10mm。
粘贴胶带。注意不要让气泡进入胶带和托盘座板之间或者起皱。
胶带
产品编号:40138460
共 2 条
剪掉
不剪掉这一端
粘贴到从侧面算起 6.5mm
为止的地方。多余部分折向
侧面粘贴。
两端折向反面粘贴。

TR5 Series 使用说明书
5-1
5 机器规格
5.1 机器规格
No.
规格
TR5SNR/5SNX/5SNI/5SNJ TR5DNR/5DNX
1
尺寸
W
833.5mm(5SNJ:857.5mm)
1,390mm
D 1,076mm 1,161mm
H(输送高度 900mm,无
信号塔)
1,545mm 1,250mm
H(输送高度 900mm,有
信号塔)
-
1,925mm
2
质量 标准机型
217kg 287kg
CE 机型,全部选择项时
220kg 290kg
3
使用压缩空气 气压
0.5±0.05MPa
消耗量
3 L/min
(标准状态)
5 L/min
(标准状态)
干燥空气 大气压露天 -17℃以下
4
环境条件 运行时 温度 10°C~35°C
保证精度的温度 20°C~25°C
湿度 30%~80%RH (但不得有露水)
标高 1,000m 以下
运输及
保管
温度 -15°C~70°C
湿度 20%~95%RH (但不得有露水)
5
噪音 噪音级别 75dB(A)以下
6
设置条件
(适用于 EN 型
机器)
过电压等级 过电压等级Ⅲ(IEC60664-1)
污染级别 污染级别 3(IEC60664-1)
5.2 电气规格
1) 控制方式
项目 控制方式 分辨率
X,Y 利用 5 相步进电动机的开环方式
0.1mm
Z(2 轴) 利用 AC 伺服电动机的半闭环方式
TR5SNR/5SNX/5SNI/5SNJ:0.0025 mm
TR5DNR/5DNX:0.005 mm
2) 控制 CPU
16 位 CPU
3) 电源
·电压 : 单相 AC 200V(220V,240V,380V,400V,415V)
·表观功率 : 800VA(TR5SNR/5SNX/TR5SNI/5SNJ),600VA(TR5DNR/5DNX)
·频率 : 50/60Hz

TR5 Series 使用说明书
5-2
5.3 对象元件
No.
项目 规格
1
元件尺寸 最大外形 正方 50mm
2
托盘尺寸 长度方向 150mm~340mm
宽度方向 90mm~230mm(TR5SNJ : 90~180mm)
厚度
TR5SNR/5SNX/
5DNR/5DNX
5mm~23mm(如果元件从托盘露出,则包括元件)
如果超出 9mm,请空出 1 层后使用托盘座板。
TR5SNI
5mm~63mm(如果元件从托盘露出,则包括元件)
如果超出 9mm,请空出 1 至 4 层后使用托盘座板。
TR5SNJ
5mm~36mm(如果元件从托盘露出,则包括元件)
如果超出 9mm,请空出 1 至 2 层后使用托盘座板。
3
质量
TR5SNR/5SNX/5SNJ
5DNR/5DNX
500g 以下(每 1 个托盘的托盘与元件的合计)
TR5SNI
3000g 以下(每 1 个托盘的托盘与元件的合计)(注 1)
※如果元件的上面及下面有凹凸或弯曲,会引起吸附不良。
注 1:元件为 500g 以上时请使用「重量元件式」托盘座板。如果使用「ST 式」托盘座板,元件重量
将导致托盘座板弯曲,从而引起设备故障或吸附不良。另外,输送 500g 以上的元件时,请将
速度设定为「低速」以下。
5.4 托盘座板
<其他机型中使用的托盘座板的互换性>
机型名
TR3N,TR3S,
TR4N,TR4S,TR7
TR3D,旧 TR5S,旧 TR6S
托盘座板
-
托盘装置(ST) (E15507260A0)
托盘装置(A) (E1550726CA0)
2 英寸托盘装置(40051150)
与本装置的兼容性 无兼容性。不能使用。 可原样使用。(TR5SNI 除外)