文档中心
/
Cable trees_20211119_091217
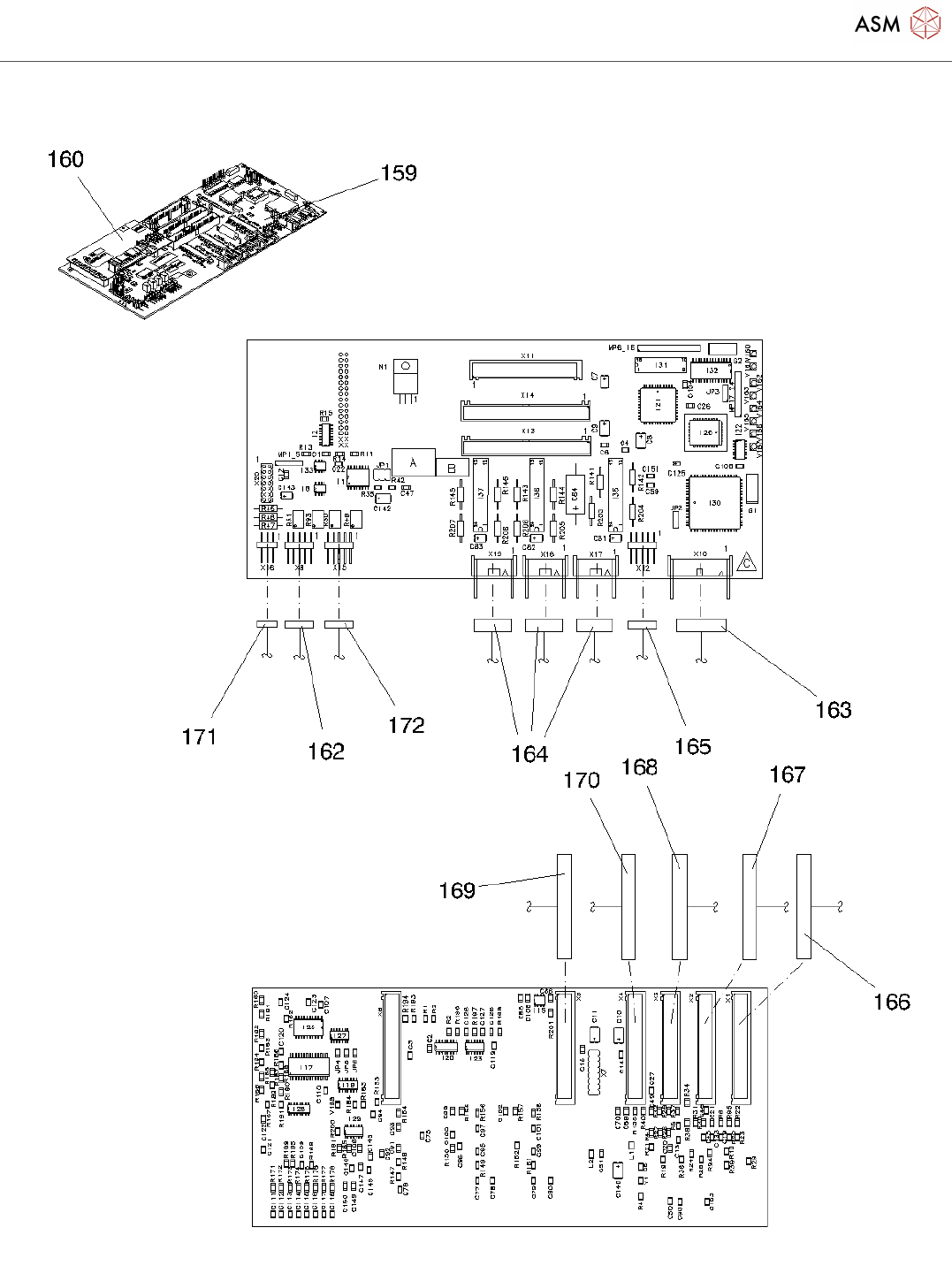
Cable trees_20211119_091217 - 第54页
Cable trees Page 54 / 102 19.11.2021
目录
100%
显示:宽度
宽度
1 / 102
回到旧版
旧版
?
Cable trees
Page 53 / 102
19.11.2021
Cable trees
Page 54 / 102
19.11.2021
Cable trees
Page 55 / 102
19.11.2021
该页面需要启用 JavaScript 才能进行交互式预览。