Power Connection_20211118_041557 - 第3页
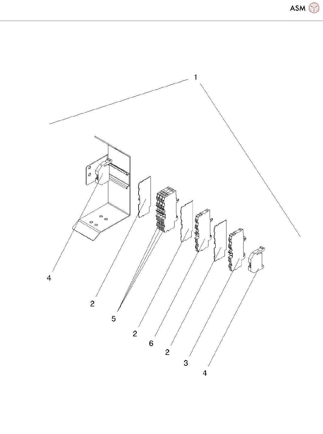
Power Connection Page 3 / 3 18.11.2021 Pos. Item no. Description Part marking 1 03130910-01 POWER CONNECTION TX 2 03070138-01 END/INTERMEDIATE PL. 1MM OG 2004-1492 3 03070137-01 GROUND TERM. BLOCK 4-CON. 4MM? 2004-1407 4…

Power Connection
Page 1 / 3 18.11.2021

Power Connection
Page 2 / 3 18.11.2021

Power Connection
Page 3 / 3 18.11.2021
Pos. Item no. Description Part marking
1 03130910-01 POWER CONNECTION TX
2 03070138-01 END/INTERMEDIATE PL. 1MM OG
2004-1492
3 03070137-01 GROUND TERM. BLOCK 4-CON.
4MM? 2004-1407
4 00356396-01 SCREWLESS END STOP 6MM
249-116
SPARE PART
5 03070135-01 TERMINAL BLOCK GY 4-COND.
4MM? 2004-1401
6 03070136-01 TERMINAL BLOCK BU 4-COND.
4MM? 2004-1404
Powered by TCPDF (www.tcpdf.org)