EJM8A-E-MP4-1 - 第40页
Ref No. Remarks R 1 Q't y 㪐 䊉䉵䊦䉼䉢䊮䉳䊞㩿 ᄙᯏ⢻ 䊓䉾䊄㪀 Nozzle Changer (Multi-Functional heads) 䍐䍵䍛䍢 㪥㫆㪅 Part No. ຠ䇭䇭ฬ ຠ⇟ ᢙ㊂ R 2 䊌䊷䉿䊥䉴䊃 Kit No . 䉨䉾䊃ຠ ⇟ Kit Name 䉨䉾䊃ฬ⒓ KXFX036XA00 Part N ame 䇭䇭䇭⠨ 䍜䍖䍚䍌䍻㪥㫆㪅 PARTS LIST Section …

㪐
䊉䉵䊦䉼䉢䊮䉳䊞㩿
ᄙᯏ⢻
䊓䉾䊄㪀
Nozzle Changer (Multi-Functional heads)
䊌䊷䉿䊧䉟䉝䉡䊃
Kit No.
䉨䉾䊃ຠ
⇟
Kit Name
䉨䉾䊃ฬ⒓
KXFX036XA00
䍜䍖䍚䍌䍻㪥㫆㪅
PARTS LAYOUT
Section No.
S39
--:(::#

Ref
No.
Remarks
R
1
Q't
y
㪐
䊉䉵䊦䉼䉢䊮䉳䊞㩿
ᄙᯏ⢻
䊓䉾䊄㪀
Nozzle Changer (Multi-Functional heads)
䍐䍵䍛䍢
㪥㫆㪅
Part No.
ຠ䇭䇭ฬຠ⇟ ᢙ㊂
R
2
䊌䊷䉿䊥䉴䊃
Kit No.
䉨䉾䊃ຠ
⇟
Kit Name
䉨䉾䊃ฬ⒓
KXFX036XA00
Part Name
䇭䇭䇭⠨
䍜䍖䍚䍌䍻㪥㫆㪅
PARTS LIST
Section No.
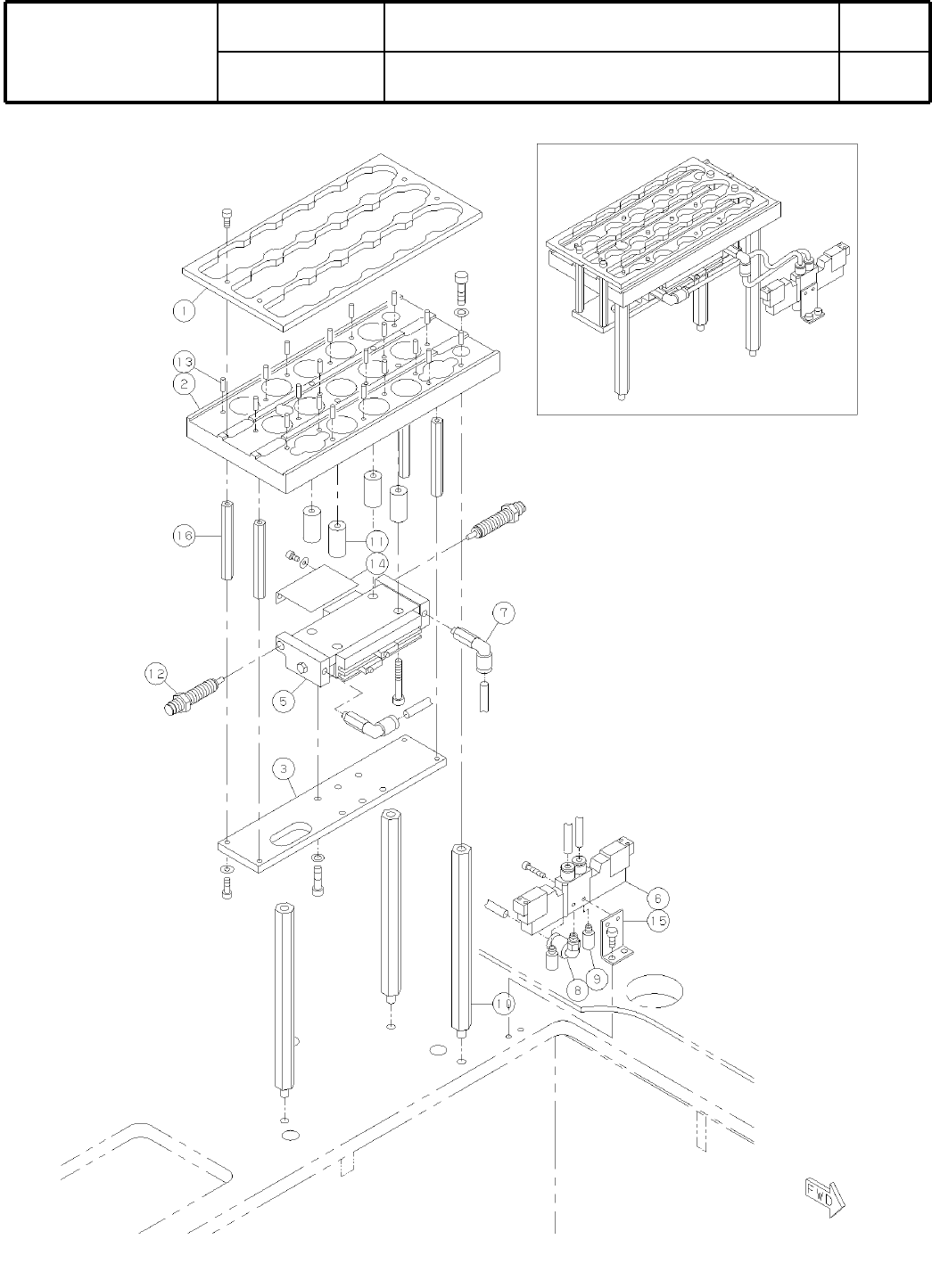
R
3
SHUTTER
1
1 KXFB02K9A00
HOLDER
1
2 N210002106AA
PLATE
1
3 KXFB02KBA00
CYLINDER
1
5 N610034897AA
VALVE
1
6 KXF0A3RAA00 VQZ1220-5MO-C4
JOINT
2
7 KXF02E8AA00 KQW04-M5
JOINT
1
8 KXF02C3AA00 KQL06-M5
SILENCER
2
9 KXF00WCAA00 AN120-M5
POST
3
10 KXF0DWQ3A01 LSBWRKT-12-150-1(DA KXF0DWQ3A01)
COLLAR
4
11 KXF0CY3AA00 ABSC4-12-23.0
SHOCK-ABSORBER
2
12 KXF0D32AA00
A
RB0805
PIN
20
13 KXF02XVAA00 MS3-10
COVER
1
14 KXFB02KXA00
BRACKET
1
15 KXFB02SWA00
POST
4
16 KXF0DWQ2A00 LSBFT-7-62.4(DDA)
S40
--:(::#

㪈㪇
㪚㪜ኻᔕ䉮䊮䊔䉝
㐿
ญ
ㇱ
㪧㪟䊡䊆䉾䊃
Conveyer opening PH unit for CE
䊌䊷䉿䊧䉟䉝䉡䊃
Kit No.
䉨䉾䊃ຠ
⇟
Kit Name
䉨䉾䊃ฬ⒓
N610013518AA
䍜䍖䍚䍌䍻㪥㫆㪅
PARTS LAYOUT
Section No.
S41
-0##