RS-1-Rev02PDFA - 第7页
- - REF.NO NOTE PARTNO DESCRIPTION Qty 1 EA-9500B01-00 CABLEBAND 50 2 EA-9500B02-00 CABLEBAND150 120 3 HX-0006500-0B CABLEBAND 50 4 HX-0006500-0C CABLEBAND 5 5 SL-6040892-TN SCREWM4L=8 2 6 E1035…

- -
MAINUNIT
1. BASEFRAMECOMPONENTS(1)
6 6
1 3
1 4
1 0
8
1 1
9 6 7
1 2
6
1 3
7 2 0
4
3
21
7 2
1 6
7 1
7 4
7 3
1 5
6 9
6 8
6 4
6 5
3 4
3 3
3 2
3 1
3 0
2 9
5 5
6 0
6 2
5 7
5 6
5 8
5 0
4 9
4 5
4 7
4 6
4 8
2 4
2 2
3 6
3 5
3 8
3 9
3 7
2 6
5 3
2 9
3 0
3 1
3 2
3 3
2 9
3 0
3 1
3 2
3 3
3 4
3 4
4 3
4 4
5 1
5 2
4 2
4 1
5 9
6 1
2 3
2 5
2 9
3 1
3 4
3 2
3 0
3 3
4 4
6 3
5
1 7
1 9
1 8
2 7
2 1
4 0
2 8
1 9
1 8
5 4 7 0

- -
REF.NO NOTE PARTNO DESCRIPTION Qty
1 EA-9500B01-00 CABLEBAND 50
2 EA-9500B02-00 CABLEBAND150 120
3 HX-0006500-0B CABLEBAND 50
4 HX-0006500-0C CABLEBAND 5
5 SL-6040892-TN SCREWM4L=8 2
6 E1035-729-000 ADJUSTERFOOT 4
7 400-00519 BASEFRAMENUT 4
8 E1044-729-000-A ADJUSTERNUT36 4
9 400-00403 ADJUSTBOLT 4
10 SM-6126002-TN SCREWM12L=60 12
11 WS-1220002-KN SPRINGWASHER 12
12 WP-1302501-SC WASHER13X24X2.5 12
13 SM-6083002-TN SCREWM8L=30 24
14 NM-6080002-SC NUTM8X1.25TYPE2 12
15
#02
400-13307 FPPUSHER 12
16
#02
NM-6080001-SC NUTM8X1.25TYPE1 12
17 401-36012 SEALING_PACKING 1
18 401-47543 ADJUST_PLATE 2
19 SL-6062092-TN SCREWM6L=20 8
20
#01
400-00535 BASEFRAMENUT(EN) 4
21 401-83260 Y_SUPPORT_L 1
22 401-47580 HOLE_COVER_L_ASSY 1
23 400-94739 HOLE_COVER_COPLA (1)
24 SL-6061292-TN SCREWM6L=12 (2)
25 401-47555 EXT_FRAME_HOLE_COVER (1)
26 SL-6041092-TN SCREWM4L=10 (4)
27 SL-6082592-TN BOLT 3
28 401-83258 Y_SUPPORT_R 1
29 401-08337 FANBR 4
30 401-89090 DCFANASM 4
31 SL-4033591-SC SCREWM3L=35 8
32 WP-0320501-SC WASHERM3 8
33 NM-6030001-SC NUTM3X0.5TYPE1 8
34 SL-3061232-TN SCREWM6L=12 8
35 401-83543 SMEMA_BR_ASM_RS 1
36 401-66645 IF_PANEL_L (1)
37 SL-4030881-SC SCREWM3L=8 (2)
38 401-29031 SMEMACABLEASM (1)
39 SL-6061292-TN SCREWM6L=12 (2)
40 SL-6082592-TN BOLT 3
41 401-83544 MTC_IF_PANEL-R_ASM_RS 1
42 401-66644 IF_PANEL_R_EPV (1)
43 401-29031 SMEMACABLEASM (1)
44 SL-4030881-SC SCREWM3L=8 (4)
45 401-20296 EPV_HOLE_COVER (1)
46 PX-9500010-00 PLUG (1)
47 PJ-3040600-04 PARTITIONELBOW (1)
48 400-46640 USBBRACKET (1)
49 400-44522 USBRELAYCABLE (1)
50 SL-6030892-TN SCREWM3L=8 (2)
51 HK-0651200-80 MODULARKAPLA (1)
52 SM-4860501-SB SCREWM2.5L=5 (2)
53 SL-6061292-TN SCREWM6L=12 (3)
54 400-77399 BASECOVERCUSHION 1
55 401-83545 MTS_IF_PANEL_ASM_RS 1
56 401-83500 MTSPWRCABLEASM (1)
57 SL-4030881-SC SCREWM3L=8 (2)
58 401-66646 MTS_IF_PANEL (1)
59 PX-9500010-00 PLUG (1)
60 SM-4860501-SB SCREWM2.5L=5 (2)
61 PJ-3040600-04 PARTITIONELBOW (1)
62 SL-6061292-TN SCREWM6L=12 (2)
63 401-29336 MTSI/FBRCABLEASM (1)
64 401-08664 CEILINGCOVEREX 1
65 SL-6041092-TN SCREWM4L=10 2
66 400-52570 BASERUBBER 2
67
#01
400-00404 ADJUSTBOLT(EN) 4
68 401-47564 CELLING_COVER 1
69 SL-6061492-TN SCREWM6L=14 4
70 HX-0060700-00 TUBE 0.4
71
#02
E6600-729-000 ADJUSTFOOTN 4
72
#02
SM-6082502-TN BOLT 12
73
#02
400-13306 FLICTIONPLATE 12
74
#02
SM-1030801-SC SCREWM3L=8 36

- -
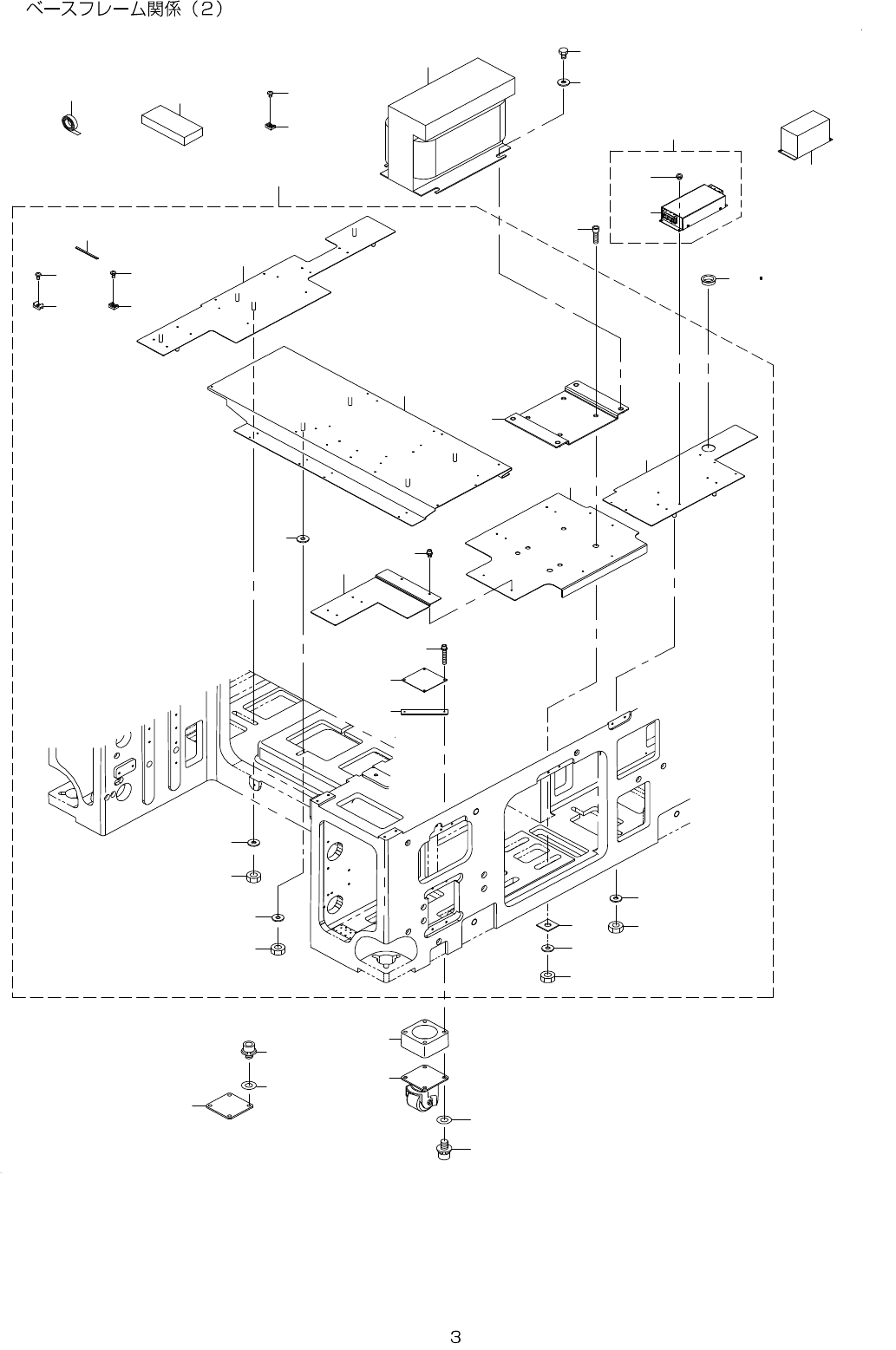
2. BASEFRAMECOMPONENTS(2)
1 6
2 2
3 6
2 7
1 9
6
1 0
3
1
1 3
1 2
1 7
1 6
4
1 4
1 1
9
9
7
5
2
2 3 3 8
8
3 2
3 0
3 3
3 0
2 9
3 1
2 8
2 6
2 5
2 4
1 7
1 6
1 7
1 6
2 0
2 1
1 7
3 4
3 5
1 5
1 6
1 8
3 7