00195941-03-UM SiplaceCA-EN - 第461页

User Manual SIPLACE CA 7 Station Enlargements Edition 08/2011 EN 7.2 Component Reject Bin Se nsor 461 7.1.6 Component Reject Bin for the SIPLACE T winHead A componen t reject bin may be installed f or the SIPLACE T winHe…

100%1 / 508
7 Station Enlargements User Manual SIPLACE CA
7.1 Nozzle Changer Edition 08/2011 EN
460
7
Align the nozzle changer so that the marking hole (item 1) is on the left, as viewed by the op-
erator.
7.1.5.3 Functional Description
The magazine for standard nozzles has 1 positioning fiducial for position detection, while the mag-
azine for special nozzles/grippers has two. The nozzles are fixed in the garage with balls. The noz-
zles are either clamped or released for removal, depending on the rotary position of the DP axis.
7
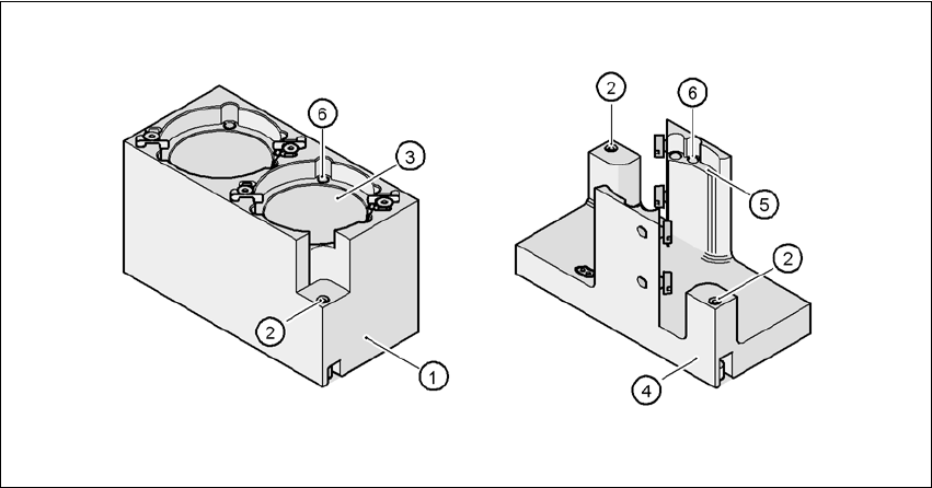
Fig. 7.1 - 29 Magazine for standard and special nozzles
(1) Standard magazine
(2) Position fiducial
(3) Nozzle garage
(4) Magazine for special nozzles and gripper
(5) Nozzle garage
(6) Nozzle fixing balls
User Manual SIPLACE CA 7 Station Enlargements
Edition 08/2011 EN 7.2 Component Reject Bin Sensor
461
7.1.6 Component Reject Bin for the SIPLACE TwinHead
A component reject bin may be installed for the SIPLACE TwinHead. It is positioned next to the
fine pitch Vision module.
7
Fig. 7.1 - 30 Component reject bin for the SIPLACE TwinHead
7.2 Component Reject Bin Sensor
[00116848-xx]Query component reject bin X series/D3
The sensor for the component reject bin monitors whether the reject bin is seated correctly in its
mount.
If the reject bin was not inserted correctly, the placement machine cannot be started.
If the reject bin jumps out of its mount during the placement process, the machine is stopped
immediately to avoid a head crash.
Each reject bin can be monitored by a separate sensor.
NOTE 7
We recommend to install the optional component sensor for the component reject bin at a loca-
tion without SWS when a 20 segment Collect&Place head is used.
7 Station Enlargements User Manual SIPLACE CA
7.3 SIPLACE High-Force Head Edition 08/2011 EN
462
7.3 SIPLACE High-Force Head
[00119734-xx]High force head for X series
This item number only applies when a new placement machines is ordered with a High-
Force Head rather than a standard TwinHead. 7
[00119753-xx] High force upgrade kit
Use this item number if you want to replace a standard TwinHead with a High-Force Head.7
7.3.1 General
The SIPLACE high-force head is an advanced development of the standard TwinHead. It can pro-
cess the same component range and also offers the possibility of achieving set-down forces up to
30 N.
All other technical data are the same for the TwinHead and the high-force head (see section
3.8.6.3
, page 207).
All the nozzles and grippers that are used with the standard TwinHead can be used for the SI-
PLACE High-Force Head.
Programmable set-down force 2.0 N to 10 N ± 10 %
greater than 10 N up to 30 N ± 15 %