P-0118-001 - 第166页
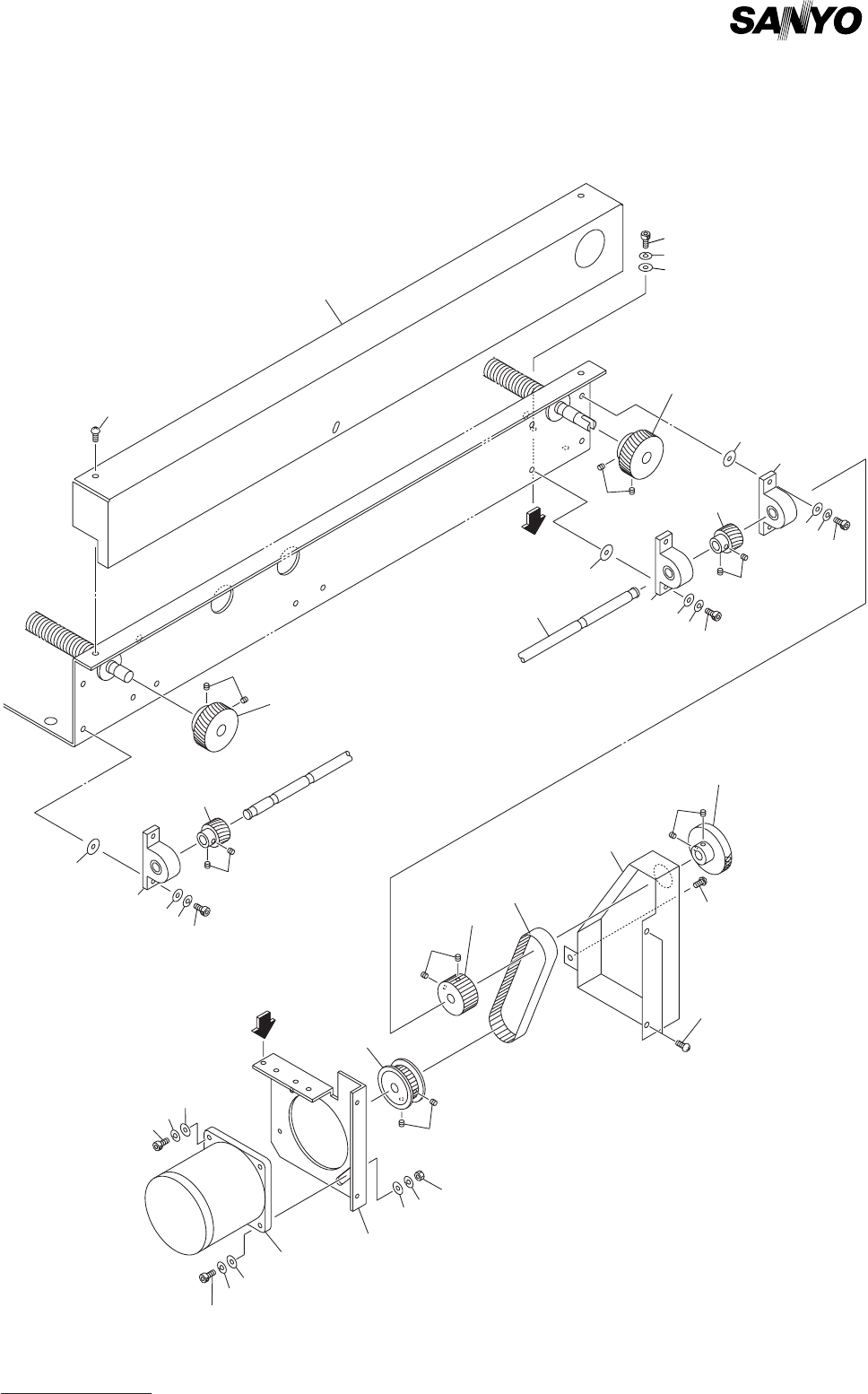
MODEL TCM-3100J 981 1-001 R コンベア部 R CONVEYOR SECTION Fig. 8-3 ドライブシャフト Driving Shaft 27 26 25 25 24 28 20 34 33 A A 17 16 35 36 39 38 37 37 30 29 27-1 26 2 1 7 8 9 6 6-1 5 4 5 4 2 1 7 8 9 6 6 6-1 6-1 7 8 9 3 14 13 23 22 …

MODEL TCM-3100J
9811-001
8- 2
Key No. PART No. PART NAME Q'ty REMARKS
1 630 053 0681 BRACKET(MOTOR) 1 659H--03B-010
1 -1 630 055 2911 BRACKET(MOTOR) 1 659H--03B-031
2 630 003 2574 GEAR,REDUCTION 2 659H--03H-016
3 630 049 0831 MOTOR,REVERSIBLE 2 659H--03H-015
4 411 141 4107 WASHER V 5X10X1 4 FW5
5 411 141 6705 WASHER SPR 5 4 SW5
6 630 000 7824 BOLT,HEX-SCT 4 M5X45
6 -1 411 087 1109 WASHER IN TW 5 2
7 630 009 2684 PULLEY,TIMING 4 659H--03H-017
8 630 000 8944 SET SCREW 8 M5X6 SET
9 630 053 2395 BELT,TIMING 1 659H--03H-018
9 -1 630 013 6296 BELT,TIMING 1 659H--03H-036
10 411 141 4107 WASHER V 5X10X1 2 FW5
11 411 141 6705 WASHER SPR 5 2 SW5
12 630 000 7749 BOLT,HEX-SCT 2 M5X10
13 630 001 0220 WASHER 2 659H--03H-027
14 411 141 6705 WASHER SPR 5 2 SW5
15 630 000 7756 BOLT,HEX-SCT 2 M5X12
16 630 055 2935 COVER(MOTOR) 1 659H--03B-032
17 411 051 1708 SCR TRS 4X6 1 M4X6 TRS
NOTE

MODEL TCM-3100J
9811-001
R コンベア部 R CONVEYOR SECTION
Fig. 8-3 ドライブシャフト Driving Shaft
27
26
25
25
24
28
20
34
33
A
A
17
16
35
36
39
38
37
37
30
29
27-1
26
2
1
7
8
9
6
6-1
5
4
5
4
2
1
7
8
9
6
6
6-1
6-1
7
8
9
3
14
13
23
22
21
TCM-3100J

MODEL TCM-3100J
9811-001
8- 3
Key No. PART No. PART NAME Q'ty REMARKS
1 630 028 9493 GEAR 2 659H--03H-006
2 630 000 8951 SET SCREW 4 M5X8 SET
3 630 058 8255 SHAFT 1 659H--03B-009
4 630 028 9480 GEAR 2 659H--03H-007
5 630 008 2296 SET SCREW 4 M4X4 SET
6 630 001 1890 BEARING,UNIT 3 659H--03H-005
6 -1 630 042 2115 WASHER 6 659H--03H-014
7 411 141 4107 WASHER V 5X10X1 6 FW5
8 411 141 6705 WASHER SPR 5 6 SW5
9 630 000 7770 BOLT,HEX-SCT 6 M5X35
13 630 061 4725 COVER 1 659H--03B-018
14 411 051 1708 SCR TRS 4X6 3 M4X6 TRS
16 630 056 3924 PULLEY,TIMING 1 659H--03H-043
17 630 000 8951 SET SCREW 2 M5X8 SET
20 630 056 2774 BRACKET(MOTOR R) 1 659H--03B-051
21 411 141 4107 WASHER V 5X10X1 2 FW5
22 411 141 6705 WASHER SPR 5 2 SW5
23 630 000 7749 BOLT,HEX-SCT 2 M5X10
24 630 009 5869 MOTOR,STEPPING 1 659H--03H-041
25 411 141 4107 WASHER V 5X10X1 2 FW5
26 411 141 6705 WASHER SPR 5 2 SW5
27 630 000 7763 BOLT,HEX-SCT 1 M5X16
27 -1 630 000 7787 BOLT,HEX-SCT 1 M5X25
28 630 001 0220 WASHER 1 659H--03H-027
29 411 141 6705 WASHER SPR 5 1 SW5
30 411 141 0505 NUT HEX 5 1 M5
33 630 056 3917 PULLEY,TIMING 1 659H--03H-042
34 630 000 8951 SET SCREW 2 M5X8 SET
35 630 048 9668 BELT,TIMING 1 659H--03H-044
36 630 056 2798 COVER(R) 1 659H--03B-052
37 411 051 1708 SCR TRS 4X6 3 M4X6 TRS
38 630 035 8384 BOSS(HANDLE) 1 659H--03B-055
39 411 051 1708 SCR TRS 4X6 2 M4X6 TRS
NOTE