RX-7_RX-7R-Rev09 - 第81页
A-65 A20-2 【 RX-7 R 】デュアル搬送部ユニット - 幅調整 1 【 RX-7 R 】 DualConveyorunit-1 イラスト番号 Ref.No. 品番 PartNumber Description 品名 個数 Q'ty 備考 Remarks 1 402-00904 PLA TE(1)_RAIL SUPPORT レールサポートプレート(1)…

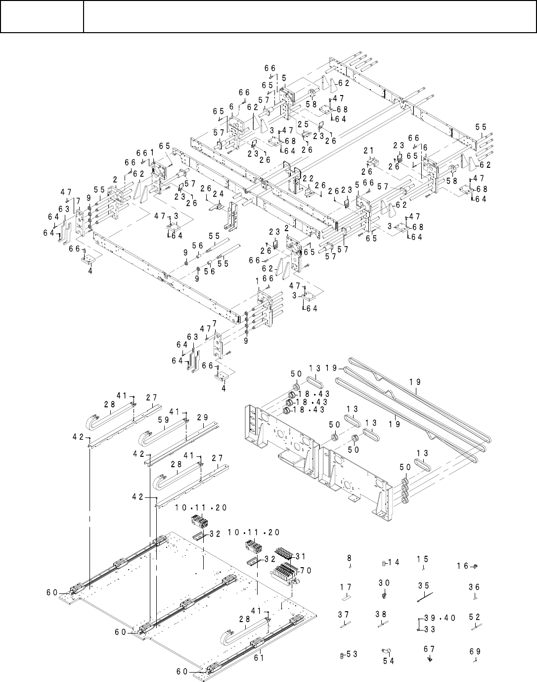
A-64
A20-2
【RX-7R】デュアル搬送部ユニット-幅調整 1
【RX-7R】DualConveyorunit-1

A-65
A20-2
【RX-7R】デュアル搬送部ユニット-幅調整 1
【RX-7R】DualConveyorunit-1
イラスト番号
Ref.No.
品番
PartNumber
Description
品名
個数
Q'ty
備考
Remarks
1 402-00904 PLATE(1)_RAILSUPPORT レールサポートプレート(1) 2
2 402-00905 PLATE(2)_RAILSUPPORT レールサポートプレート(2) 2
3 402-00907 BASE(1)_RAILSUPPORT レールサポートベース(1) 4
4 402-00908 BASE(2)_RAILSUPPORT レールサポートベース(2) 2
5 402-01173 PLATE(3)RAILSUPPORT レールサポートプレート(3) 2
6 402-01174 PLATE(4)RAILSUPPORT
レールサポートプレート(4)
2
7 402-01175 RAILSUPPORTHOLDER(2) レールサポートホルダー(2) 2
8 PH-0400105-S0 PARALLELPINTYPEB4X10 平行ピンB 種4X10 12
9 SB-1080002-00 BEARING ころがり軸受 10
10 EZ1-492-208-11 AMPLIFIERSENSOR(FX-501) センサアンプ(FX-501) 4
11 EZ1-492-213-11 AMPLIFIERSENSOR(FX-502) センサアンプ(FX-502) 2
12 EZ1-492-251-11 SENSORASSY センサASSY(バツクアツプピン4) 1
13 EZ2-177-403-01 BELTTIMING(234-3GT-9) タイミングベルト(234-3GT-9) 4
14 EZ4-426-151-01 SILENCER(AN10-01) サイレンサ(AN10-01) 2
15 EZ4-431-981-31 PIN(DIA.4)PARALLEL ヘイコウピンフアイ4シリ-ズ 4
16 EZ4-447-063-41 UNION(KQ2L08-01AS)ELBOW エルボユニオン(KQ2L08-01AS) 1
17 EZ4-452-347-01 LABEL(PLAIN)SERIALNO.(1446) シリアルNO.ラベル(ムジ)(1446) 1
18 EZ4-453-826-01 PULLEY(P1110-015)(E)TIMING タイミングプ-リ(P1110-015)E 3
19 EZ4-453-828-21 BELT(1947-3GT-9)TIMING タイミングベルト(1947-3GT-9) 3
20 EZ4-453-835-01 PLATE(MS-DIN-E)END エンドプレ-ト(MS-DIN-E) 2
21 402-01116 CABLEVEYORBRACKET(4R) ケーブルベアブラケット(4R) 1
22 402-01127 CABLEVEYORBRACKET(3) ケーブルベアーブラケット(3) 1
23 402-00993 BEAMSENSORBRACKET ビームセンサーブラケット 6
24 402-01126 CABLEVEYORBRACKET(2)
ケーブルベアーブラケット(2)
1
25 402-01117 CABLEVEYORBRACKET(4L) ケーブルベアブラケット(4L) 1
26 EZ7-683-403-04 BOLTHEXAGONSOCKET3X6 6 カクアナツキボルト3X6 20
27 EZ4-454-371-01 BRACKET(L)DUCT ダクトブラケツトL 2
28 EZ4-454-503-01 CABLEBARE ケ-ブルベア 3
29 EZ4-455-708-01 BRACKET(C)DUCT ダクトブラケツト(C) 1
30 EZ4-455-733-01 WYE(KJU02-00)UNION
ユニオンワイ(KJU02-00)
12
31 EZ4-457-146-31 CONTROLLER(AS1211F-M5-02A) スピ-ドコントロ-ラ-(AS1211F-M5-02A) 16
32 EZ4-488-445-01 RAILDIN(60) DINレ-ル(60) 2
33 EZ4-701-529-01 TIEMOUNT(MB1) タイマウント(MB1) 39
34 EZ4-702-261-02 BOLTHEXAGONSOCKET(M3X6) ロツカクアナツキサラボルト(M3X6) 39
35 EZ4-716-434-11 TIEINSULOCK(AB100BLACK) インシユロツクタイ(AB100クロ) 167
36 EZ4-722-956-01 LABEL(SILVER)BLANK
ブランクラベルギン(TTC82YS-10)
28
37 EZ7-630-003-47 TUBE(TU0425B-100-X3) ポリウレタンチユ-ブ(TU0425B-100-X3) 0.12
38 EZ7-630-003-55 TUBE(TU0212B-20)2MMX20MBLK チユ-ブ(TU0212B-20)2MMX20MBLK 17.31
39 EZ7-682-247-09 SCREW+K3X6 SCREW+K3X6 9
40 EZ7-682-249-09 SCREW+K3X10 ネジ+K3X10 30
41 EZ7-683-401-04 BOLTHEXAGONSOCKET3X4 6 カクアナツキボルト3X4 34
42 EZ7-683-403-04 BOLTHEXAGONSOCKET3X6 6 カクアナツキボルト3X6 65
43 EZ7-683-404-04 BOLTHEXAGONSOCKET3X8 6 カクアナツキボルト3X8 14
44 EZ7-683-405-04 BOLTHEXAGONSOCKET3X10 6 カクアナツキボルト3X10 2
45 EZ7-683-419-04 BOLTHEXAGONSOCKET4X8 6 カクアナツキボルト4X8 14
46 EZ7-683-420-04 BOLTHEXAGONSOCKET4X10 6 カクアナツキボルト4X10 40
47 EZ7-683-422-04 BOLTHEXAGONSOCKET4X14 6 カクアナツキボルト4X14 48
48 EZ7-683-423-04 BOLTHEXAGONSOCKET4X16 6 カクアナツキボルト 33
49 EZ7-683-427-04 BOLTHEXAGONSOCKET4X25 6 カクアナツキボルト4X25 4
50 401-52119 PULLEY(F)TIMING タイミングプーリ(F) 7

A-66
A20-2
【RX-7R】デュアル搬送部ユニット-幅調整 1
【RX-7R】DualConveyorunit-1
イラスト番号
Ref.No.
品番
PartNumber
Description
品名
個数
Q'ty
備考
Remarks
51 EZ7-683-435-04 BOLTHEXAGONSOCKET5X10 6 カクアナツキボルト5X10 68
52 BT-0200121-EB URETHANETUBEBLACK2X1.2 ポリウレタンチューブ黒2X1.2 12
53 401-61137 STRAIGHT(KQ2H02-00A) ストレート(KQ2H02-00A) 8
54 PJ-3040851-01 ELBOWUNION8XPT1/8 エルボユニオン8XPT1/8 1
55 401-90503 DRIVE_SHAFT クドウジク 4
56 401-94930 SPACECOLLAR_BEARING
ベアリングヨウスペーサー
2
57 401-90407 SCREW_SHAFT スクリューシャフト 6
58 402-01640 SEPARATECOLLAR(SCSS1215C) セパレートカラー(SCSS1215C) 2
59 402-08331 CABLEVEYOR_DUALC/VLANE2 デュアル C/VLANE2 ヨウケーブルベヤ 1
60 EZ4-454-502-01 GUIDE(MHS15C3R640S2ET213) ガイド(MHS15C3R640S2ET213) 3
61 402-09683 CONVEYORBASE(2) コンベアーベース(2) 1
62 402-08612 RAILSUPPORTRIB(1) レールサポートリブ(1) 12
63 402-08613 RAILSUPPORTRIB(2) レールサポートリブ(2) 4
64 SM-6031602-TN SCREWM3L=16 ロッカクアナボルトM3L=16 40
65 SM-6032002-TN SCREWM3X0.5L=20 ロッカクアナボルトM3X0.5L=20 24
66 SM-6051602-TN SCREW ロッカクアナボルト 56
67 PC-0122010-00 SPEEDCONTROLLER スピードコントローラ 8
68 402-12031 BASE(3)_RAILSUPPORT レールサポートベース(3) 2
69 402-03380 PLUG(KJP-02) プラグ(KJP-02) 4
70 EZ1-492-217-14 SOLENOIDVALVEASSY ソレノイドバルブASSY 1