Q124783B09 - 第143页
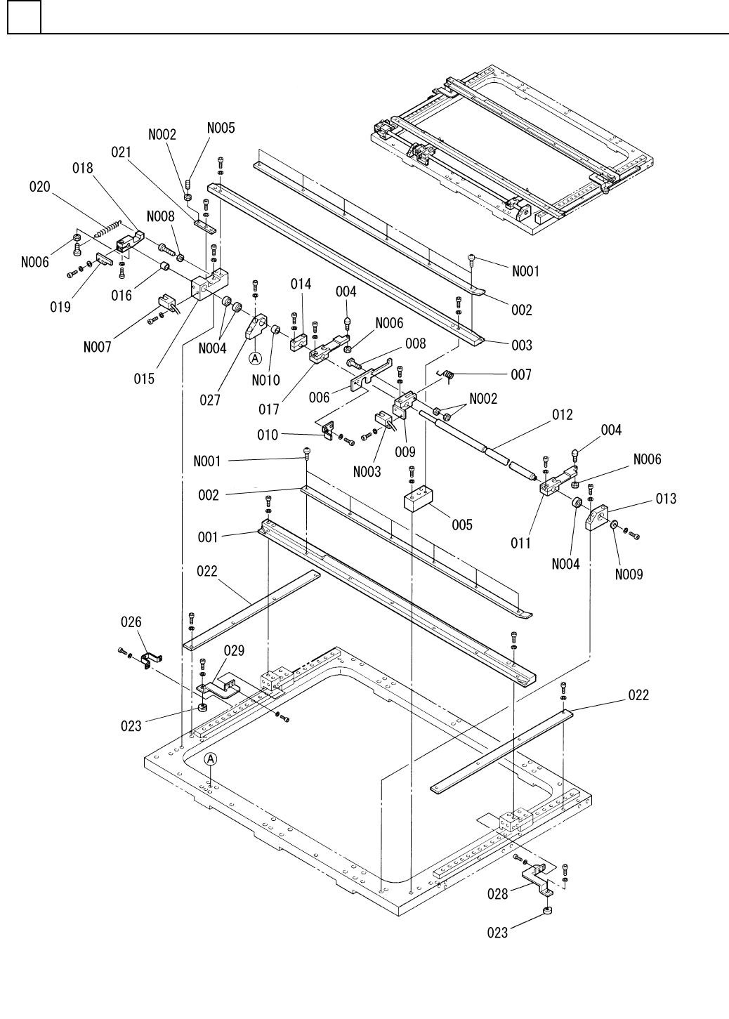
PART NAME REMARKS Q'TY 16 ポジショナ-部 POSITIONER SECT. イラスト No. REF No. PART No. 部 品 品 番 個数 備 考 R 1 R 2 1 1087114000 POSITIONER U NIT ポジショナユニット 1 001 1087114001 GUIDE ガイド 2 002 104541400201 GUIDE ガイド 1 003 10871…

ポジショナ-部
POSITIONER SECT.
16
F10871-14-000-AD_02
M125

PART NAME
REMARKS
Q'TY
16
ポジショナ-部
POSITIONER SECT.
イラスト
No.
REF
No.
PART No.
部 品 品 番 個数 備 考
R
1
R
2
1 1087114000
POSITIONER UNIT ポジショナユニット
1
001 1087114001
GUIDE ガイド
2
002 104541400201
GUIDE ガイド
1003 1087114003
GUIDE ガイド
2004 1087188201
PIN ピン
1
005 1087114005
BLOCK(R) ブロック(R)
1
006 1041314011
LEVER レバー
1007 102030401203
SPRING バネ
1008 102030401301
PIN ピン
1
009 108711400901
BLOCK ブロック
1010 108711401001
DOG FOR SENSOR ドグ
D=5.0
1011 102030401601
LEVER レバー
1
012 108711401202
SHAFT シャフト
1
013 108711401302
BLOCK ブロック
C=5.0
1014 102030402604
BLOCK ブロック
1015 108711401502
BLOCK(L) ブロック(L)
1
016 108711401601
COLLAR カラー
D=5.0
1
017 102030403402
LEVER レバー
1018 108711401803
LEVER レバー
1019 108711401902
DOG FOR SENSOR ドグ
1
020 1087114020
SPRING バネ
1
021 108711402102
PLATE プレート
2022 108711402201
PLATE プレート
2023 X02G21209
PLATE プレート
1
026 108711402602
BRACKET ブラケット
1027 1087114027
BLOCK ブロック
1028 N210027184AA
BRACKET(R) ブラケット(R)
1
029 N210027636AA
BRACKET(L) ブラケット(L)
M3X5-4.8 A2J (Trivalen
12
N001
N510018251AA
TRUSS HEAD SCREW トラスコネジ
M4-6H-4T A2J (Trivalen
3
N002
N510017859AA
HEXAGON NUT ロッカクナット
P914SA1
1
N003
N310P914SA1
SENSOR センサ
6800ZZ
3
N004
KXF00M6AA00
BALL BEARING ボールベアリング
M4X10-45H A2J (Trivale
1
N005
N510018427AA
HEX. SOCKET SET SCREW ロッカクアナンツキトメネジ
M3-6H-4T A2J (Trivalen
3
N006
N510017852AA
HEXAGON NUT ロッカクナット
P914S1
1
N007
N310P914S1
SENSOR センサ
M5-6H-4T A2J (Trivalen
1
N008
N510017865AA
HEXAGON NUT ロッカクナット
WSSB12-5-2
1
N009
N560WSSB1252
WASHER ザガネ
K5B1512
1
N010
N510022574AA
BUSHING ブッシュ
M126
F10871-14-000-AD_02

プリント基板ストッパ部
P.C.B. STOPPER SECT.
17
F10871-05-000_A
M127