Q124783B09 - 第105页
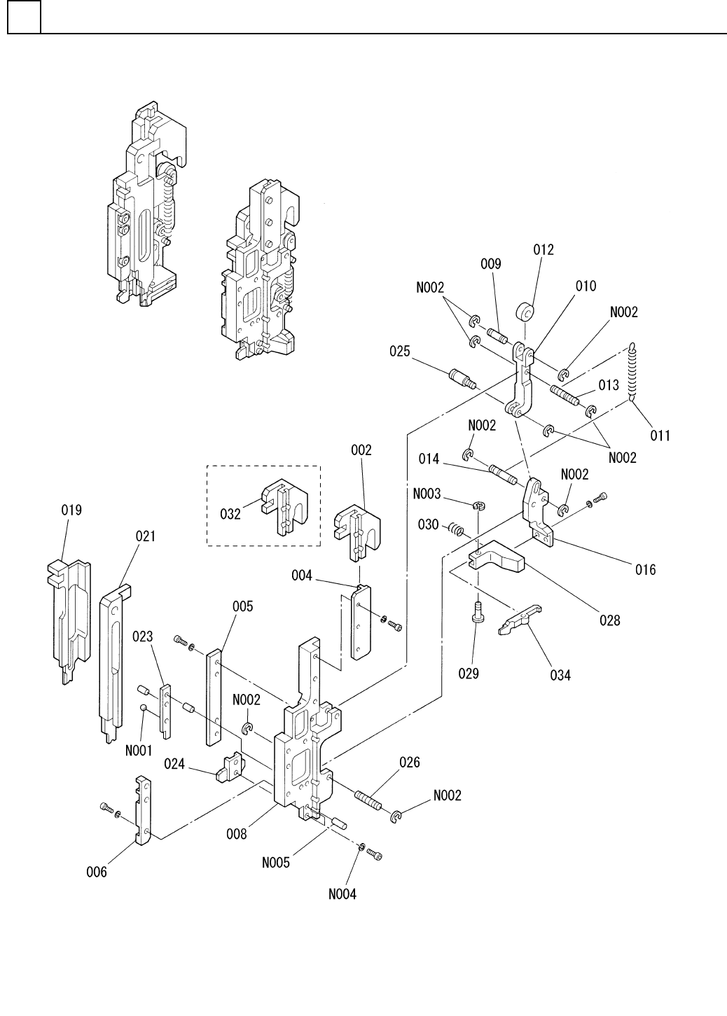
PART NAME REMARKS Q'TY 6 挿入ユニット部(1) INSERTION U NIT SECT.(1) イラスト No. REF No. PART No. 部 品 品 番 個数 備 考 R 1 R 2 1 1087110000 INSERTION UN IT ソウニュウユニット 1 001 102031200508 CAM(SLIDE) カム(スライド) 1 003 102031203702 GUIDE カ…

挿入ユニット部(1)
INSERTION UNIT SECT.(1)
6
F10871-10-000-AB_01-1
M87

PART NAME
REMARKS
Q'TY
6
挿入ユニット部(1)
INSERTION UNIT SECT.(1)
イラスト
No.
REF
No.
PART No.
部 品 品 番 個数 備 考
R
1
R
2
1 1087110000
INSERTION UNIT ソウニュウユニット
1
001 102031200508
CAM(SLIDE) カム(スライド)
1
003 102031203702
GUIDE ガイド
1005 102031201302
PLATE(GUIDE) プレート(ガイド)
1007 1087110007
BASE(GUIDE) ベース(ガイド)
1
009 1020312007
PIN ピン
1
011 1087110011
SPRING バネ
1012 1020312022
ROLLER ローラ
1013 1083510012
PIN ピン
1
014 1020312024
PIN ピン
1015 108351000401
BLOCK(L) ブロック(L)
1017 1083510010
LEVER レバー
1
018 108711001801
PUSHER プッシャ
1
020 1087110020
GUIDE ガイド
1022 104131002202
CUTTER(LEFT) カッター(LEFT)
1024 108711002401
CUTTER(FIXED) カッター(コテイ)
1
025 1083510014
PIN ピン
1
026 1083510015
PIN ピン
1027 1041310028
BRACKET ブラケット
1029 1020719803
PIN ピン
1
030 1045418014
SPRING バネ
1
031 1020312050
CAM(SLIDE) カム(スライド)
1033 N210028285AA
BENDING DIE ベンディングダイ
1035 104131003701
PLATE(GUIDE) プレート(ガイド)
D3
1
N001
N506D3
STEEL BALL コウキュウ
3,STEEL,P.C
9
N002
XUC3FP
RETAINING RING E-TYPE E ガタトメワ
1.5,STEEL,P.C
1
N003
XUC15FP
RETAINING RING E-TYPE E ガタトメワ
M3
2
N004
N986YYYY-186
WASHER ザガネ
2X5,m6A,STEEL
1
N005
XPJ2A5FW
PARALLEL PIN ヘイコウピン
M88
F10871-10-000-AB_01-1

挿入ユニット部(2)
INSERTION UNIT SECT.(2)
6
F10871-10-000-AB_01-2
M89